GM Service Manual Online
For 1990-2009 cars only

Object Number: 1702653  Size: MF

Callout

Component Name

Preliminary Procedures

  1. Remove the front seats. Refer to Driver or Passenger Seat Replacement .
  2. Remove the front seat cushion. Refer to Driver or Passenger Seat Cushion Ventilation Heating and Cooling Blower Replacement
  3. Remove front seat head and head retainer. Refer to Front Seat Head Restraint Replacement .
  4. Remove the front seat side air bag. Refer to Driver or Passenger Seat Side Inflatable Restraint Module Replacement .

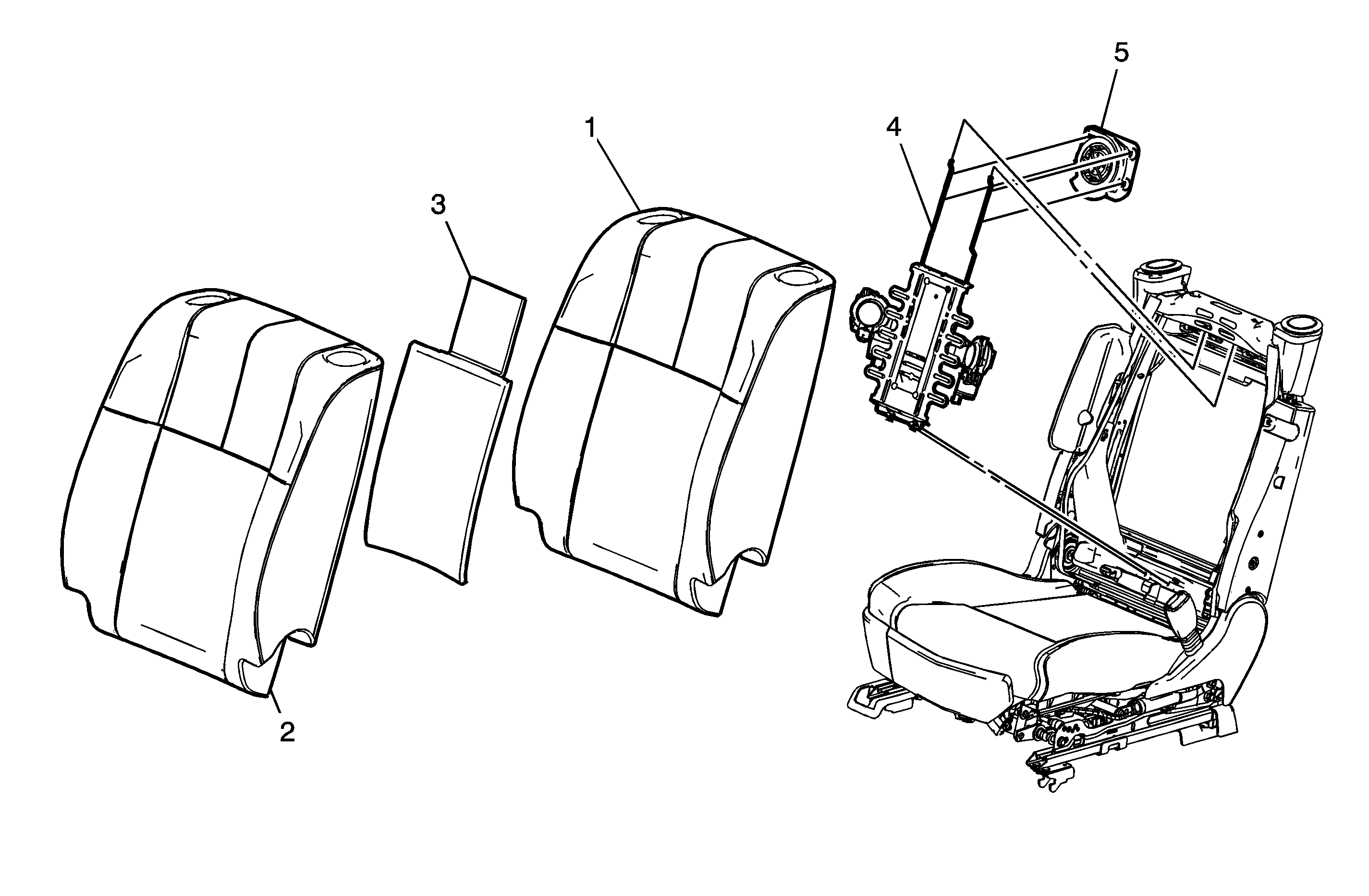
1

Front Seat Back Cover

Procedure:

  1. Pry off two audio trim covers on the seat back.
  2. Disconnect the buckle between blower and front seat back heater from blower.
  3. Loose the J-channel retainer and buckles which retain the seat back cover on the seat back frame.
  4. Remove the seat back cover.

2

Front Seat Back Heater

Tip
Disconnect the electrical connector and remove the seat back heater.

3

Front Seat Back Cushion

Tip
Remove the seat back cushion.

4

Front Seat Back Blower

Tip
Disconnect the electrical connector, loose the blower buckle from the front seat lumbar assembly and remove the blower.