GM Service Manual Online
For 1990-2009 cars only

Object Number: 2031123  Size: MF

Callout

Component Name

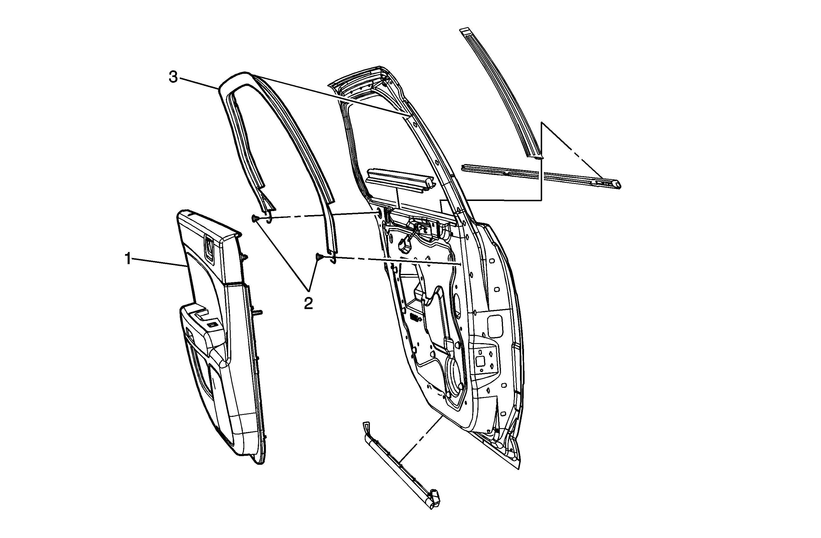
Rear Side Door Window Inner Weatherstrip Replacement

1

Rear Side Door Trim Panel

Refer to Rear Side Door Trim Panel Replacement.

2

Rear Side Door Window Inner Weatherstrip Retainer (Qty: 2)

3

Rear Side Door Window Inner Frame Applique Weatherstrip