GM Service Manual Online
For 1990-2009 cars only
Figure 1:

Pedal Switches and Sensors


Object Number: 1488592  Size: LF
(1)Park Brake Switch
(2)Brake Pedal Position Sensor
(3)Accelerator Pedal Position (APP) Sensor
(4)Left Front Floor Panel
Figure 2:

Right Front of Vehicle Near the Right Front Wheel


Object Number: 1276483  Size: LF
(1)EBCM Connector Lock
(2)Electronic Brake Control Module (EBCM)
(3)EBCM Connector Position Assurance Retainer
(4)EBCM Connector
(5)Brake Pressure Modulator Valve (BPMV)
(6)Brake Fluid Pressure Sensor
(7)Brake Fluid Pressure Sensor Connector
Figure 3:

Steering Wheel Position Sensor


Object Number: 1381386  Size: MF
(1)Steering Angle Sensor
(2)Steering Column
Figure 4:

Traction Control Switch


Object Number: 1384714  Size: MF
(1)Traction Control Switch
(2)Console
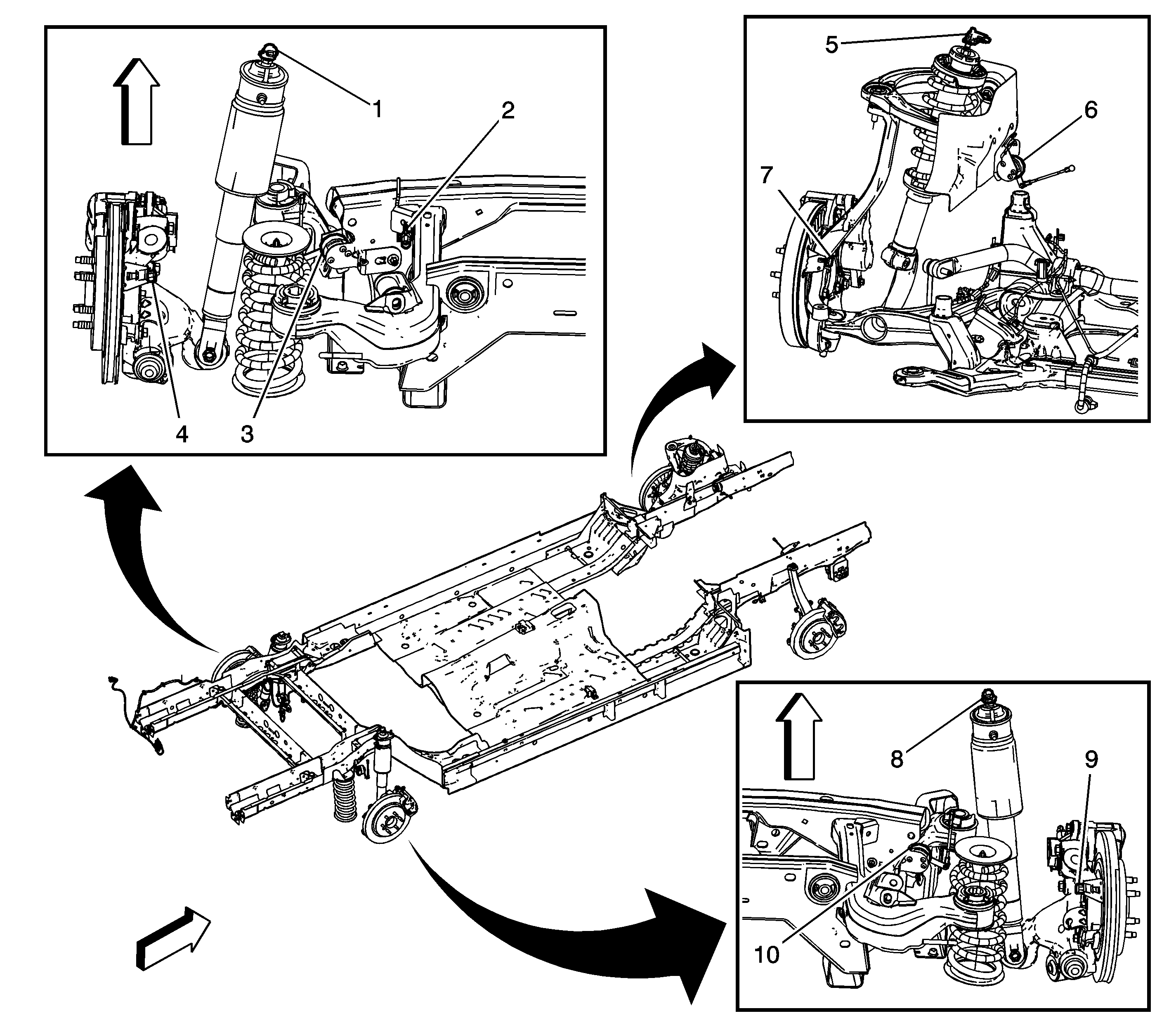
Figure 5:

Wheel Speed Sensors


Object Number: 1384464  Size: LF
(1)Suspension Damper - LR (F55)
(2)Suspension Position Sensor Extension Harness Connector - LR (F55)
(3)Suspension Position Sensor - LR (F55)
(4)Wheel Speed Sensor (WSS) - LR
(5)Suspension Damper - LF (F55)
(6)Suspension Position Sensor - LF (F55)
(7)Wheel Speed Sensor (WSS) - LF (RF Similar)
(8)Suspension Damper - RR (F55)
(9)Wheel Speed Sensor (WSS) - RR
(10)Suspension Position Sensor - RR (F55)
Figure 6:

Left Front of Vehicle Near the Wheel


Object Number: 1276484  Size: LF
(1)Wheel Speed Sensor - Left Front (Right Front Side Similar)
Figure 7:

Yaw and Lateral/Longitudinal Acceleration Sensor


Object Number: 1380390  Size: LF
(1)Yaw and Lateral/Longitudinal Acceleration Sensor
(2)Body Harness