GM Service Manual Online
For 1990-2009 cars only
Connector 1: C101 Engine Harness to Body Harness
Connector 2: C102 Engine Harness to I/P Harness
Connector 3: C103 I/P Harness to Battery Negative Cable
Connector 4: C104 Engine Harness to Engine POA Harness (LH2)
Connector 5: C105 Engine Harness to Body Harness (F55)
Connector 6: C107 Engine Harness to Starter Harness (LH2) (1 Cavity)
Connector 7: C108 Engine Harness to Engine POA Harness (LY7)
Connector 8: C109 Forward Lamp Harness to Right Turn Signal/Fog Lamp Harness
Connector 9: C110 Forward Lamp Harness to Left Turn Signal/Fog Lamp Harness
Connector 10: C111 Forward Lamp Harness to Headlamp Assembly - Left (w/HID and Leveling)
Connector 11: C111 Forward Lamp Harness to Headlamp Assembly - Left (w/HID)
Connector 12: C111 Forward Lamp Harness to Headlamp Assembly - Left (w/o HID)
Connector 13: C112 Forward Lamp Harness to Headlamp Assembly - Right (w/HID and Leveling)
Connector 14: C112 Forward Lamp Harness to Headlamp Assembly - Right (w/HID)
Connector 15: C112 Forward Lamp Harness to Headlamp Assembly - Right (w/o HID)
Connector 16: C113 Engine Harness to Forward Lamp Harness (LH2)
Connector 17: C114 Forward Lamp Harness to Right Repeater Lamp Harness (w/T90)
Connector 18: C115 Forward Lamp Harness to Left Repeater Lamp Harness (w/T90)
Connector 19: C116 Forward Lamp Harness to I/P Harness (Domestic)
Connector 20: C116 Forward Lamp Harness to I/P Harness (Export)
Connector 21: C117 I/P Harness to Body Harness
Connector 22: C118 I/P Harness to Body Harness
Connector 23: C120 Engine Harness to Variable Effort Steering (VES) Jumper Harness (RHD)
Connector 24: C139 Engine Harness to Left Coil/Module Harness (LH2)
Connector 25: C140 Engine Harness to Right Coil/Module Harness (LH2)
Connector 26: C200 Body Harness to I/P Harness (Domestic)
Connector 27: C200 Body Harness to I/P Harness (Export)
Connector 28: C201 Body Harness to I/P Harness (Domestic)
Connector 29: C201 Body Harness to I/P Harness (Export)
Connector 30: C201 Body Harness to I/P Harness (RHD)
Connector 31: C202 I/P Harness to Steering Column Harness (Domestic)
Connector 32: C202 I/P Harness to Steering Column Harness (Export)
Connector 33: C203 Body Harness to I/P Harness (Domestic)
Connector 34: C203 Body Harness to I/P Harness (Export)
Connector 35: C203 Body Harness to I/P Harness (RHD)
Connector 36: C204 I/P Harness to Sun Load Sensor Harness
Connector 37: C205 Body Harness to I/P Harness (Domestic)
Connector 38: C205 Body Harness to I/P Harness (Export)
Connector 39: C206 Body Harness to I/P Harness (Domestic)
Connector 40: C206 Body Harness to I/P Harness (Export)
Connector 41: C206 Body Harness to I/P Harness (RHD)
Connector 42: C207 Body to I/P Harness (Domestic)
Connector 43: C207 Body to I/P Harness (Export)
Connector 44: C207 Body to I/P Harness (RHD)
Connector 45: C208 Steering Column Harness to Steering Wheel Controls Harness
Connector 46: C209 Body Harness to Inflatable Restraint Steering Wheel Module Coil
Connector 47: C210 Body Harness to Cigar Lighter Harness
Connector 48: C215 Body Harness to Inflatable Restraint I/P Module Jumper Harness
Connector 49: C300 Body Harness to Driver Seat Harness
Connector 50: C301 Driver Seat Harness to Body Harness
Connector 51: C302 I/P Harness to Shifter Control Harness
Connector 52: C304 Console Harness to I/P Harness
Connector 53: C306 Front Passenger Seat Harness to Body Harness
Connector 54: C307 Body Harness to Front Passenger Seat Harness
Connector 55: C308 Headliner Harness to Body Harness
Connector 56: C310 Sunroof Harness to Body Harness (C3B/CF5) (Domestic)
Connector 57: C310 Sunroof Harness to Body Harness (C3B/CF5) (Export)
Connector 58: C311 Body Harness to Rear Seat Harness (AM0)
Connector 59: C312 Console Harness to Body Harness
Connector 60: C313 Console Harness to I/P Harness
Connector 61: C314 Headliner Harness to Body Harness
Connector 62: C315 Headliner Harness to Sunroof Harness (C3B/CF5)
Connector 63: C316 Body Harness to Rear Quarter Trim Harness
Connector 64: C317 Headliner Harness to Courtesy/Reading Lamp Module Harness
Connector 65: C321 I/P Harness to HVAC Actuator Harness
Connector 66: C326 Passenger Seat Lumbar Jumper Harness to Passenger Seat Harness (AL2)
Connector 67: C401 Liftgate Harness to Body Harness
Connector 68: C402 Body Harness to RPA Harness (Domestic)
Connector 69: C402 Body Harness to RPA Harness (Export)
Connector 70: C403 Liftgate Harness to Body Harness
Connector 71: C404 Liftgate Harness to Body Harness
Connector 72: C420 Body Harness to Fuel Tank Harness
Connector 73: C500 Body Harness to Left Front Door Harness (LHD)
Connector 74: C500 Body Harness to Left Front Door Harness (RHD)
Connector 75: C501 Left Front Door Harness to Left Front Door Trim Harness (LHD)
Connector 76: C501 Left Front Door Harness to Left Front Door Trim Harness (RHD)
Connector 77: C502 Left Front Door Harness to Left Front Door Trim Harness (LHD)
Connector 78: C502 Left Front Door Harness to Left Front Door Trim Harness (RHD)
Connector 79: C600 Body Harness to Right Front Door Harness (LHD)
Connector 80: C600 Body Harness to Right Front Door Harness (RHD)
Connector 81: C601 Right Front Door Harness to Right Front Door Trim Harness (LHD)
Connector 82: C601 Right Front Door Harness to Right Front Door Trim Harness (RHD)
Connector 83: C602 Right Front Door Harness to Right Front Door Trim Harness (LHD)
Connector 84: C602 Right Front Door Harness to Right Front Door Trim Harness (RHD)
Connector 85: C700 Body Harness to Left Rear Door Harness (LHD)
Connector 86: C700 Body Harness to Left Rear Door Harness (RHD)
Connector 87: C701 Left Rear Door Harness to Left Rear Door Trim Harness
Connector 88: C800 Body Harness to Right Rear Door Harness (LHD)
Connector 89: C800 Body Harness to Right Rear Door Harness (RHD)
Connector 90: C801 Right Rear Door Harness to Right Rear Door Trim Harness
Connector 91: C901 Liftgate Harness to License/Backup/Rear Fog Lamp Harness (T79)
Connector 92: C901 Liftgate Harness to License/Backup Lamp Harness (w/o T79)

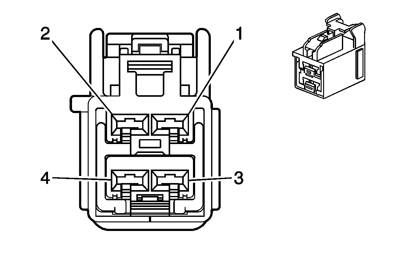
C101 Engine Harness to Body Harness


Object Number: 646383  Size: CH

Object Number: 632345  Size: CH

Connector Part Information

  • OEM: 15326863
  • Service: 15306381
  • Description: 16-Way F GT 150 Series Sealed 4.0 (BK)

Connector Part Information

  • OEM: 15326868
  • Service: 15306364
  • Description: 16-Way M 150 Series Sealed (BK)

Terminal Part Information

  • Pins: A-H, J-N, P, R-S
  • Terminal/Tray: 12191819/8
  • Core/Insulation Crimp: Pins: J: 2/A
  • Core/Insulation Crimp: Pins: A-H, J-N, P, R-S: E/A
  • Release Tool/Test Probe: 15315247/J-35616-2A (GY)

Terminal Part Information

  • Pins: A-D, G-H, J-N, P, R
  • Terminal/Tray: 15326269/19
  • Core/Insulation Crimp: Pins: G-H, J-K, M-N: E/1
  • Core/Insulation Crimp: Pins: A-D, L, P, R: E/4
  • Release Tool/Test Probe: 15315247/J-35616-3 (GY)
  • Pins: E-F, S
  • Terminal/Tray: See Terminal Repair Kit
  • Core/Insulation Crimp: See Terminal Repair Kit
  • Release Tool/Test Probe: See Terminal Repair Kit

C101 Engine Harness to Body Harness

Pin

Wire Color

Circuit No.

Function

Pin

Wire Color

Circuit No.

Function

A

TN

884

Left Rear Wheel Speed Sensor Signal

A

TN

884

Left Rear Wheel Speed Sensor Signal

B

OG

885

Left Rear Wheel Speed Sensor Low Reference

B

OG

885

Left Rear Wheel Speed Sensor Low Reference

C

BN

882

Right Rear Wheel Speed Sensor Signal

C

BN

882

Right Rear Wheel Speed Sensor Signal

D

WH

883

Right Rear Wheel Speed Sensor Low Reference

D

WH

883

Right Rear Wheel Speed Sensor Low Reference

E

L-GN/BK

1338

Yaw Rate Sensor Signal Low Reference

E

L-GN/BK

1338

Yaw Rate Sensor Signal Low Reference

F

GY/BK

1337

5-Volt Reference

F

GY/BK

1337

5-Volt Reference

G

TN

2759

Low Reference

G

TN

2759

Low Reference

H

D-GN

890

Fuel Tank Pressure Sensor Signal

H

D-GN

890

Fuel Tank Pressure Sensor Signal

J

GY

2709

5-Volt Reference

J

GY

2709

5-Volt Reference

K

WH

1310

EVAP Canister Vent Solenoid Control

K

WH

1310

EVAP Canister Vent Solenoid Control

L

L-BU

715

Lateral Accelerometer Signal

L

L-BU

715

Lateral Accelerometer Signal

M

L-BU

1937

Fuel Level Sensor Signal (Secondary)

M

L-BU

1937

Fuel Level Sensor Signal (Secondary)

N

D-BU

1936

Fuel Level Sensor Signal (Primary)

N

D-BU

1936

Fuel Level Sensor Signal (Primary)

P

D-BU

5370

Long Accelerometer Signal (MX7)

P

D-BU

5370

Long Accelerometer Signal (MX7)

R

D-BU

716

Yaw Rate Sensor Signal

R

D-BU

716

Yaw Rate Sensor Signal

S

L-BU

5986

Serial Data Communication Enable

S

L-BU

5986

Serial Data Communication Enable

C102 Engine Harness to I/P Harness


Object Number: 888600  Size: CH

Object Number: 823284  Size: CH

Connector Part Information

  • OEM: 7283-5545-10
  • Service: See Catalog
  • Description: 12-Way F YESC/USCAR Class III Series (D-GY)

Connector Part Information

  • OEM: 7282-5545-10
  • Service: See Catalog
  • Description: 12-Way M 1.5 Series Weather Pack (GY)

Terminal Part Information

  • Pins: 1, 3-12
  • Terminal/Tray: 7116-4102-08/9
  • Core/Insulation Crimp: E/1
  • Release Tool/Test Probe: 12094430/J-35616-2A (GY)
  • Pins: 2
  • Terminal/Tray: 7114-4102-08/9
  • Core/Insulation Crimp: E/1
  • Release Tool/Test Probe: 12094430/J-35616-3 (GY)

Terminal Part Information

  • Terminal/Tray: 7114-4102-08/9
  • Core/Insulation Crimp: E/1
  • Release Tool/Test Probe: 12094430/J-35616-3 (GY)

C102 Engine Harness to I/P Harness

Pin

Wire Color

Circuit No.

Function

Pin

Wire Color

Circuit No.

Function

1

BN/WH

419

MIL Control

1

BN/WH

419

MIL Control

2

D-GN/WH

817

Vehicle Speed Signal (U2V/U2X/U2Y)

2

D-GN/WH

817

Vehicle Speed Signal (U2V/U2X/U2Y)

3

D-BU

1161

APP Sensor 1 Signal

3

D-BU

1161

APP Sensor 1 Signal

4

L-BU

1162

APP Sensor 2 Signal

4

L-BU

1162

APP Sensor 2 Signal

5

WH/BK

1164

5-Volt Reference

5

WH/BK

1164

5-Volt Reference

6

BN

1271

Low Reference

6

BN

1271

Low Reference

7

PU

1272

Low Reference

7

PU

1272

Low Reference

8

TN

1274

5-Volt Reference

8

TN

1274

5-Volt Reference

9

L-GN

1763

Steering Wheel Position Signal A

9

L-GN

1763

Steering Wheel Position Signal A

10

L-BU

1764

Steering Wheel Position Signal B

10

L-BU

1764

Steering Wheel Position Signal B

11

TN/BK

2500

High Speed GMLAN Serial Data Bus+

11

TN/BK

2500

High Speed GMLAN Serial Data Bus+

12

TN

2501

High Speed GMLAN Serial Data Bus-

12

TN

2501

High Speed GMLAN Serial Data Bus-

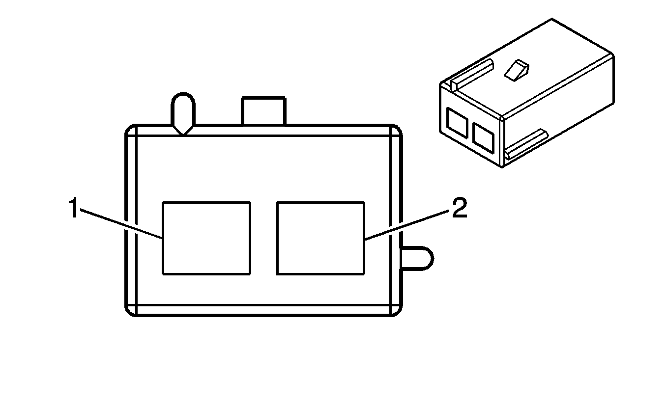
C103 I/P Harness to Battery Negative Cable


Object Number: 888601  Size: CH

Object Number: 897985  Size: CH

Connector Part Information

  • OEM: 7283-5548-30
  • Service: 88953306
  • Description: 2-Way F YESC Weather Pack (BK)

Connector Part Information

  • OEM: 7282-5548-30
  • Service: 88953303
  • Description: 2-Way M YESC Weather Pack (BK)

Terminal Part Information

  • Terminal/Tray: 7116-4102-08/9
  • Core/Insulation Crimp: E/1
  • Release Tool/Test Probe: 12094430/J-35616-2A (GY)

Terminal Part Information

  • Terminal/Tray: 7114-4103-08/9
  • Core/Insulation Crimp: E/1
  • Release Tool/Test Probe: 12094430/J-35616-3 (GY)

C103 I/P Harness to Battery Negative Cable

Pin

Wire Color

Circuit No.

Function

Pin

Wire Color

Circuit No.

Function

1

BK/WH

51

Ground

1

BK/WH

51

Ground

2

--

--

Not Used

2

--

--

Not Used

C104 Engine Harness to Engine POA Harness (LH2)


Object Number: 646383  Size: CH

Object Number: 632345  Size: CH

Connector Part Information

  • OEM: 15326863
  • Service: 15306381
  • Description: 16-Way F GT 150 Series Sealed 4.0 (BK)

Connector Part Information

  • OEM: 15326868
  • Service: 15306364
  • Description: 16-Way M GT 150 Series Sealed (BK)

Terminal Part Information

  • Terminal/Tray: 12191819/8
  • Core/Insulation Crimp: E/A
  • Release Tool/Test Probe: 15315247/J-35616-2A (GY)

Terminal Part Information

  • Terminal/Tray: See Terminal Repair Kit
  • Core/Insulation Crimp: See Terminal Repair Kit
  • Release Tool/Test Probe: See Terminal Repair Kit

C104 Engine Harness to Engine POA Harness (LH2)

Pin

Wire Color

Circuit No.

Function

Pin

Wire Color

Circuit No.

Function

A

GY/BK

6272

Crankshaft 60X Sensor Low Reference

A

GY/BK

6272

Crankshaft 60X Sensor Low Reference

B

WH/BK

6271

Crankshaft 60X Sensor Signal

B

WH/BK

6271

Crankshaft 60X Sensor Signal

C

PU/WH

6270

Crankshaft 60X Sensor Voltage

C

PU/WH

6270

Crankshaft 60X Sensor Voltage

D

D-BU/WH

6756

Cam Phaser Z Return Low Reference

D

D-BU/WH

6756

Cam Phaser Z Return Low Reference

E

WH/BK

6396

Cam Phaser #3 Control

E

WH/BK

6396

Cam Phaser #3 Control

F

PK/BK

6395

Cam Phaser #2 Control

F

PK/BK

6395

Cam Phaser #2 Control

G

D-BU

496

Knock Sensor 1 Signal

G

D-BU

496

Knock Sensor 1 Signal

H

GY

1716

Knock Sensor 1 Signal

H

GY

1716

Knock Sensor 1 Signal

J

L-BU

1876

Knock Sensor 2 Signal

J

L-BU

1876

Knock Sensor 2 Signal

K

GY

2303

Knock Sensor 2 Signal

K

GY

2303

Knock Sensor 2 Signal

L

TN/BK

6397

Cam Phaser #4 Control

L

TN/BK

6397

Cam Phaser #4 Control

M

GY/BK

6394

Cam Phaser Control

M

GY/BK

6394

Cam Phaser Control

N

D-BU

6755

Cam Phaser Y Return Low Reference

N

D-BU

6755

Cam Phaser Y Return Low Reference

P

BN

6753

Cam Phaser W Return Low Reference

P

BN

6753

Cam Phaser W Return Low Reference

R

BN/WH

6754

Cam Phaser X Return Low Reference

R

BN/WH

6754

Cam Phaser X Return Low Reference

S

--

--

Not Used

S

--

--

Not Used

C105 Engine Harness to Body Harness (F55)


Object Number: 1420541  Size: CH

Object Number: 1420650  Size: CH

Connector Part Information

  • OEM: 7283-5684-10
  • Service: See Catalog
  • Description: 8-Way F YESC/USCAR Class III Series Sealed (D-GY)

Connector Part Information

  • OEM: 7282-5684-10
  • Service: See Catalog
  • Description: 8-Way M YESC/USCAR Class III Series Sealed (D-GY)

Terminal Part Information

  • Pins: 1-3, 5-7
  • Terminal/Tray: 7116-4102-08/9
  • Core/Insulation Crimp: E/1
  • Release Tool/Test Probe: 12094430/J-35616-2A (GY)
  • Pins: 4, 8
  • Terminal/Tray: 7116-4103-08/9
  • Core/Insulation Crimp: E/1
  • Release Tool/Test Probe: 12094430/J-35616-2A (GY)

Terminal Part Information

  • Pins: 1-3, 5-7
  • Terminal/Tray: 7114-4102-08/9
  • Core/Insulation Crimp: E/1
  • Release Tool/Test Probe: 12094430/J-35616-3 (GY)
  • Pins: 4, 8
  • Terminal/Tray: 7114-4103-08/9
  • Core/Insulation Crimp: E/1
  • Release Tool/Test Probe: 12094430/J-35616-3 (GY)

C105 Engine Harness to Body Harness (F55)

Pin

Wire Color

Circuit No.

Function

Pin

Wire Color

Circuit No.

Function

1

L-BU/BK

1206

Left Front Suspension Position Sensor Low Reference

1

L-BU/BK

1206

Left Front Suspension Position Sensor Low Reference

2

PU/WH

1205

Left Front Suspension Position Sensor Voltage Reference

2

PU/WH

1205

Left Front Suspension Position Sensor Voltage Reference

3

TN/WH

1207

Left Front Suspension Position Sensor Signal

3

TN/WH

1207

Left Front Suspension Position Sensor Signal

4

OG/BK

1448

Left Front Damper Control

4

OG/BK

1448

Left Front Damper Control

5

L-BU/BK

1212

Right Front Suspension Position Sensor Low Reference

5

L-BU/BK

1212

Right Front Suspension Position Sensor Low Reference

6

PU/WH

1211

Right Front Suspension Position Sensor Voltage Reference

6

PU/WH

1211

Right Front Suspension Position Sensor Voltage Reference

7

TN/WH

1213

Right Front Suspension Position Sensor Signal

7

TN/WH

1213

Right Front Suspension Position Sensor Signal

8

L-GN

1005

Left Front Damper Low Reference

8

L-GN

1005

Left Front Damper Low Reference

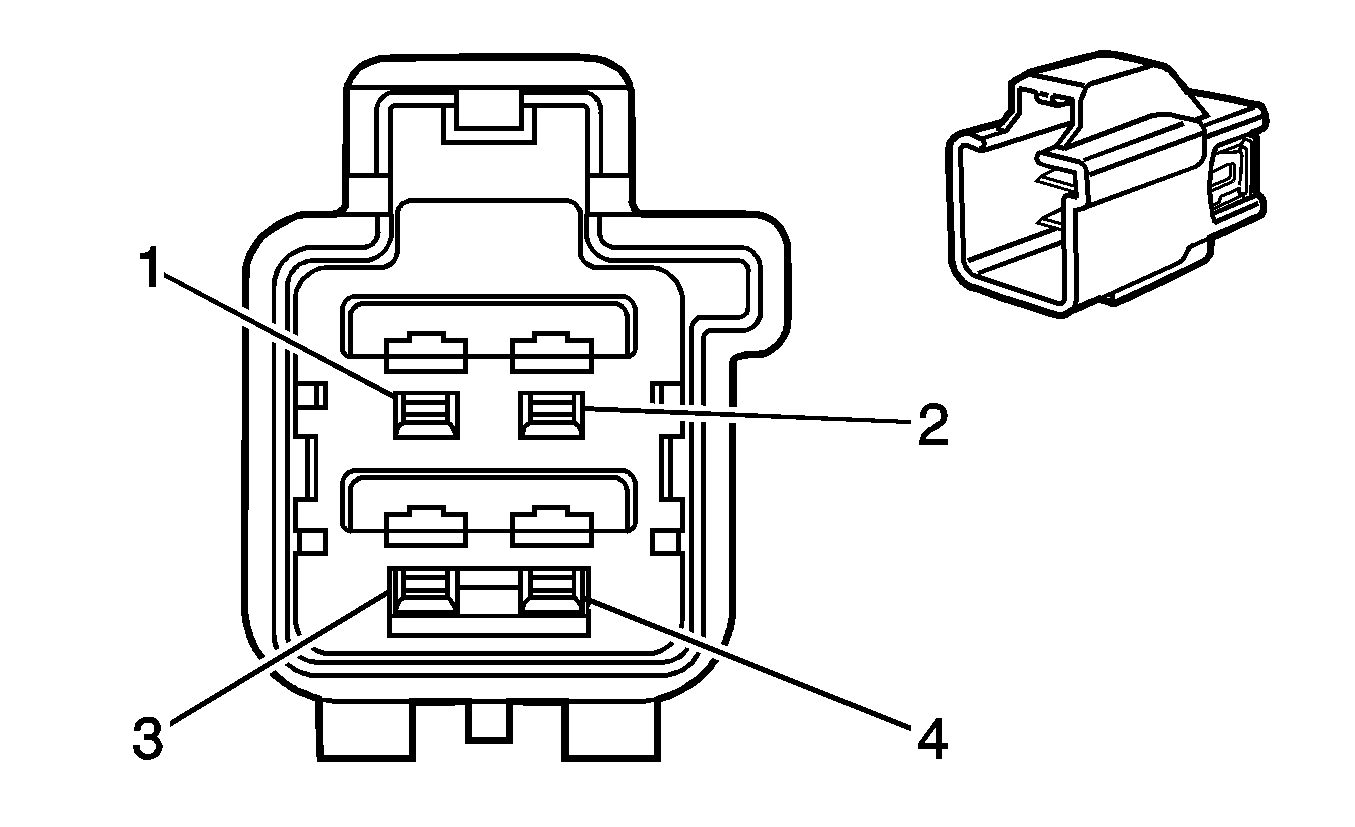
C107 Engine Harness to Starter Harness (LH2) (1 Cavity)


Object Number: 696940  Size: CH

Object Number: 696937  Size: CH

Connector Part Information

  • OEM: 12065172
  • Service: See Catalog
  • Description: 1-Way F Metri-Pack 280 Series Sealed (BK)

Connector Part Information

  • OEM: 12065171
  • Service: 12085669
  • Description: 1-Way M Metri-Pack 280 Series Sealed (BK)

Terminal Part Information

  • Terminal/Tray: See Terminal Repair Kit
  • Core/Insulation Crimp: See Terminal Repair Kit
  • Release Tool/Test Probe: See Terminal Repair Kit

Terminal Part Information

  • Terminal/Tray: See Terminal Repair Kit
  • Core/Insulation Crimp: See Terminal Repair Kit
  • Release Tool/Test Probe: See Terminal Repair Kit

C107 Engine Harness to Starter Harness (LH2) (1 Cavity)

Pin

Wire Color

Circuit No.

Function

Pin

Wire Color

Circuit No.

Function

A

PU

6

Starter Solenoid Crank Voltage

A

PU

6

Starter Solenoid Crank Voltage

C108 Engine Harness to Engine POA Harness (LY7)


Object Number: 1849822  Size: CH

Object Number: 1480280  Size: CH

Connector Part Information

  • OEM: 1-967189-1
  • Service: See Catalog
  • Description: 10-Way F JR Power Timer Series Sealed (BK)

Connector Part Information

  • OEM: 1-962352-1
  • Service: See Catalog
  • Description: 10-Way M JR Power Timer Sealed (BK)

Terminal Part Information

  • Terminal/Tray: See Terminal Repair Kit
  • Core/Insulation Crimp: See Terminal Repair Kit
  • Release Tool/Test Probe: See Terminal Repair Kit

Terminal Part Information

  • Terminal/Tray: See Terminal Repair Kit
  • Core/Insulation Crimp: See Terminal Repair Kit
  • Release Tool/Test Probe: See Terminal Repair Kit

C108 Engine Harness to Engine POA Harness (LY7)

Pin

Wire Color

Circuit No.

Function

Pin

Wire Color

Circuit No.

Function

1

PK/BK

5291

Ignition 1 Voltage

1

PK/BK

5291

Ignition 1 Voltage

2

PK/BK

5292

Ignition 1 Voltage

2

PK/BK

5292

Ignition 1 Voltage

3

TN

1744

Fuel Injector 1 Control

3

TN

1744

Fuel Injector 1 Control

4

PK/BK

1746

Fuel Injector 3 Control

4

PK/BK

1746

Fuel Injector 3 Control

5

TN/WH

845

Fuel Injector 5 Control

5

TN/WH

845

Fuel Injector 5 Control

6

L-GN/BK

1745

Fuel Injector 2 Control

6

L-GN/BK

1745

Fuel Injector 2 Control

7

L-BU/BK

844

Fuel Injector 4 Control

7

L-BU/BK

844

Fuel Injector 4 Control

8

YE/BK

846

Fuel Injector 6 Control

8

YE/BK

846

Fuel Injector 6 Control

9-10

--

--

Not Used

9-10

--

--

Not Used

C109 Forward Lamp Harness to Right Turn Signal/Fog Lamp Harness


Object Number: 684854  Size: CH

Object Number: 396241  Size: CH

Connector Part Information

  • OEM: 12162144
  • Service: 12102741
  • Description: 4-Way F Metri-Pack 150 Series Sealed (BK)

Connector Part Information

  • OEM: 12162102
  • Service: 15305839
  • Description: 4-Way M Metri-Pack 150 Series Sealed (BK)

Terminal Part Information

  • Terminal/Tray: 12048074/2
  • Core/Insulation Crimp: E/1
  • Release Tool/Test Probe: 12094429/J-35616-2A (GY)

Terminal Part Information

  • Terminal/Tray: See Terminal Repair Kit
  • Core/Insulation Crimp: See Terminal Repair Kit
  • Release Tool/Test Probe: See Terminal Repair Kit

C109 Forward Lamp Harness to Right Turn Signal/Fog Lamp Harness

Pin

Wire Color

Circuit No.

Function

Pin

Wire Color

Circuit No.

Function

A

PU

34

Front Fog Lamp Supply Voltage

A

BK

34

Front Fog Lamp Supply Voltage

B

D-GN

5365

Right DRL/Turn Supply Voltage

B

BK

5365

Right DRL/Turn Supply Voltage

C

BK

250

Ground

C

BK

250

Ground

D

BK

250

Ground

D

BK

250

Ground

C110 Forward Lamp Harness to Left Turn Signal/Fog Lamp Harness


Object Number: 684854  Size: CH

Object Number: 396241  Size: CH

Connector Part Information

  • OEM: 12162144
  • Service: 12102741
  • Description: 4-Way F Metri-Pack 150 Series Sealed (BK)

Connector Part Information

  • OEM: 12162102
  • Service: 15305839
  • Description: 4-Way M Metri-Pack 150 Series Sealed (BK)

Terminal Part Information

  • Terminal/Tray: 12048074/2
  • Core/Insulation Crimp: E/1
  • Release Tool/Test Probe: 12094429/J-35616-2A (GY)

Terminal Part Information

  • Terminal/Tray: See Terminal Repair Kit
  • Core/Insulation Crimp: See Terminal Repair Kit
  • Release Tool/Test Probe: See Terminal Repair Kit

C110 Forward Lamp Harness to Left Turn Signal/Fog Lamp Harness

Pin

Wire Color

Circuit No.

Function

Pin

Wire Color

Circuit No.

Function

A

PU

34

Front Fog Lamp Supply Voltage

A

BK

2234

Front Fog Lamp Supply Voltage

B

D-BU

5364

Left DRL/Turn Supply Voltage

B

BK

5364

Left DRL/Turn Supply Voltage

C

BK

250

Ground

C

BK

250

Ground

D

BK

250

Ground

D

BK

250

Ground

C111 Forward Lamp Harness to Headlamp Assembly - Left (w/HID and Leveling)


Object Number: 831375  Size: CH

Object Number: 1404727  Size: CH

Connector Part Information

  • OEM: 15445017
  • Service: See Catalog
  • Description: 12-Way F GT 150 280 Series Sealed (GY)

Connector Part Information

  • OEM: 15373527
  • Service: See Catalog
  • Description: 12-Way M GT 150/280 Series (WH)

Terminal Part Information

  • Pins: B-E, H, K
  • Terminal/Tray: 12191819/8
  • Core/Insulation Crimp: E/A
  • Release Tool/Test Probe: 15315247/J-35616-2A (GY)
  • Pins: A, F-G, M
  • Terminal/Tray: 15304719/19
  • Core/Insulation Crimp: 2/5
  • Release Tool/Test Probe: 15315247/J-35616-4A (PU)

Terminal Part Information

  • Pins: A-H, K, M
  • Terminal/Tray: See Terminal Repair Kit
  • Core/Insulation Crimp: See Terminal Repair Kit
  • Release Tool/Test Probe: See Terminal Repair Kit

C111 Forward Lamp Harness to Headlamp Assembly - Left (w/HID and Leveling)

Pin

Wire Color

Circuit No.

Function

Pin

Wire Color

Circuit No.

Function

A

YE

712

Left Headlamp Low Beam Supply Voltage

A

BK

712

Left Headlamp Low Beam Supply Voltage

B

PU

709

Left Park Lamp Supply Voltage

B

BN/WH

709

Left Park Lamp Supply Voltage

C

WH/BK

5043

Keyword 2000 Serial Data

C

WH/BK

5043

Keyword 2000 Serial Data

D

GY

868

Headlamp Leveling Switch Bit 1 Signal

D

BK

868

Headlamp Leveling Switch Bit 1 Signal

E

GY

868

Headlamp Leveling Switch Bit 1 Signal

E

BK

868

Headlamp Leveling Switch Bit 1 Signal

F

BK

250

Ground

F

GN

250

Ground

G

D-GN/WH

711

Left Headlamp High Beam Supply Voltage

G

GN

711

Left Headlamp High Beam Supply Voltage

H

PK

1439

Ignition 1 Voltage

H

PK

1439

Ignition 1 Voltage

J

--

--

Not Used

J

--

--

Not Used

K

BN

2209

Rear Park Lamps Supply Voltage

K

BN

2209

Left Park Lamp Supply Voltage

L

--

--

Not Used

L

--

--

Not Used

M

BK

250

Ground

M

BK

250

Ground

C111 Forward Lamp Harness to Headlamp Assembly - Left (w/HID)


Object Number: 831375  Size: CH

Object Number: 1404727  Size: CH

Connector Part Information

  • OEM: 15373535
  • Service: See Catalog
  • Description: 12-Way F GT 150 280 Series Sealed (GY)

Connector Part Information

  • OEM: 15373529
  • Service: See Catalog
  • Description: 12-Way M GT 150/280 Series (WH)

Terminal Part Information

  • Pins: B-E
  • Terminal/Tray: 12191819/8
  • Core/Insulation Crimp: Pins: B, D-E: 2/A
  • Core/Insulation Crimp: Pins: C: E/A
  • Release Tool/Test Probe: 15315247/J-35616-2A (GY)
  • Pins: A
  • Terminal/Tray: 15304719/19
  • Core/Insulation Crimp: 2/5
  • Release Tool/Test Probe: 15315247/J-35616-4A (PU)

Terminal Part Information

  • Pins: A-E
  • Terminal/Tray: See Terminal Repair Kit
  • Core/Insulation Crimp: See Terminal Repair Kit
  • Release Tool/Test Probe: See Terminal Repair Kit

C111 Forward Lamp Harness to Headlamp Assembly - Left (w/HID)

Pin

Wire Color

Circuit No.

Function

Pin

Wire Color

Circuit No.

Function

A

YE

712

Left Headlamp Low Beam Supply Voltage

A

BK

712

Left Headlamp Low Beam Supply Voltage

B

D-GN/WH

711

Left Headlamp High Beam Supply Voltage

B

GN

711

Left Headlamp High Beam Supply Voltage

C

PU

709

Left Park Lamp Supply Voltage

C

GN

709

Left Park Lamp Supply Voltage

D

BK

250

Ground

D

GN

250

Ground

E

BK

250

Ground

E

GN

250

Ground

F-M

--

--

Not Used

F-M

--

--

Not Used

C111 Forward Lamp Harness to Headlamp Assembly - Left (w/o HID)


Object Number: 831375  Size: CH

Object Number: 1404727  Size: CH

Connector Part Information

  • OEM: 15326939
  • Service: 88988440
  • Description: 12-Way F GT 150, 280 Series Sealed (GY)

Connector Part Information

  • OEM: 15373526
  • Service: See Catalog
  • Description: 12-Way M GT 150/280 Series (WH)

Terminal Part Information

  • Pins: B-D
  • Terminal/Tray: 12191819/8
  • Core/Insulation Crimp: Pins: B, D: 2/A
  • Core/Insulation Crimp: Pins: C: E/A
  • Release Tool/Test Probe: 15315247/J-35616-2A (GY)
  • Pins: A
  • Terminal/Tray: 15304719/19
  • Core/Insulation Crimp: 2/5
  • Release Tool/Test Probe: 15315247/J-35616-4A (PU)

Terminal Part Information

  • Pins: A-D
  • Terminal/Tray: See Terminal Repair Kit
  • Core/Insulation Crimp: See Terminal Repair Kit
  • Release Tool/Test Probe: See Terminal Repair Kit

C111 Forward Lamp Harness to Headlamp Assembly - Left (w/o HID)

Pin

Wire Color

Circuit No.

Function

Pin

Wire Color

Circuit No.

Function

A

YE

712

Left Headlamp Low Beam Supply Voltage

A

BK

712

Left Headlamp Low Beam Supply Voltage

B

D-GN/WH

711

Left Headlamp High Beam Supply Voltage

B

GN

711

Left Headlamp High Beam Supply Voltage

C

PU

709

Left Park Lamp Supply Voltage

C

GN

709

Left Park Lamp Supply Voltage

D

BK

250

Ground

D

GN

250

Ground

E-M

--

--

Not Used

E-M

--

--

Not Used

C112 Forward Lamp Harness to Headlamp Assembly - Right (w/HID and Leveling)


Object Number: 831375  Size: CH

Object Number: 1404727  Size: CH

Connector Part Information

  • OEM: 15445017
  • Service: See Catalog
  • Description: 12-Way F GT 150 280 Series Sealed (GY)

Connector Part Information

  • OEM: 15373527
  • Service: See Catalog
  • Description: 12-Way M GT 150/280 Series (WH)

Terminal Part Information

  • Pins: B-E, H, K
  • Terminal/Tray: 12191819/8
  • Core/Insulation Crimp: E/A
  • Release Tool/Test Probe: 15315247/J-35616-2A (GY)
  • Pins: A, F-G, M
  • Terminal/Tray: 15304719/19
  • Core/Insulation Crimp: Pins: A, M: 2/5
  • Core/Insulation Crimp: Pins: F-G: E/5
  • Release Tool/Test Probe: 15315247/J-35616-4A (PU)

Terminal Part Information

  • Pins: A-H, K, M
  • Terminal/Tray: See Terminal Repair Kit
  • Core/Insulation Crimp: See Terminal Repair Kit
  • Release Tool/Test Probe: See Terminal Repair Kit

C112 Forward Lamp Harness to Headlamp Assembly - Right (w/HID and Leveling)

Pin

Wire Color

Circuit No.

Function

Pin

Wire Color

Circuit No.

Function

A

TN/WH

312

Right Headlamp Low Beam Supply Voltage

A

BK

312

Right Headlamp Low Beam Supply Voltage

B

BN/WH

309

Right Park Lamp Supply Voltage

B

BN/WH

309

Right Park Lamp Supply Voltage

C

WH/BK

5043

Keyword 2000 Serial Data

C

WH/BK

5043

Keyword 2000 Serial Data

D

GY

868

Headlamp Leveling Switch Bit 1 Signal

D

BK

868

Headlamp Leveling Switch Bit 1 Signal

E

GY

868

Headlamp Leveling Switch Bit 1 Signal

E

BK

868

Headlamp Leveling Switch Bit 1 Signal

F

BK

250

Ground

F

GN

250

Ground

G

L-GN/BK

311

Right Headlamp High Beam Supply Voltage

G

GN

311

Right Headlamp High Beam Supply Voltage

H

PK

1439

Ignition 1 Voltage

H

PK

1439

Ignition 1 Voltage

J

--

--

Not Used

J

--

--

Not Used

K

BN

2209

Rear Park Lamps Supply Voltage

K

BN

2209

Rear Park Lamps Supply Voltage

L

--

--

Not Used

L

--

--

Not Used

M

BK

250

Ground

M

BK

250

Ground

C112 Forward Lamp Harness to Headlamp Assembly - Right (w/HID)


Object Number: 831375  Size: CH

Object Number: 1404727  Size: CH

Connector Part Information

  • OEM: 15373535
  • Service: See Catalog
  • Description: 12-Way F GT 150 280 Series Sealed (GY)

Connector Part Information

  • OEM: 15373529
  • Service: See Catalog
  • Description: 12-Way M GT 150/280 Series (WH)

Terminal Part Information

  • Pins: B-E
  • Terminal/Tray: 12191819/8
  • Core/Insulation Crimp: Pins: D: 2/A
  • Core/Insulation Crimp: Pins: B-C, E: E/A
  • Release Tool/Test Probe: 15315247/J-35616-2A (GY)
  • Pins: A
  • Terminal/Tray: 15304719/19
  • Core/Insulation Crimp: 2/5
  • Release Tool/Test Probe: 15315247/J-35616-4A (PU)

Terminal Part Information

  • Pins: A-E
  • Terminal/Tray: See Terminal Repair Kit
  • Core/Insulation Crimp: See Terminal Repair Kit
  • Release Tool/Test Probe: See Terminal Repair Kit

C112 Forward Lamp Harness to Headlamp Assembly - Right (w/HID)

Pin

Wire Color

Circuit No.

Function

Pin

Wire Color

Circuit No.

Function

A

TN/WH

312

Right Headlamp Low Beam Supply Voltage

A

BK

312

Right Headlamp Low Beam Supply Voltage

B

L-GN/BK

311

Right Headlamp High Beam Supply Voltage

B

GN

311

Right Headlamp High Beam Supply Voltage

C

BN/WH

309

Right Park Lamp Supply Voltage

C

GN

309

Right Park Lamp Supply Voltage

D

BK

250

Ground

D

BK

250

Ground

E

BK

250

Ground

E

GN

250

Ground

F-M

--

--

Not Used

F-M

--

--

Not Used

C112 Forward Lamp Harness to Headlamp Assembly - Right (w/o HID)


Object Number: 831375  Size: CH

Object Number: 1404727  Size: CH

Connector Part Information

  • OEM: 15326939
  • Service: 88988440
  • Description: 12-Way F GT 150, 280 Series Sealed (GY)

Connector Part Information

  • OEM: 15373526
  • Service: See Catalog
  • Description: 12-Way M GT 150/280 Series (WH)

Terminal Part Information

  • Pins: B-D
  • Terminal/Tray: 12191819/8
  • Core/Insulation Crimp: Pins: D: 2/A
  • Core/Insulation Crimp: Pins: B-C: E/A
  • Release Tool/Test Probe: 15315247/J-35616-2A (GY)
  • Pins: A
  • Terminal/Tray: 15304719/19
  • Core/Insulation Crimp: 2/5
  • Release Tool/Test Probe: 15315247/J-35616-4A (PU)

Terminal Part Information

  • Pins: A-D
  • Terminal/Tray: See Terminal Repair Kit
  • Core/Insulation Crimp: See Terminal Repair Kit
  • Release Tool/Test Probe: See Terminal Repair Kit

C112 Forward Lamp Harness to Headlamp Assembly - Right (w/o HID)

Pin

Wire Color

Circuit No.

Function

Pin

Wire Color

Circuit No.

Function

A

TN/WH

312

Right Headlamp Low Beam Supply Voltage

A

BK

312

Right Headlamp Low Beam Supply Voltage

B

L-GN/BK

311

Right Headlamp High Beam Supply Voltage

B

GN

311

Right Headlamp High Beam Supply Voltage

C

BN/WH

309

Right Park Lamp Supply Voltage

C

GN

309

Right Park Lamp Supply Voltage

D

BK

250

Ground

D

GN

250

Ground

E-M

--

--

Not Used

E-M

--

--

Not Used

C113 Engine Harness to Forward Lamp Harness (LH2)


Object Number: 811182  Size: CH

Object Number: 1283862  Size: CH

Connector Part Information

  • OEM: 7283-5596-10
  • Service: 88953307
  • Description: 2-Way F YESC/USCAR Class III (D-GY)

Connector Part Information

  • OEM: 7282-5596-10
  • Service: 88953304
  • Description: 2-Way M 6.3 Series Weather Pack (D-GY)

Terminal Part Information

  • Pins: 1
  • Terminal/Tray: 7116-4142-02/10
  • Core/Insulation Crimp: D/3
  • Release Tool/Test Probe: 12094430/J-35616-42 (RD)
  • Pins: 2
  • Terminal/Tray: 7116-4140-02/10
  • Core/Insulation Crimp: C/5
  • Release Tool/Test Probe: 12094430/J-35616-42 (RD)

Terminal Part Information

  • Pins: 1
  • Terminal/Tray: 7114-4142-02/10
  • Core/Insulation Crimp: D/3
  • Release Tool/Test Probe: 12094430/J-35616-43 (RD)
  • Pins: 2
  • Terminal/Tray: 7114-4140-02/10
  • Core/Insulation Crimp: C/5
  • Release Tool/Test Probe: 12094430/J-35616-43 (RD)

C113 Engine Harness to Forward Lamp Harness (LH2)

Pin

Wire Color

Circuit No.

Function

Pin

Wire Color

Circuit No.

Function

1

BK

1150

Ground

1

BK

1150

Ground

2

BK

1150

Ground

2

BK

1150

Ground

C114 Forward Lamp Harness to Right Repeater Lamp Harness (w/T90)


Object Number: 781760  Size: CH

Object Number: 333041  Size: CH

Connector Part Information

  • OEM: 12015792
  • Service: 12126452
  • Description: 2-Way F Weather Pack Series (BK)

Connector Part Information

  • OEM: 12040872
  • Service: 12085524
  • Description: 2-Way M Weather Pack (BK)

Terminal Part Information

  • Terminal/Tray: 12089188/3
  • Core/Insulation Crimp: E/5
  • Release Tool/Test Probe: 12014012-1/J-35616-8 (OG)

Terminal Part Information

  • Pins: B
  • Terminal/Tray: 12089040/3
  • Core/Insulation Crimp: E/5
  • Release Tool/Test Probe: 12014012-1/J-35616-9 (OG)

C114 Forward Lamp Harness to Right Repeater Lamp Harness (w/T90)

Pin

Wire Color

Circuit No.

Function

Pin

Wire Color

Circuit No.

Function

A

L-BU/WH

1315

Right Front Turn Signal Lamp Supply Voltage

A

L-BU/WH

1315

Right Front Turn Signal Lamp Supply Voltage

B

BK

250

Ground

B

BK

250

Ground

C115 Forward Lamp Harness to Left Repeater Lamp Harness (w/T90)


Object Number: 781760  Size: CH

Object Number: 333041  Size: CH

Connector Part Information

  • OEM: 12015792
  • Service: 12126452
  • Description: 2-Way F Weather Pack Series (BK)

Connector Part Information

  • OEM: 12040872
  • Service: 12085524
  • Description: 2-Way M Weather Pack Sealed (BK)

Terminal Part Information

  • Terminal/Tray: 12089188/3
  • Core/Insulation Crimp: E/5
  • Release Tool/Test Probe: 12014012-1/J-35616-8 (OG)

Terminal Part Information

  • Terminal/Tray: 12089040/3
  • Core/Insulation Crimp: E/5
  • Release Tool/Test Probe: 12014012-1/J-35616-9 (OG)

C115 Forward Lamp Harness to Left Repeater Lamp Harness (w/T90)

Pin

Wire Color

Circuit No.

Function

Pin

Wire Color

Circuit No.

Function

A

L-BU/WH

1314

Left Front Turn Signal Lamp Supply Voltage

A

L-BU/WH

1314

Left Front Turn Signal Lamp Supply Voltage

B

BK

250

Ground

B

BK

250

Ground

C116 Forward Lamp Harness to I/P Harness (Domestic)


Object Number: 1413042  Size: CH

Object Number: 1413074  Size: CH

Connector Part Information

  • OEM: 7283-5553-10
  • Service: 88988402
  • Description: 6-Way F YESC/USCAR Class III (D-GY)

Connector Part Information

  • OEM: 7282-5553-10
  • Service: 88988399
  • Description: 6-Way M YESC/USCAR Class III (D-GY)

Terminal Part Information

  • Terminal/Tray: 7116-4102-08/9
  • Core/Insulation Crimp: E/1
  • Release Tool/Test Probe: 12094430/J-35616-2A (GY)

Terminal Part Information

  • Pins: 1-3, 6
  • Terminal/Tray: 7114-4102-08/9
  • Core/Insulation Crimp: E/1
  • Release Tool/Test Probe: 12094430/J-35616-3 (GY)

C116 Forward Lamp Harness to I/P Harness (Domestic)

Pin

Wire Color

Circuit No.

Function

Pin

Wire Color

Circuit No.

Function

1

L-GN/BK

735

Ambient Air Temperature Sensor Signal

1

L-GN/BK

735

Ambient Air Temperature Sensor Signal

2

YE

61

Low Reference

2

YE

61

Low Reference

3

L-GN/WH

6845

Air Quality NOX Sensor Signal (K14)

3

L-GN/WH

6845

Air Quality NOX Sensor Signal (K14)

4-5

--

--

Not Used

4-5

--

--

Not Used

6

PU/WH

5203

Air Quality Sensor Signal (K14)

6

PU/WH

5203

Air Quality Sensor Signal (K14)

C116 Forward Lamp Harness to I/P Harness (Export)


Object Number: 1413042  Size: CH

Object Number: 1413074  Size: CH

Connector Part Information

  • OEM: 7283-5553-10
  • Service: 88988402
  • Description: 6-Way F YESC/USCAR Class III (D-GY)

Connector Part Information

  • OEM: 7282-5553-10
  • Service: 88988399
  • Description: 6-Way M YESC/USCAR Class III (D-GY)

Terminal Part Information

  • Terminal/Tray: 7116-4102-08/9
  • Core/Insulation Crimp: E/1
  • Release Tool/Test Probe: 12094430/J-35616-2A (GY)

Terminal Part Information

  • Terminal/Tray: 7114-4102-08/9
  • Core/Insulation Crimp: E/1
  • Release Tool/Test Probe: 12094430/J-35616-3 (GY)

C116 Forward Lamp Harness to I/P Harness (Export)

Pin

Wire Color

Circuit No.

Function

Pin

Wire Color

Circuit No.

Function

1

L-GN/BK

735

Ambient Air Temperature Sensor Signal

1

L-GN/BK

735

Ambient Air Temperature Sensor Signal

2

YE

61

Low Reference

2

YE

61

Low Reference

3

L-GN/WH

6845

Air Quality NOX Sensor Signal (K14)

3

L-GN/WH

6845

Air Quality NOX Sensor Signal (K14)

4

WH/BK

5043

Keyword 2000 Serial Data (TR7)

4

WH/BK

5043

Keyword 2000 Serial Data (TR7)

5

GY

868

Headlamp Leveling Switch Bit 1 Signal (TR7)

5

GY

868

Headlamp Leveling Switch Bit 1 Signal (TR7)

6

PU/WH

5203

Air Quality Sensor Signal (K14)

6

PU/WH

5203

Air Quality Sensor Signal (K14)

C117 I/P Harness to Body Harness


Object Number: 1715265  Size: CH

Object Number: 1853524  Size: CH

Connector Part Information

  • OEM: 7283-5595-10
  • Service: See Catalog
  • Description: 4-Way F 250 Series Sealed (GY)

Connector Part Information

  • OEM: 7282-5595-10
  • Service: See Catalog
  • Description: 4-Way M Sealed (GY)

Terminal Part Information

  • Pins: 1-3
  • Terminal/Tray: 7116-4142-02/10
  • Core/Insulation Crimp: Pins: 1-2: D/3
  • Core/Insulation Crimp: Pins: 3: A/3
  • Release Tool/Test Probe: 12094430/J-35616-42 (RD)

Terminal Part Information

  • Pins: 1-3
  • Terminal/Tray: 7114-4142-02/10
  • Core/Insulation Crimp: Pins: 1-2: D/3
  • Core/Insulation Crimp: Pins: 3: A/3
  • Release Tool/Test Probe: 12094430/J-35616-43 (RD)

C117 I/P Harness to Body Harness

Pin

Wire Color

Circuit No.

Function

Pin

Wire Color

Circuit No.

Function

1

RD/BK

2

Battery Positive Voltage

1

RD/BK

2

Battery Positive Voltage

2

RD/BK

2

Battery Positive Voltage

2

RD/BK

2

Battery Positive Voltage

3

GY

120

Fuel Pump Supply Voltage

3

GY

120

Fuel Pump Supply Voltage

4

--

--

Not Used

4

--

--

Not Used

C118 I/P Harness to Body Harness


Object Number: 811182  Size: CH

Object Number: 1283862  Size: CH

Connector Part Information

  • OEM: 7283-5596-10
  • Service: 88953307
  • Description: 2-Way F YESC/USCAR Class III (D-GY)

Connector Part Information

  • OEM: 7282-5596-10
  • Service: 88953304
  • Description: 2-Way M 6.3 Series Weather Pack (D-GY)

Terminal Part Information

  • Terminal/Tray: 7116-4142-02/10
  • Core/Insulation Crimp: D/3
  • Release Tool/Test Probe: 12094430/J-35616-42 (RD)

Terminal Part Information

  • Terminal/Tray: 7114-4142-02/10
  • Core/Insulation Crimp: D/3
  • Release Tool/Test Probe: 12094430/J-35616-43 (RD)

C118 I/P Harness to Body Harness

Pin

Wire Color

Circuit No.

Function

Pin

Wire Color

Circuit No.

Function

1

RD/BK

2

Battery Positive Voltage

1

RD/BK

2

Battery Positive Voltage

2

RD/BK

2

Battery Positive Voltage

2

RD/BK

2

Battery Positive Voltage

C120 Engine Harness to Variable Effort Steering (VES) Jumper Harness (RHD)


Object Number: 1283850  Size: CH

Object Number: 1625662  Size: CH

Connector Part Information

  • OEM:E-3550
  • Service: 89046838
  • Description: 2-Way F 1.5 Series Sealed (BK)

Connector Part Information

  • OEM: E3385
  • Service: See Catalog
  • Description: 2-Way M 1.5 Series Sealed (BK)

Terminal Part Information

  • Terminal/Tray: 7116-4103-08/9
  • Core/Insulation Crimp: E/1
  • Release Tool/Test Probe: 12094430/J-35616-2A (GY)

Terminal Part Information

  • Terminal/Tray: 7114-4103-08/9
  • Core/Insulation Crimp: E/1
  • Release Tool/Test Probe: 12094430/J-35616-3 (GY)

C120 Engine Harness to Variable Effort Steering (VES) Jumper Harness (RHD)

Pin

Wire Color

Circuit No.

Function

Pin

Wire Color

Circuit No.

Function

1

WH

1294

Variable Effort Steering Actuator Supply Voltage

1

WH

1294

Variable Effort Steering Actuator Supply Voltage

2

BN

1295

Variable Effort Steering Actuator Control

2

BN

1295

Variable Effort Steering Actuator Control

C139 Engine Harness to Left Coil/Module Harness (LH2)


Object Number: 1283903  Size: CH

Object Number: 1283901  Size: CH

Connector Part Information

  • OEM: 15317367
  • Service: 15306317
  • Description: 7-Way F GT 150 Series Sealed (BK)

Connector Part Information

  • OEM: 15326553
  • Service: See Catalog
  • Description: 7-Way M GT 150 Series (BK)

Terminal Part Information

  • Pins: A-G
  • Terminal/Tray: 12191819/8
  • Core/Insulation Crimp: Pins: A-B: 2/A
  • Core/Insulation Crimp: Pins: C-G: E/A
  • Release Tool/Test Probe: 15315247/J-35616-2A (GY)

Terminal Part Information

  • Terminal/Tray: See Terminal Repair Kit
  • Core/Insulation Crimp: See Terminal Repair Kit
  • Release Tool/Test Probe: See Terminal Repair Kit

C139 Engine Harness to Left Coil/Module Harness (LH2)

Pin

Wire Color

Circuit No.

Function

Pin

Wire Color

Circuit No.

Function

A

PK/BK

5292

Ignition 1 Voltage

A

PK

5292

Ignition 1 Voltage

B

BK

1450

Ground

B

BK

1450

Ground

C

BN/WH

2130

Low Reference

C

TN

2130

Low Reference

D

D-GN/WH

2124

IC 4 Control

D

L-BU

2124

IC 4 Control

E

L-BU/WH

2126

IC 6 Control

E

L-GN

2126

IC 6 Control

F

PU/WH

2128

IC 8 Control

F

PK

2128

IC 8 Control

G

OG/WH

2122

IC 2 Control

G

PU

2122

IC 2 Control

C140 Engine Harness to Right Coil/Module Harness (LH2)


Object Number: 1283903  Size: CH

Object Number: 1283901  Size: CH

Connector Part Information

  • OEM: 15317367
  • Service: 15306317
  • Description: 7-Way F GT 150 Series Sealed (BK)

Connector Part Information

  • OEM: 15326553
  • Service: See Catalog
  • Description: 7-Way M GT 150 Series (BK)

Terminal Part Information

  • Pins: A-G
  • Terminal/Tray: 12191819/8
  • Core/Insulation Crimp: Pins: A-B: 2/A
  • Core/Insulation Crimp: Pins: C-G: E/A
  • Release Tool/Test Probe: 15315247/J-35616-2A (GY)

Terminal Part Information

  • Terminal/Tray: See Terminal Repair Kit
  • Core/Insulation Crimp: See Terminal Repair Kit
  • Release Tool/Test Probe: See Terminal Repair Kit

C140 Engine Harness to Right Coil/Module Harness (LH2)

Pin

Wire Color

Circuit No.

Function

Pin

Wire Color

Circuit No.

Function

A

PK/BK

5291

Ignition 1 Voltage

A

PK

5291

Ignition 1 Voltage

B

BK

1450

Ground

B

BK

1450

Ground

C

BN

2129

Low Reference

C

TN

2129

Low Reference

D

D-GN

2125

IC 5 Control

D

L-BU

2125

IC 5 Control

E

L-BU

2123

IC 3 Control

E

L-GN

2123

IC 3 Control

F

PU

2121

IC 1 Control

F

PK

2121

IC 1 Control

G

OG

2127

IC 7 Control

G

PU

2127

IC 7 Control

C200 Body Harness to I/P Harness (Domestic)


Object Number: 1483282  Size: CH

Object Number: 1483279  Size: CH

Connector Part Information

  • OEM: 7283-6388-40
  • Service: See Catalog
  • Description: 20-Way F CONN (L-GY)

Connector Part Information

  • OEM: 7282-6568-40
  • Service: See Catalog
  • Description: 20-Way M CONN (GY)

Terminal Part Information

  • Terminal/Tray: 7116-4720-02/14
  • Core/Insulation Crimp: H/H
  • Release Tool/Test Probe: 15315247/J-35616-64B (L-BU)

Terminal Part Information

  • Terminal/Tray: 7114-4720-02/14
  • Core/Insulation Crimp: J/J
  • Release Tool/Test Probe: 15315247/J-35616-65B (L-BU)

C200 Body Harness to I/P Harness (Domestic)

Pin

Wire Color

Circuit No.

Function

Pin

Wire Color

Circuit No.

Function

1

TN/BK

511

Left Front Low Level Audio Signal (+) (UQA/UQS)

1

TN/BK

511

Left Front Low Level Audio Signal (+) (UQA/UQS)

2

D-GN

1947

Left Front Low Level Audio Signal (-) (UQA/UQS)

2

D-GN

1947

Left Front Low Level Audio Signal (-) (UQA/UQS)

3

BARE

1573

Drain Wire (UQA/UQS)

3

BARE

1573

Drain Wire (UQA/UQS)

4

L-GN/WH

512

Right Front Low Level Audio Signal (+) (UQA/UQS)

4

L-GN/WH

512

Right Front Low Level Audio Signal (+) (UQA/UQS)

5

L-GN

1948

Right Front Low Level Audio Signal (-) (UQA/UQS)

5

L-GN

1948

Right Front Low Level Audio Signal (-) (UQA/UQS)

6

BN/WH

599

Left Rear Low Level Audio Signal (+) (UQA)

6

BN/WH

599

Left Rear Low Level Audio Signal (+) (UQA)

D-BU

6760

Left Rear Low Level Audio Signal (+) (UQS)

D-BU

6760

Left Rear Low Level Audio Signal (+) (UQS)

7

BN

1999

Left Rear Low Level Audio Signal (-) (UQA)

7

BN

1999

Left Rear Low Level Audio Signal (-) (UQA)

OG

6761

Left Rear Low Level Audio Signal (-) (UQS)

OG

6761

Left Rear Low Level Audio Signal (-) (UQS)

8

BARE

1574

Drain Wire (UQA)

8

BARE

1574

Drain Wire (UQA)

BARE

6759

Drain Wire (UQS)

BARE

6759

Drain Wire (UQS)

9

D-BU

546

Subwoofer Low Level Audio Signal (UQA)

9

D-BU

546

Subwoofer Low Level Audio Signal (UQA)

WH

6763

Subwoofer Low Level Audio Signal (UQS)

WH

6763

Subwoofer Low Level Audio Signal (UQS)

10

TN

1946

Right Rear Low Level Audio Signal (-) (UQA)

10

TN

1946

Right Rear Low Level Audio Signal (-) (UQA)

PK

6762

Right Rear Low Level Audio Signal (-) (UQS)

PK

6762

Right Rear Low Level Audio Signal (-) (UQS)

11

OG

1486

FM Composite Signal

11

OG

1486

FM Composite Signal

12

PK/BK

5152

Return Voice In Signal (U2V/UE1)

12

PK/BK

5152

Return Voice In Signal (U2V/UE1)

13

PK

5149

Voice In Signal (U2V/UE1)

13

PK

5149

Voice In Signal (U2V/UE1)

14

BARE

1792

Drain Wire (U2V/UE1)

14

BARE

1792

Drain Wire (U2V/UE1)

15

OG/BK

1406

Remote Playback Device Left Audio Signal (UE1)

15

OG/BK

1406

Remote Playback Device Left Audio Signal (UE1)

16

L-BU

1405

Remote Playback Device Audio Common Signal (UE1)

16

L-BU

1405

Remote Playback Device Audio Common Signal (UE1)

17

BARE

814

Drain Wire (UE1)

17

BARE

814

Drain Wire (UE1)

18

WH

5343

Navigation Audio Signal (-) (U2V/U2X/U2Y)

18

WH

5343

Navigation Audio Signal (-) (U2V/U2X/U2Y)

19

YE

5342

Navigation Audio Signal (+) (U2V/U2X/U2Y)

19

YE

5342

Navigation Audio Signal (+) (U2V/U2X/U2Y)

20

BARE

5344

Drain Wire (U2V/U2X/U2Y)

20

BARE

5344

Drain Wire (U2V/U2X/U2Y)

C200 Body Harness to I/P Harness (Export)


Object Number: 1483282  Size: CH

Object Number: 1483279  Size: CH

Connector Part Information

  • OEM: 7283-6388-40
  • Service: See Catalog
  • Description: 20-Way F CONN (L-GY)

Connector Part Information

  • OEM: 7282-6568-40
  • Service: See Catalog
  • Description: 20-Way M CONN (GY)

Terminal Part Information

  • Terminal/Tray: 7116-4720-02/14
  • Core/Insulation Crimp: H/H
  • Release Tool/Test Probe: 15315247/J-35616-64B (L-BU)

Terminal Part Information

  • Terminal/Tray: 7114-4720-02/14
  • Core/Insulation Crimp: J/J
  • Release Tool/Test Probe: 15315247/J-35616-65B (L-BU)

C200 Body Harness to I/P Harness (Export)

Pin

Wire Color

Circuit No.

Function

Pin

Wire Color

Circuit No.

Function

1

TN/BK

511

Left Front Low Level Audio Signal (+) (UQA/UQS)

1

TN/BK

511

Left Front Low Level Audio Signal (+) (UQA/UQS)

2

D-GN

1947

Left Front Low Level Audio Signal (-) (UQA/UQS)

2

D-GN

1947

Left Front Low Level Audio Signal (-) (UQA/UQS)

3

BARE

1573

Drain Wire (UQA/UQS)

3

BARE

1573

Drain Wire (UQA/UQS)

4

L-GN/WH

512

Right Front Low Level Audio Signal (+) (UQA/UQS)

4

L-GN/WH

512

Right Front Low Level Audio Signal (+) (UQA/UQS)

5

L-GN

1948

Right Front Low Level Audio Signal (-) (UQA/UQS)

5

L-GN

1948

Right Front Low Level Audio Signal (-) (UQA/UQS)

6

BN/WH

599

Left Rear Low Level Audio Signal (+) (UQA)

6

BN/WH

599

Left Rear Low Level Audio Signal (+) (UQA)

D-BU

6760

Left Rear Low Level Audio Signal (+) (UQS)

D-BU

6760

Left Rear Low Level Audio Signal (+) (UQS)

7

BN

1999

Left Rear Low Level Audio Signal (-) (UQA)

7

BN

1999

Left Rear Low Level Audio Signal (-) (UQA)

OG

6761

Left Rear Low Level Audio Signal (-) (UQS)

OG

6761

Left Rear Low Level Audio Signal (-) (UQS)

8

BARE

1574

Drain Wire (UQA)

8

BARE

1574

Drain Wire (UQA)

BARE

6759

Drain Wire (UQS)

BARE

6759

Drain Wire (UQS)

9

D-BU

546

Subwoofer Low Level Audio Signal (UQA)

9

D-BU

546

Subwoofer Low Level Audio Signal (UQA)

WH

6763

Subwoofer Low Level Audio Signal (UQS)

WH

6763

Subwoofer Low Level Audio Signal (UQS)

10

TN

1946

Right Rear Low Level Audio Signal (-) (UQA)

10

TN

1946

Right Rear Low Level Audio Signal (-) (UQA)

PK

6762

Right Rear Low Level Audio Signal (-) (UQS)

PK

6762

Right Rear Low Level Audio Signal (-) (UQS)

11

OG

1486

FM Composite Signal

11

OG

1486

FM Composite Signal

12

BARE

514

Drain Wire (U2X/U2Y)

12

BARE

514

Drain Wire (U2X/U2Y)

13

GY

655

Cellular Microphone Signal (U2X/U2Y)

13

GY

655

Cellular Microphone Signal (U2X/U2Y)

14

BARE

1782

Drain Wire (U2X)

14

BARE

1782

Drain Wire (U2X)

15

GY

5383

Traffic Information Signal (+) (U2X)

15

GY

5383

Traffic Information Signal (+) (U2X)

16

BN

5384

Traffic Information Signal (-) (U2X)

16

BN

5384

Traffic Information Signal (-) (U2X)

17

YE

5385

Traffic Information Request Signal (U2X)

17

YE

5385

Traffic Information Request Signal (U2X)

18

WH

5343

Navigation Audio Signal (-) (U2V/U2X/U2Y)

18

WH

5343

Navigation Audio Signal (-) (U2V/U2X/U2Y)

19

YE

5342

Navigation Audio Signal (+) (U2V/U2X/U2Y)

19

YE

5342

Navigation Audio Signal (+) (U2V/U2X/U2Y)

20

BARE

5344

Drain Wire (U2V/U2X/U2Y)

20

BARE

5344

Drain Wire (U2V/U2X/U2Y)

C201 Body Harness to I/P Harness (Domestic)


Object Number: 1483282  Size: CH

Object Number: 1483279  Size: CH

Connector Part Information

  • OEM: 7283-6388-40
  • Service: See Catalog
  • Description: 20-Way F CONN (L-GY)

Connector Part Information

  • OEM: 7282-6568-40
  • Service: See Catalog
  • Description: 20-Way M CONN (GY)

Terminal Part Information

  • Pins: 6, 13
  • Terminal/Tray: 7116-4120-02/9
  • Core/Insulation Crimp: See Terminal Repair Kit
  • Release Tool/Test Probe: 12094430/J-35616-42 (RD)
  • Pins: 9
  • Terminal/Tray: 7116-4101-08/9
  • Core/Insulation Crimp: See Terminal Repair Kit
  • Release Tool/Test Probe: 12094430/J-35616-2A (GY)
  • Pins: 1-5, 10, 12, 14, 20
  • Terminal/Tray: 7116-4720-02/14
  • Core/Insulation Crimp: H/H
  • Release Tool/Test Probe: 15315247/J-35616-64B (L-BU)

Terminal Part Information

  • Pins: 1-3, 6-7, 10, 12-14, 20
  • Terminal/Tray: 7114-4720-02/14
  • Core/Insulation Crimp: J/J
  • Release Tool/Test Probe: 15315247/J-35616-65B (L-BU)

C201 Body Harness to I/P Harness (Domestic)

Pin

Wire Color

Circuit No.

Function

Pin

Wire Color

Circuit No.

Function

1

WH

193

Rear Defog Relay Control

1

WH

193

Rear Defog Relay Control

2

TN/BK

2500

High Speed GMLAN Serial Data Bus+

2

TN/BK

2500

High Speed GMLAN Serial Data Bus+

3

TN

2501

High Speed GMLAN Serial Data Bus-

3

TN

2501

High Speed GMLAN Serial Data Bus-

4-5

--

--

Not Used

4-5

--

--

Not Used

6

L-GN

1391

Driver Door Unlock Relay Control

6

L-GN

1391

Driver Door Unlock Relay Control

7

D-GN

801

RAP Fuse Supply Voltage (CF5/C3B-T79)

7

D-GN

801

RAP Fuse Supply Voltage (CF5/C3B-T79)

8-9

--

--

Not Used

8-9

--

--

Not Used

10

L-GN/BK

748

Right Rear Door Ajar Switch Signal

10

L-GN/BK

748

Right Rear Door Ajar Switch Signal

11

--

--

Not Used

11

--

--

Not Used

12

BN

141

Ignition 3 Voltage

12

BN

141

Ignition 3 Voltage

13

OG

300

Ignition 3 Voltage

13

OG

300

Ignition 3 Voltage

14

PU

5357

Right Tail Lamp Outage Detection Signal

14

PU

5357

Right Tail Lamp Outage Detection Signal

15-19

--

--

Not Used

15-19

--

--

Not Used

20

L-BU

5921

Driver Door Unlock Relay Control

20

L-BU

5921

Driver Door Unlock Relay Control

C201 Body Harness to I/P Harness (Export)


Object Number: 1483282  Size: CH

Object Number: 1483279  Size: CH

Connector Part Information

  • OEM: 7283-6388-40
  • Service: See Catalog
  • Description: 20-Way F CONN (L-GY)

Connector Part Information

  • OEM: 7282-6568-40
  • Service: See Catalog
  • Description: 20-Way M CONN (GY)

Terminal Part Information

  • Pins: 2-3
  • Terminal/Tray: 7116-4120-02/9
  • Core/Insulation Crimp: See Terminal Repair Kit
  • Release Tool/Test Probe: 12094430/J-35616-42 (RD)
  • Pins: 1-3, 6-7, 10, 12-14, 20
  • Terminal/Tray: 7116-4720-02/14
  • Core/Insulation Crimp: H/H
  • Release Tool/Test Probe: 15315247/J-35616-64B (L-BU)

Terminal Part Information

  • Pins: 1-6, 9-10, 12-14, 20
  • Terminal/Tray: 7114-4720-02/14
  • Core/Insulation Crimp: J/J
  • Release Tool/Test Probe: 15315247/J-35616-65B (L-BU)

C201 Body Harness to I/P Harness (Export)

Pin

Wire Color

Circuit No.

Function

Pin

Wire Color

Circuit No.

Function

1

WH

193

Rear Defog Relay Control

1

WH

193

Rear Defog Relay Control

2

TN/BK

2500

High Speed GMLAN Serial Data Bus+

2

TN/BK

2500

High Speed GMLAN Serial Data Bus+

3

TN

2501

High Speed GMLAN Serial Data Bus-

3

TN

2501

High Speed GMLAN Serial Data Bus-

4

PU

5059

Intrusion Sensor Alarm On Signal (UTA/UTC)

4

PU

5059

Intrusion Sensor Alarm On Signal (UTA/UTC)

5

YE

5058

Intrusion Sensor Armed Signal

5

YE

5058

Intrusion Sensor Armed Signal

6

L-GN

1391

Driver Door Unlock Relay Control (UTA/UTC)

6

L-GN

1391

Driver Door Unlock Relay Control (UTA/UTC)

7-8

--

--

Not Used

7-8

--

--

Not Used

9

GY

728

Security Indicator Control (UTA/UTC)

9

GY

728

Security Indicator Control (UTA/UTC)

10

L-GN/BK

748

Right Rear Door Ajar Switch Signal

10

L-GN/BK

748

Right Rear Door Ajar Switch Signal

11

--

--

Not Used

11

--

--

Not Used

12

BN

141

Ignition 3 Voltage

12

BN

141

Ignition 3 Voltage

13

OG

300

Ignition 3 Voltage

13

OG

300

Ignition 3 Voltage

14

PU

5357

Right Tail Lamp Outage Detection Signal (T79)

14

PU

5357

Right Tail Lamp Outage Detection Signal (T79)

15-19

--

--

Not Used

15-19

--

--

Not Used

20

L-BU

5921

Driver Door Unlock Relay Control

20

L-BU

5921

Driver Door Unlock Relay Control

C201 Body Harness to I/P Harness (RHD)


Object Number: 1483282  Size: CH

Object Number: 1483279  Size: CH

Connector Part Information

  • OEM: 7283638840
  • Service: See Catalog
  • Description: 20-Way F (L-GY)

Connector Part Information

  • OEM: 7282656840
  • Service: See Catalog
  • Description: 20-Way M (GY)

Terminal Part Information

  • Pins: 2, 6, 13
  • Terminal/Tray: 7116-4120-02/9
  • Core/Insulation Crimp: See Terminal Repair Kit
  • Release Tool/Test Probe: 12094430/J-35616-42 (RD)
  • Pins: 9
  • Terminal/Tray: 7116-4101-08/9
  • Core/Insulation Crimp: See Terminal Repair Kit
  • Release Tool/Test Probe: 12094430/J-35616-2A (GY)
  • Pins: 1-5, 10, 12, 14-20
  • Terminal/Tray: 7116-4720-02/14
  • Core/Insulation Crimp: H/H
  • Release Tool/Test Probe: 15315247/J-35616-64B (L-BU)

Terminal Part Information

  • Terminal/Tray: 7114-4720-02/14
  • Core/Insulation Crimp: J/J
  • Release Tool/Test Probe: 15315247/J-35616-65B (L-BU)

C201 Body Harness to I/P Harness (RHD)

Pin

Wire Color

Circuit No.

Function

Pin

Wire Color

Circuit No.

Function

1

WH

193

Rear Defog Relay Control

1

WH

193

Rear Defog Relay Control

2

TN/BK

2500

High Speed GMLAN Serial Data Bus+

2

TN/BK

2500

High Speed GMLAN Serial Data Bus+

3

TN

2501

High Speed GMLAN Serial Data Bus-

3

TN

2501

High Speed GMLAN Serial Data Bus-

4

PU

5059

Intrusion Sensor Alarm On Signal

4

PU

5059

Intrusion Sensor Alarm On Signal

5

YE

5058

Intrusion Sensor Armed Signal

5

YE

5058

Intrusion Sensor Armed Signal

6

L-GN

1391

Driver Door Unlock Relay Control

6

L-GN

1391

Driver Door Unlock Relay Control

7-8

--

--

Not Used

7-8

--

--

Not Used

9

GY

728

Security Indicator Control

9

GY

728

Security Indicator Control

10

L-GN/BK

748

Right Rear Door Ajar Switch Signal

10

L-GN/BK

748

Right Rear Door Ajar Switch Signal

12

BN

141

Ignition 3 Voltage

12

BN

141

Ignition 3 Voltage

13

OG

300

Ignition 3 Voltage

13

OG

300

Ignition 3 Voltage

14

PU

5357

Right Tail Lamp Outage Detection Signal

14

PU

5357

Right Tail Lamp Outage Detection Signal

15

OG/BK

5285

Adjustable Pedals Relay Rearward Control

15

OG/BK

5285

Adjustable Pedals Relay Rearward Control

16

PU

5286

Adjustable Pedals Relay Forward Control

16

PU

5286

Adjustable Pedals Relay Forward Control

17

D-BU

5952

Adjustable Brake Pedal Position Sensor Signal

17

D-BU

5952

Adjustable Brake Pedal Position Sensor Signal

18

D-GN

5953

Adjustable Accelerator Pedal Position Sensor Signal (JF4)

18

D-GN

5953

Adjustable Accelerator Pedal Position Sensor Signal (JF4)

19

PU/WH

6205

Driver Position Switch High Reference (A45/JF4)

19

PU/WH

6205

Driver Position Switch High Reference (A45/JF4)

20

L-BU

5921

Driver Door Unlock Relay Control

20

L-BU

5921

Driver Door Unlock Relay Control

C202 I/P Harness to Steering Column Harness (Domestic)


Object Number: 1592558  Size: CH

Object Number: 1483278  Size: CH

Connector Part Information

  • OEM: 7283-6453-60
  • Service: See Catalog
  • Description: 16-Way F Kaizen YESC Series, Unsealed (GN)

Connector Part Information

  • OEM: 7282-6453-60
  • Service: See Catalog
  • Description: 16-Way M Kaizen (GN)

Terminal Part Information

  • Pins: 2, 4-14
  • Terminal/Tray: 7116-4100-08/9
  • Core/Insulation Crimp: E/C
  • Release Tool/Test Probe: 12094430/J-35616-2A (GY)
  • Pins: 1
  • Terminal/Tray: 7116-4101-08/9
  • Core/Insulation Crimp: E/A
  • Release Tool/Test Probe: 12094430/J-35616-2A (GY)

Terminal Part Information

  • Pins: 1-14
  • Terminal/Tray: 7114-4100-08/9
  • Core/Insulation Crimp: E/C
  • Release Tool/Test Probe: 15315247/J-35616-3 (GY)

C202 I/P Harness to Steering Column Harness (Domestic)

Pin

Wire Color

Circuit No.

Function

Pin

Wire Color

Circuit No.

Function

1

TN

28

Horn Relay Control

1

L-GN

28

Horn Relay Control

TN

28

Horn Relay Control

2

WH

103

Headlamp Switch Headlamps On Signal

2

WH

103

Headlamp Switch Headlamps On Signal

3

--

--

Not Used

3

L-BU

--

Not Used

4

BN/WH

301

Rear Park Lamps Supply Voltage

4

BN/WH

301

Rear Park Lamps Supply Voltage

5

BK/WH

351

Ground

5

BK/WH

351

Ground

6

PU

1375

Remote Radio Control Supply Voltage

6

PU

1375

Remote Radio Control Supply Voltage

7

PU/WH

1630

Steering Column Key Cylinder Lock Solenoid Control

7

PU/WH

1630

Steering Column Key Cylinder Lock Solenoid Control

8

RD/WH

2040

Battery Positive Voltage

8

RD/WH

2040

Battery Positive Voltage

9

D-GN

5060

Low Speed GMLAN Serial Data

9

D-GN

5060

Low Speed GMLAN Serial Data

10

OG/BK

5285

Adjustable Pedals Motor Rearward Control

10

OG/BK

5285

Adjustable Pedals Motor Rearward Control (A45/JF4)

11

PU

5286

Adjustable Pedals Motor Forward Control

11

PU

5286

Adjustable Pedals Motor Forward Control (A45/JF4)

12

PU

5526

TCC Brake Switch

12

PU

5526

TCC Brake Switch

13

PU/WH

6205

Driver Position Switch High Reference

13

PU

6205

Driver Position Switch High Reference (A45/JF4)

14

PU/WH

7005

LED Dimming Signal

14

PU

1491

Backlight Lamps Control

15-16

--

--

Not Used

15-16

--

--

Not Used

C202 I/P Harness to Steering Column Harness (Export)


Object Number: 1592558  Size: CH

Object Number: 1483278  Size: CH

Connector Part Information

  • OEM: 7283-6453-60
  • Service: See Catalog
  • Description: 16-Way F Kaizen YESC Series, Unsealed (GN)

Connector Part Information

  • OEM: 7282-6453-60
  • Service: See Catalog
  • Description: 16-Way M Kaizen (GN)

Terminal Part Information

  • Pins: 2-14
  • Terminal/Tray: 7116-4100-08/9
  • Core/Insulation Crimp: E/C
  • Release Tool/Test Probe: 12094430/J-35616-2A (GY)
  • Pins: 1
  • Terminal/Tray: 7116-4101-08/9
  • Core/Insulation Crimp: E/A
  • Release Tool/Test Probe: 12094430/J-35616-2A (GY)

Terminal Part Information

  • Pins: 1-14
  • Terminal/Tray: 7114-4100-08/9
  • Core/Insulation Crimp: E/C
  • Release Tool/Test Probe: 15315247/J-35616-3 (GY)

C202 I/P Harness to Steering Column Harness (Export)

Pin

Wire Color

Circuit No.

Function

Pin

Wire Color

Circuit No.

Function

1

TN

28

Horn Relay Control

1

L-GN

28

Horn Relay Control

TN

28

Horn Relay Control

2

WH

103

Headlamp Switch Headlamps On Signal

2

WH

103

Headlamp Switch Headlamps On Signal

3

L-BU

187

Rear Fog Lamp Switch Signal (T79)

3

L-BU

187

Rear Fog Lamp Switch Signal (T79)

4

BN/WH

301

Rear Park Lamps Supply Voltage

4

BN/WH

301

Rear Park Lamps Supply Voltage

5

BK/WH

351

Ground

5

BK/WH

351

Ground

6

PU

1375

Remote Radio Control Supply Voltage

6

PU

1375

Remote Radio Control Supply Voltage

7

PU/WH

1630

Steering Column Key Cylinder Lock Solenoid Control

7

PU/WH

1630

Steering Column Key Cylinder Lock Solenoid Control

8

RD/WH

2040

Battery Positive Voltage

8

RD/WH

2040

Battery Positive Voltage

9

D-GN

5060

Low Speed GMLAN Serial Data

9

D-GN

5060

Low Speed GMLAN Serial Data

10

OG/BK

5285

Adjustable Pedals Motor Rearward Control

10

OG/BK

5285

Adjustable Pedals Motor Rearward Control (A45/JF4)

11

PU

5286

Adjustable Pedals Motor Forward Control

11

PU

5286

Adjustable Pedals Motor Forward Control (A45/JF4)

12

PU

5526

TCC Brake Switch

12

PU

5526

TCC Brake Switch

13

PU/WH

6205

Driver Position Switch High Reference

13

PU

6205

Driver Position Switch High Reference (A45/JF4)

14

PU/WH

7005

LED Dimming Signal

14

PU

1491

Backlight Lamps Control

15-16

--

--

Not Used

15-16

--

--

Not Used

C203 Body Harness to I/P Harness (Domestic)


Object Number: 1540775  Size: CH

Object Number: 1283905  Size: CH

Connector Part Information

  • OEM: 7283-5623-60
  • Service: See Catalog
  • Description: 14-Way F Receptacle 1.5 2.8 (GN)

Connector Part Information

  • OEM: 7282-5623-60
  • Service: See Catalog
  • Description: 14-Way M CONN (GN)

Terminal Part Information

  • Pins: 8
  • Terminal/Tray: 7116-4110-02/9
  • Core/Insulation Crimp: E/C
  • Release Tool/Test Probe: 12094430/J-35616-4A (PU)
  • Pins: 2, 6, 9
  • Terminal/Tray: 7116-4100-08/9
  • Core/Insulation Crimp: E/C
  • Release Tool/Test Probe: 12094430/J-35616-2A (GY)
  • Pins: 2-5, 10-11
  • Terminal/Tray: 7116-4101-08/9
  • Core/Insulation Crimp: Pins: 3, 4, 5, 10, 11: E/A
  • Core/Insulation Crimp: Pins: 2: See Terminal Repair Kit
  • Release Tool/Test Probe: 12094430/J-35616-2A (GY)
  • Pins: 14
  • Terminal/Tray: 7116-4111-02/9
  • Core/Insulation Crimp: C/A
  • Release Tool/Test Probe: 12094430/J-35616-4A (PU)
  • Pins: 1, 7
  • Terminal/Tray: 7116-4112-02/9
  • Core/Insulation Crimp: C/D
  • Release Tool/Test Probe: 12094430/J-35616-35 (VT)

Terminal Part Information

  • Pins: 8
  • Terminal/Tray: 7114-4110-02/9
  • Core/Insulation Crimp: E/C
  • Release Tool/Test Probe: 12094430/J-35616-5 (PU)
  • Pins: 3-6
  • Terminal/Tray: 7114-4101-08/9
  • Core/Insulation Crimp: Pins: 5-6: E/A
  • Core/Insulation Crimp: Pins: 3-4: C/A
  • Release Tool/Test Probe: 15315247/J-35616-3 (GY)
  • Pins: 2, 9-11
  • Terminal/Tray: 7114-4100-08/9
  • Core/Insulation Crimp: E/C
  • Release Tool/Test Probe: 15315247/J-35616-3 (GY)
  • Pins: 1, 7, 14
  • Terminal/Tray: 7114-4112-02/9
  • Core/Insulation Crimp: C/D
  • Release Tool/Test Probe: 12094430/J-35616-5 (PU)

C203 Body Harness to I/P Harness (Domestic)

Pin

Wire Color

Circuit No.

Function

Pin

Wire Color

Circuit No.

Function

1

BK

450

Ground

1

BK

450

Ground

BK

450

Ground

2

L-BU

5986

Serial Data Communication Enable

2

L-BU

5986

Serial Data Communication Enable

L-BU

5986

Serial Data Communication Enable (F55)

3

OG

1732

Inadvertent Power Supply Voltage

3

OG

1732

Inadvertent Power Supply Voltage

4

RD/WH

1340

Battery Positive Voltage

4

RD/WH

1340

Battery Positive Voltage

5

D-GN

19

Right Rear Stop/Turn Lamp Supply Voltage (w/o T79)

5

D-GN

19

Right Rear Stop/Turn Lamp Supply Voltage (w/o T79)

6

L-BU

20

Stop Lamp Supply Voltage

6

L-BU

20

Stop Lamp Supply Voltage

7

BK

450

Ground

7

BK

450

Ground

8

YE

443

Accessory Voltage

8

YE

443

Accessory Voltage

9

GY

8

Instrument Panel Lamp Supply Voltage

9

GY

8

Instrument Panel Lamp Supply Voltage

10

GY/BK

1337

5-Volt Reference

10

GY/BK

1337

5-Volt Reference

GY/BK

1337

5-Volt Reference

11

L-GN/BK

1338

Yaw Rate Sensor Signal Low Reference

11

L-GN/BK

1338

Yaw Rate Sensor Signal Low Reference

L-GN/BK

1338

Yaw Rate Sensor Signal Low Reference

12-13

--

--

Not Used

12-13

--

--

Not Used

14

GY/BK

690

Courtesy Lamp Supply Voltage

14

GY/BK

690

Courtesy Lamp Supply Voltage

GY/BK

690

Courtesy Lamp Supply Voltage

C203 Body Harness to I/P Harness (Export)


Object Number: 1540775  Size: CH

Object Number: 1283905  Size: CH

Connector Part Information

  • OEM: 7283-5623-60
  • Service: See Catalog
  • Description: 14-Way F Receptacle 1.5 2.8 (GN)

Connector Part Information

  • OEM: 7282-5623-60
  • Service: See Catalog
  • Description: 14-Way M CONN (GN)

Terminal Part Information

  • Pins: 8
  • Terminal/Tray: 7116-4110-02/9
  • Core/Insulation Crimp: E/C
  • Release Tool/Test Probe: 12094430/J-35616-4A (PU)
  • Pins: 2, 6, 9
  • Terminal/Tray: 7116-4100-08/9
  • Core/Insulation Crimp: E/C
  • Release Tool/Test Probe: 12094430/J-35616-2A (GY)
  • Pins: 2-4, 10-12
  • Terminal/Tray: 7116-4101-08/9
  • Core/Insulation Crimp: Pins: 3-4, 10-12: E/A
  • Core/Insulation Crimp: Pins: 2: See Terminal Repair Kit
  • Release Tool/Test Probe: 12094430/J-35616-2A (GY)
  • Pins: 14
  • Terminal/Tray: 7116-4111-02/9
  • Core/Insulation Crimp: C/A
  • Release Tool/Test Probe: 12094430/J-35616-4A (PU)
  • Pins: 1, 7
  • Terminal/Tray: 7116-4112-02/9
  • Core/Insulation Crimp: C/D
  • Release Tool/Test Probe: 12094430/J-35616-35 (VT)
  • Pins: 5
  • Terminal/Tray: See Terminal Repair Kit
  • Core/Insulation Crimp: See Terminal Repair Kit
  • Release Tool/Test Probe: See Terminal Repair Kit

Terminal Part Information

  • Pins: 8
  • Terminal/Tray: 7114-4110-02/9
  • Core/Insulation Crimp: E/C
  • Release Tool/Test Probe: 12094430/J-35616-5 (PU)
  • Pins: 3-6
  • Terminal/Tray: 7114-4101-08/9
  • Core/Insulation Crimp: Pins: 5, 6: E/A
  • Core/Insulation Crimp: Pins: 3, 4: C/A
  • Release Tool/Test Probe: 15315247/J-35616-3 (GY)
  • Pins: 2, 9-12
  • Terminal/Tray: 7114-4100-08/9
  • Core/Insulation Crimp: E/C
  • Release Tool/Test Probe: 15315247/J-35616-3 (GY)
  • Pins: 1, 7, 14
  • Terminal/Tray: 7114-4112-02/9
  • Core/Insulation Crimp: Pins: 1, 7: C/D
  • Core/Insulation Crimp: Pins: 14: See Terminal Repair Kit
  • Release Tool/Test Probe: 12094430/J-35616-5 (PU)

C203 Body Harness to I/P Harness (Export)

Pin

Wire Color

Circuit No.

Function

Pin

Wire Color

Circuit No.

Function

1

BK

450

Ground

1

BK

450

Ground

BK

450

Ground

2

L-BU

5986

Serial Data Communication Enable

2

L-BU

5986

Serial Data Communication Enable

L-BU

5986

Serial Data Communication Enable (F55)

3

OG

1732

Inadvertent Power Supply Voltage

3

OG

1732

Inadvertent Power Supply Voltage

4

RD/WH

1340

Battery Positive Voltage

4

RD/WH

1340

Battery Positive Voltage

5

D-GN

15

Right Turn Signal Lamps Supply Voltage (T79)

5

D-GN

15

Right Turn Signal Lamps Supply Voltage (T79)

6

L-BU

20

Stop Lamp Supply Voltage (T79)

6

L-BU

20

Stop Lamp Supply Voltage (T79)

7

BK

450

Ground

7

BK

450

Ground

8

YE

443

Accessory Voltage

8

YE

443

Accessory Voltage

9

GY

8

Instrument Panel Lamp Supply Voltage

9

GY

8

Instrument Panel Lamp Supply Voltage

10

GY/BK

1337

5-Volt Reference

10

GY/BK

1337

5-Volt Reference

GY/BK

1337

5-Volt Reference

11

L-GN/BK

1338

Yaw Rate Sensor Signal Low Reference

11

L-GN/BK

1338

Yaw Rate Sensor Signal Low Reference

L-GN/BK

1338

Yaw Rate Sensor Signal Low Reference

12

PK

1439

Ignition 1 Voltage (TR7)

12

PK

1439

Ignition 1 Voltage (TR7)

PK

1439

Ignition 1 Voltage (UTA/UTB/YTC)

13

--

--

Not Used

13

--

--

Not Used

14

GY/BK

690

Courtesy Lamp Supply Voltage

14

GY/BK

690

Courtesy Lamp Supply Voltage

GY/BK

690

Courtesy Lamp Supply Voltage

C203 Body Harness to I/P Harness (RHD)


Object Number: 1540775  Size: CH

Object Number: 1283905  Size: CH

Connector Part Information

  • OEM: 7283562360
  • Service: See Catalog
  • Description: 14-Way F (GN)

Connector Part Information

  • OEM: 7282562360
  • Service: See Catalog
  • Description: 14-Way M Hybrid Series (GY)

Terminal Part Information

  • Pins: 8
  • Terminal/Tray: 7116-4110-02/9
  • Core/Insulation Crimp: E/C
  • Release Tool/Test Probe: 12094430/J-35616-4A (PU)
  • Pins: 2, 4, 6-7, 9
  • Terminal/Tray: 7116-4100-08/9
  • Core/Insulation Crimp: E/C
  • Release Tool/Test Probe: 12094430/J-35616-2A (GY)
  • Pins: 2-3, 10-13
  • Terminal/Tray: 7116-4101-08/9
  • Core/Insulation Crimp: Pins: 3, 10-13: E/A
  • Core/Insulation Crimp: Pins: 2, 10-11: See Terminal Repair Kit
  • Release Tool/Test Probe: 12094430/J-35616-2A (GY)
  • Pins: 14
  • Terminal/Tray: 7116-4111-02/9
  • Core/Insulation Crimp: C/A
  • Release Tool/Test Probe: 12094430/J-35616-4A (PU)
  • Pins: 1
  • Terminal/Tray: 7116-4122-02/10
  • Core/Insulation Crimp: See Terminal Repair Kit
  • Release Tool/Test Probe: 12094430/J-35616-42 (RD)
  • Pins: 5
  • Terminal/Tray: See Terminal Repair Kit
  • Core/Insulation Crimp: See Terminal Repair Kit
  • Release Tool/Test Probe: See Terminal Repair Kit

Terminal Part Information

  • Pins: 7
  • Terminal/Tray: 7114-4111-02/9
  • Core/Insulation Crimp: See Terminal Repair Kit
  • Release Tool/Test Probe: 12094430/J-35616-5 (PU)
  • Pins: 8
  • Terminal/Tray: 7114-4110-02/9
  • Core/Insulation Crimp: E/C
  • Release Tool/Test Probe: 12094430/J-35616-5 (PU)
  • Pins: 3-6, 9, 12-13
  • Terminal/Tray: 7114-4101-08/9
  • Core/Insulation Crimp: Pins: 5-6: E/A
  • Core/Insulation Crimp: Pins: 3, 12-13: C/A
  • Core/Insulation Crimp: Pins: 4, 9: See Terminal Repair Kit
  • Release Tool/Test Probe: 15315247/J-35616-3 (GY)
  • Pins: 2, 10-11
  • Terminal/Tray: 7114-4100-08/9
  • Core/Insulation Crimp: E/C
  • Release Tool/Test Probe: 15315247/J-35616-3 (GY)
  • Pins: 1, 14
  • Terminal/Tray: 7114-4112-02/9
  • Core/Insulation Crimp: See Terminal Repair Kit
  • Release Tool/Test Probe: 12094430/J-35616-5 (PU)
  • Pins: 14
  • Terminal/Tray: 7114-4720-02/14
  • Core/Insulation Crimp: See Terminal Repair Kit
  • Release Tool/Test Probe: 15315247/J-35616-65B (L-BU)

C203 Body Harness to I/P Harness (RHD)

Pin

Wire Color

Circuit No.

Function

Pin

Wire Color

Circuit No.

Function

1

BK/WH

451

Ground

1

BK/WH

451

Ground

BK/WH

451

Ground

2

L-BU

5986

Serial Data Communication Enable

2

L-BU

5986

Serial Data Communication Enable

L-BU

5986

Serial Data Communication Enable (w/F55)

3

OG

1732

Inadvertent Power Supply Voltage

3

OG

1732

Inadvertent Power Supply Voltage

4

TN

6207

Memory Sensor High Reference (w/A45 and JF4)

4

TN

6207

Memory Sensor High Reference (w/A45 and JF4)

TN

6207

Memory Sensor High Reference (w/A45 and JF4)

5

D-GN

15

Right Turn Signal Lamps Supply Voltage (w/T79)

5

D-GN

15

Right Turn Signal Lamps Supply Voltage (w/T79)

6

L-BU

20

Stop Lamp Supply Voltage (w/T79)

6

L-BU

20

Stop Lamp Supply Voltage

7

GY

6206

Memory Sensor Low Reference (w/A45 and JF4)

7

GY

6206

Memory Sensor Low Reference (w/A45 and JF4)

GY

6206

Memory Sensor Low Reference (w/A45 and JF4)

8

YE

443

Accessory Voltage

8

YE

443

Accessory Voltage

9

GY

8

Instrument Panel Lamp Supply Voltage

9

GY

8

Instrument Panel Lamp Supply Voltage

10

GY/BK

1337

5-Volt Reference

10

GY/BK

1337

5-Volt Reference

GY/BK

1337

5-Volt Reference

11

L-GN/BK

1338

Yaw Rate Sensor Signal Low Reference

11

L-GN/BK

1338

Yaw Rate Sensor Signal Low Reference

L-GN/BK

1338

Yaw Rate Sensor Signal Low Reference

12

YE

5129

Adjustable Pedals Relay Rearward Control (w/A45 and JF4)

12

YE

5129

Adjustable Pedals Relay Rearward Control (w/A45 and JF4)

13

PU

5130

Adjustable Pedals Relay Forward Control (w/A45 and JF4)

13

PU

5130

Adjustable Pedals Relay Forward Control (w/A45 and JF4)

14

GY/BK

690

Courtesy Lamp Supply Voltage

14

GY/BK

690

Courtesy Lamp Supply Voltage

GY/BK

690

Courtesy Lamp Supply Voltage

C204 I/P Harness to Sun Load Sensor Harness


Object Number: 130637  Size: CH

Object Number: 40399  Size: CH

Connector Part Information

  • OEM: 12064760
  • Service: 12085208
  • Description: 4-Way F Metri-Pack 150 Series (BK)

Connector Part Information

  • OEM: 12065658
  • Service: 12085206
  • Description: 4-Way M Metri-Pack 150 Series (BK)

Terminal Part Information

  • Terminal/Tray: See Terminal Repair Kit
  • Core/Insulation Crimp: See Terminal Repair Kit
  • Release Tool/Test Probe: See Terminal Repair Kit

Terminal Part Information

  • Terminal/Tray: 12047581/2
  • Core/Insulation Crimp: E/C
  • Release Tool/Test Probe: 12094429/J-35616-3 (GY)

C204 I/P Harness to Sun Load Sensor Harness

Pin

Wire Color

Circuit No.

Function

Pin

Wire Color

Circuit No.

Function

A

L-BU/BK

590

Driver Sunload Sensor Signal

A

L-BU/BK

590

Driver Sunload Sensor Signal

B

GY

1548

Passenger Sunload Sensor Signal

B

GY

1548

Passenger Sunload Sensor Signal

C

YE

61

Low Reference

C

YE

61

Low Reference

D

L-GN/BK

1137

DRL Ambient Light Sensor Signal

D

L-GN/BK

1137

DRL Ambient Light Sensor Signal

C205 Body Harness to I/P Harness (Domestic)


Object Number: 1483276  Size: CH

Object Number: 1483278  Size: CH

Connector Part Information

  • OEM: 7283-6456-90
  • Service: 88952778
  • Description: 16-Way F Kaizen YESC Series, Unsealed (BU)

Connector Part Information

  • OEM: 7282-6456-90
  • Service: See Catalog
  • Description: 16-Way M YESC Series (BU)

Terminal Part Information

  • Pins: 1, 9-13, 15-16
  • Terminal/Tray: 7116-4100-08/9
  • Core/Insulation Crimp: E/C
  • Release Tool/Test Probe: 12094430/J-35616-2A (GY)
  • Pins: 6, 14
  • Terminal/Tray: 7116-4101-08/9
  • Core/Insulation Crimp: E/A
  • Release Tool/Test Probe: 12094430/J-35616-2A (GY)

Terminal Part Information

  • Pins: 6, 14
  • Terminal/Tray: 7114-4101-08/9
  • Core/Insulation Crimp: Pins: 6: E/A
  • Core/Insulation Crimp: Pins: 14: C/A
  • Release Tool/Test Probe: 15315247/J-35616-3 (GY)
  • Pins: 1, 9-10, 12-13, 15-16
  • Terminal/Tray: 7114-4100-08/9
  • Core/Insulation Crimp: E/C
  • Release Tool/Test Probe: 15315247/J-35616-3 (GY)

C205 Body Harness to I/P Harness (Domestic)

Pin

Wire Color

Circuit No.

Function

Pin

Wire Color

Circuit No.

Function

1

OG

6978

Amplifier Control (UQA)

1

OG

6978

Amplifier Control (UQA)

2-5

--

--

Not Used

2-5

--

--

Not Used

6

WH

7066

Entertainment Remote Enable Signal

6

WH

7066

Entertainment Remote Enable Signal

WH

7066

Entertainment Remote Enable Signal (UQA/U42)

WH

7066

Entertainment Remote Enable Signal (UQA/U42)

7-8

--

--

Not Used

7-8

--

--

Not Used

9

BN/WH

367

Remote Radio Left Audio Signal (U2K)

9

BN/WH

367

Remote Radio Left Audio Signal (U2K)

10

D-GN/WH

368

Remote Radio Right Audio Signal (U2K)

10

D-GN/WH

368

Remote Radio Right Audio Signal (U2K)

11

BARE

5345

Drain Wire (U2K)

11

BARE

5345

Drain Wire (U2K)

12

TN/WH

372

Remote Radio Audio Output (-) (U2K)

12

TN/WH

372

Remote Radio Audio Output (-) (U2K)

13

GY

388

Remote Radio Right Audio Signal (U2K)

13

GY

388

Remote Radio Right Audio Signal (U2K)

14

BK/WH

851

Ground

14

BK/WH

851

Ground

15

L-BU

1960

Front Center Speaker Output (-) (UQA/UQS)

15

L-BU

1960

Front Center Speaker Output (-) (UQA/UQS)

16

YE

1860

Front Center Speaker Output (+) (UQA/UQS)

16

YE

1860

Front Center Speaker Output (+) (UQA/UQS)

C205 Body Harness to I/P Harness (Export)


Object Number: 1483276  Size: CH

Object Number: 1483278  Size: CH

Connector Part Information

  • OEM: 7283-6456-90
  • Service: 88952778
  • Description: 16-Way F Kaizen YESC Series, Unsealed (BU)

Connector Part Information

  • OEM: 7282-6456-90
  • Service: See Catalog
  • Description: 16-Way M YESC Series (BU)

Terminal Part Information

  • Pins: 1, 7-13, 15-16
  • Terminal/Tray: 7116-4100-08/9
  • Core/Insulation Crimp: E/C
  • Release Tool/Test Probe: 12094430/J-35616-2A (GY)
  • Pins: 6, 14
  • Terminal/Tray: 7116-4101-08/9
  • Core/Insulation Crimp: E/A
  • Release Tool/Test Probe: 12094430/J-35616-2A (GY)

Terminal Part Information

  • Pins: 6, 14
  • Terminal/Tray: 7114-4101-08/9
  • Core/Insulation Crimp: Pins: 6: E/A
  • Core/Insulation Crimp: Pins: 14: C/A
  • Release Tool/Test Probe: 15315247/J-35616-3 (GY)
  • Pins: 1, 9-13, 15-16
  • Terminal/Tray: 7114-4100-08/9
  • Core/Insulation Crimp: E/C
  • Release Tool/Test Probe: 15315247/J-35616-3 (GY)

C205 Body Harness to I/P Harness (Export)

Pin

Wire Color

Circuit No.

Function

Pin

Wire Color

Circuit No.

Function

1

OG

6978

Amplifier Control

1

OG

6978

Amplifier Control

2-5

--

--

Not Used

2-5

--

--

Not Used

6

WH

7066

Entertainment Remote Enable Signal

6

WH

7066

Entertainment Remote Enable Signal

WH

7066

Entertainment Remote Enable Signal (UQA/U42)

WH

7066

Entertainment Remote Enable Signal (UQA/U42)

7

GY

6208

Coaxial Camera Signal (U2X/U2Y)

7

GY

6208

Coaxial Camera Signal (U2X/U2Y)

8

BK

6209

Coaxial Camera Drain Wire (U2X/U2Y)

8

BK

6209

Coaxial Camera Drain Wire (U2X/U2Y)

9

BN/WH

367

Remote Radio Left Audio Signal (U2X/U2Y)

9

BN/WH

367

Remote Radio Left Audio Signal (U2X/U2Y)

10

D-GN/WH

368

Remote Radio Right Audio Signal (U2X/U2Y)

10

D-GN/WH

368

Remote Radio Right Audio Signal (U2X/U2Y)

11

BARE

5345

Drain Wire (U2X/U2Y)

11

BARE

5345

Drain Wire (U2X/U2Y)

12

TN/WH

372

Remote Radio Audio Output (-) (U2X/U2Y)

12

TN/WH

372

Remote Radio Audio Output (-) (U2X/U2Y)

13

GY

388

Remote Radio Right Audio Signal (U2X/U2Y)

13

GY

388

Remote Radio Right Audio Signal (U2X/U2Y)

14

BK/WH

851

Ground

14

BK/WH

851

Ground

15

L-BU

1960

Front Center Speaker Output (-) (UQA/UQS)

15

L-BU

1960

Front Center Speaker Output (-) (UQA/UQS)

16

YE

1860

Front Center Speaker Output (+) (UQA/UQS)

16

YE

1860

Front Center Speaker Output (+) (UQA/UQS)

C206 Body Harness to I/P Harness (Domestic)


Object Number: 1483282  Size: CH

Object Number: 1483279  Size: CH

Connector Part Information

  • OEM: 7283-6388-40
  • Service: See Catalog
  • Description: 20-Way F CONN (L-GY)

Connector Part Information

  • OEM: 7282-6568-40
  • Service: See Catalog
  • Description: 20-Way M CONN (GY)

Terminal Part Information

  • Pins: 1-4, 6, 9-10, 12-19
  • Terminal/Tray: 7116-4720-02/14
  • Core/Insulation Crimp: Pins: 1-4: J/J
  • Core/Insulation Crimp: Pins: 6, 9-10, 12-19: H/H
  • Release Tool/Test Probe: 15315247/J-35616-64B (L-BU)

Terminal Part Information

  • Pins: 1-4
  • Terminal/Tray: 7114-4721-02/14
  • Core/Insulation Crimp: See Terminal Repair Kit
  • Release Tool/Test Probe: 15315247/J-35616-65B (L-BU)
  • Pins: 6, 9-10, 12-19
  • Terminal/Tray: 7114-4720-02/14
  • Core/Insulation Crimp: J/J
  • Release Tool/Test Probe: 15315247/J-35616-65B (L-BU)

C206 Body Harness to I/P Harness (Domestic)

Pin

Wire Color

Circuit No.

Function

Pin

Wire Color

Circuit No.

Function

1

YE

354

Discriminating Sensor - Signal

1

YE

354

Discriminating Sensor - Signal

2

TN/OG

5045

Discriminating Sensor - Low Reference

2

TN/OG

5045

Discriminating Sensor - Low Reference

3

D-GN

1409

Discriminating Sensor - Right - Signal

3

D-GN

1409

Discriminating Sensor - Right - Signal

4

GY

5600

Discriminating Sensor - Low Reference

4

GY

5600

Discriminating Sensor - Low Reference

5

--

--

Not Used

5

--

--

Not Used

6

D-BU

45

Park Lamp Supply Voltage

6

D-BU

45

Park Lamp Supply Voltage

7-8

--

--

Not Used

7-8

--

--

Not Used

9

L-BU/BK

747

Left Rear Door Ajar Switch Signal

9

L-BU/BK

747

Left Rear Door Ajar Switch Signal

10

D-BU/WH

1179

Left Rear Door Open Switch Signal

10

D-BU/WH

1179

Left Rear Door Open Switch Signal

11

--

--

Not Used

11

--

--

Not Used

12

D-GN

5060

Low Speed GMLAN Serial Data

12

D-GN

5060

Low Speed GMLAN Serial Data

13

OG/BK

5285

Adjustable Pedals Motor Rearward Control (A45/JF4)

13

OG/BK

5285

Adjustable Pedals Motor Rearward Control (A45/JF4)

14

PU

5286

Adjustable Pedals Motor Forward Control (A45/JF4)

14

PU

5286

Adjustable Pedals Motor Forward Control (A45/JF4)

15

YE

5356

Left Tail Lamp Outage Detection Signal (w/o T79)

15

YE

5356

Left Tail Lamp Outage Detection Signal (w/o T79)

16

D-BU

5952

Adjustable Brake Pedal Position Sensor Signal (A45/JF4)

16

D-BU

5952

Adjustable Brake Pedal Position Sensor Signal (A45/JF4)

17

D-GN

5953

Adjustable Accelerator Pedal Position Sensor Signal (JF4) (A45/JF4)

17

D-GN

5953

Adjustable Accelerator Pedal Position Sensor Signal (JF4) (A45/JF4)

18

PU/WH

6205

Driver Position Switch High Reference (A45/JF4)

18

PU/WH

6205

Driver Position Switch High Reference (A45/JF4)

19

PU/WH

7005

LED Dimming Signal

19

PU/WH

7005

LED Dimming Signal

20

--

--

Not Used

20

--

--

Not Used

C206 Body Harness to I/P Harness (Export)


Object Number: 1483282  Size: CH

Object Number: 1483279  Size: CH

Connector Part Information

  • OEM: 7283-6388-40
  • Service: See Catalog
  • Description: 20-Way F CONN (L-GY)

Connector Part Information

  • OEM: 7282-6568-40
  • Service: See Catalog
  • Description: 20-Way M CONN (GY)

Terminal Part Information

  • Pins: 1-19
  • Terminal/Tray: 7116-4720-02/14
  • Core/Insulation Crimp: Pins: 1-4: J/J
  • Core/Insulation Crimp: Pins: 5-19: H/H
  • Release Tool/Test Probe: 15315247/J-35616-64B (L-BU)

Terminal Part Information

  • Pins: 1-4
  • Terminal/Tray: 7114-4721-02/14
  • Core/Insulation Crimp: See Terminal Repair Kit
  • Release Tool/Test Probe: 15315247/J-35616-65B (L-BU)
  • Pins: 5-19
  • Terminal/Tray: 7114-4720-02/14
  • Core/Insulation Crimp: J/J
  • Release Tool/Test Probe: 15315247/J-35616-65B (L-BU)

C206 Body Harness to I/P Harness (Export)

Pin

Wire Color

Circuit No.

Function

Pin

Wire Color

Circuit No.

Function

1

YE

354

Discriminating Sensor - Signal

1

YE

354

Discriminating Sensor - Signal

2

TN/OG

5045

Discriminating Sensor - Low Reference

2

TN/OG

5045

Discriminating Sensor - Low Reference

3

D-GN

1409

Discriminating Sensor - Right - Signal

3

D-GN

1409

Discriminating Sensor - Right - Signal

4

GY

5600

Discriminating Sensor - Low Reference

4

GY

5600

Discriminating Sensor - Low Reference

5

GY

868

Headlamp Leveling Switch Bit 1 Signal (TR7)

5

GY

868

Headlamp Leveling Switch Bit 1 Signal (TR7)

6

D-BU

45

Park Lamp Supply Voltage

6

D-BU

45

Park Lamp Supply Voltage

7

WH

1080

Park Lamp Relay Control (T79)

7

WH

1080

Park Lamp Relay Control (T79)

8

--

--

Not Used

8

--

--

Not Used

9

L-BU/BK

747

Left Rear Door Ajar Switch Signal

9

L-BU/BK

747

Left Rear Door Ajar Switch Signal

10

D-BU/WH

1179

Left Rear Door Open Switch Signal

10

D-BU/WH

1179

Left Rear Door Open Switch Signal

11

YE

1977

Rear Fog Lamp Relay Control (T79)

11

YE

1977

Rear Fog Lamp Relay Control (T79)

12

D-GN

5060

Low Speed GMLAN Serial Data

12

D-GN

5060

Low Speed GMLAN Serial Data

13

OG/BK

5285

Adjustable Pedals Motor Rearward Control (A45/JF4)

13

OG/BK

5285

Adjustable Pedals Motor Rearward Control (A45/JF4)

14

PU

5286

Adjustable Pedals Motor Forward Control (A45/JF4)

14

PU

5286

Adjustable Pedals Motor Forward Control (A45/JF4)

15

YE

5356

Left Tail Lamp Outage Detection Signal

15

YE

5356

Left Tail Lamp Outage Detection Signal

16

D-BU

5952

Adjustable Brake Pedal Position Sensor Signal (A45/JF4)

16

D-BU

5952

Adjustable Brake Pedal Position Sensor Signal (A45/JF4)

17

D-GN

5953

Adjustable Accelerator Pedal Position Sensor Signal (A45/JF4)

17

D-GN

5953

Adjustable Accelerator Pedal Position Sensor Signal (A45/JF4)

18

PU/WH

6205

Driver Position Switch High Reference (A45/JF4)

18

PU/WH

6205

Driver Position Switch High Reference (A45/JF4)

19

PU/WH

7005

LED Dimming Signal

19

PU/WH

7005

LED Dimming Signal

20

--

--

Not Used

20

--

--

Not Used

C206 Body Harness to I/P Harness (RHD)


Object Number: 1483282  Size: CH

Object Number: 1483279  Size: CH

Connector Part Information

  • OEM: 7283-6388-40
  • Service: See Catalog
  • Description: 20-Way F (L-GY)

Connector Part Information

  • OEM: 7282-6568-40
  • Service: See Catalog
  • Description: 20-Way M (GY)

Terminal Part Information

  • Pins: 1-7, 9-12, 15, 19
  • Terminal/Tray: 7116-4720-02/14
  • Core/Insulation Crimp: Pins: 5-7, 9-12, 15, 19: H/H
  • Core/Insulation Crimp: Pins: 1-4: J/J
  • Release Tool/Test Probe: 15315247/J-35616-64B (L-BU)

Terminal Part Information

  • Pins: 5-7, 9-12, 15, 19
  • Terminal/Tray: 7114-4720-02/14
  • Core/Insulation Crimp: J/J
  • Release Tool/Test Probe: 15315247/J-35616-65B (L-BU)
  • Pins: 1-4
  • Terminal/Tray: 7114-4721-02/14
  • Core/Insulation Crimp: See Terminal Repair Kit
  • Release Tool/Test Probe: 15315247/J-35616-65B (L-BU)

C206 Body Harness to I/P Harness (RHD)

Pin

Wire Color

Circuit No.

Function

Pin

Wire Color

Circuit No.

Function

1

YE

354

Discriminating Sensor - Signal

1

YE

354

Discriminating Sensor - Signal

2

TN/OG

5045

Discriminating Sensor - Low Reference

2

TN/OG

5045

Discriminating Sensor - Low Reference

3

D-GN

1409

Discriminating Sensor - Right - Signal

3

D-GN

1409

Discriminating Sensor - Right - Signal

4

GY

5600

Discriminating Sensor - Low Reference

4

GY

5600

Discriminating Sensor - Low Reference

5

GY

868

Headlamp Leveling Switch Bit 1 Signal (TR7)

5

GY

868

Headlamp Leveling Switch Bit 1 Signal (TR7)

6

D-BU

45

Park Lamp Supply Voltage

6

D-BU

45

Park Lamp Supply Voltage

7

WH

1080

Park Lamp Relay Control (T79)

7

WH

1080

Park Lamp Relay Control (T79)

8

--

--

Not Used

8

--

--

Not Used

9

L-BU/BK

747

Left Rear Door Ajar Switch Signal

9

L-BU/BK

747

Left Rear Door Ajar Switch Signal

10

D-BU/WH

1179

Left Rear Door Open Switch Signal

10

D-BU/WH

1179

Left Rear Door Open Switch Signal

11

YE

1977

Rear Fog Lamp Relay Control (T79)

11

YE

1977

Rear Fog Lamp Relay Control (T79)

12

D-GN

5060

Low Speed GMLAN Serial Data

12

D-GN

5060

Low Speed GMLAN Serial Data

13-14

--

--

Not Used

13-14

--

--

Not Used

15

YE

5356

Left Tail Lamp Outage Detection Signal

15

YE

5356

Left Tail Lamp Outage Detection Signal

16-18

--

--

Not Used

16-18

--

--

Not Used

19

PU/WH

7005

LED Dimming Signal

19

PU/WH

7005

LED Dimming Signal

20

--

--

Not Used

20

--

--

Not Used

C207 Body to I/P Harness (Domestic)


Object Number: 1540775  Size: CH

Object Number: 1283905  Size: CH

Connector Part Information

  • OEM: 7283-5623-60
  • Service: See Catalog
  • Description: 14-Way F Receptacle 1.5 2.8 (GN)

Connector Part Information

  • OEM: 7282-5623-60
  • Service: See Catalog
  • Description: 14-Way M CONN (GN)

Terminal Part Information

  • Pins: 2-3, 5, 10, 13
  • Terminal/Tray: 7116-4100-08/9
  • Core/Insulation Crimp: E/C
  • Release Tool/Test Probe: 12094430/J-35616-2A (GY)
  • Pins: 6, 9, 11-12
  • Terminal/Tray: 7116-4101-08/9
  • Core/Insulation Crimp: E/A
  • Release Tool/Test Probe: 12094430/J-35616-2A (GY)
  • Pins: 1, 7-8, 14
  • Terminal/Tray: 7116-4111-02/9
  • Core/Insulation Crimp: Pins: 1, 8, 14: C/A
  • Core/Insulation Crimp: Pins: 7: E/A
  • Release Tool/Test Probe: 12094430/J-35616-4A (PU)

Terminal Part Information

  • Pins: 1, 7-8
  • Terminal/Tray: 7114-4111-02/9
  • Core/Insulation Crimp: Pins: 7: E/A
  • Core/Insulation Crimp: Pins: 1, 8: C/A
  • Release Tool/Test Probe: 12094430/J-35616-5 (PU)
  • Pins: 2, 6, 9-13
  • Terminal/Tray: 7114-4101-08/9
  • Core/Insulation Crimp: Pins: 2, 6, 9-10, 13: E/A
  • Core/Insulation Crimp: Pins: 11-12: C/A
  • Release Tool/Test Probe: 15315247/J-35616-3 (GY)
  • Pins: 3, 5
  • Terminal/Tray: 7114-4100-08/9
  • Core/Insulation Crimp: E/C
  • Release Tool/Test Probe: 15315247/J-35616-3 (GY)
  • Pins: 14
  • Terminal/Tray: 7114-4112-02/9
  • Core/Insulation Crimp: C/D
  • Release Tool/Test Probe: 12094430/J-35616-5 (PU)

C207 Body to I/P Harness (Domestic)

Pin

Wire Color

Circuit No.

Function

Pin

Wire Color

Circuit No.

Function

1

BK/WH

351

Ground

1

BK/WH

351

Ground

2

TN

6207

Memory Sensor High Reference (A45/JF4)

2

TN

6207

Memory Sensor High Reference (A45/JF4)

TN

6207

Memory Sensor High Reference (A45/JF4)

3

PU

709

Left Park Lamp Supply Voltage

3

PU

709

Left Park Lamp Supply Voltage

4

--

--

Not Used

4

--

--

Not Used

5

BN/WH

309

Right Park Lamp Supply Voltage (w/o T79)

5

BN/WH

309

Right Park Lamp Supply Voltage (w/o T79)

6

L-GN

2270

Rear Window Washer Relay Control

6

L-GN

2270

Rear Window Washer Relay Control

7

BK

350

Ground

7

BK

350

Ground

8

L-GN

24

Backup Lamp Supply Voltage

8

L-GN

24

Backup Lamp Supply Voltage

9

YE

18

Left Rear Stop/Turn Lamp Supply Voltage (w/o T79)

9

YE

18

Left Rear Stop/Turn Lamp Supply Voltage (w/o T79)

10

PK

1739

Ignition 1 Voltage

10

PK

1739

Ignition 1 Voltage

PK

1739

Ignition 1 Voltage

11

YE

5129

Adjustable Pedals Relay Rearward Control (A45/JF4)

11

YE

5129

Adjustable Pedals Relay Rearward Control (A45/JF4)

12

PU

5130

Adjustable Pedals Relay Forward Control (A45/JF4)

12

PU

5130

Adjustable Pedals Relay Forward Control (A45/JF4)

13

GY

6206

Memory Sensor Low Reference (A45/JF4)

13

GY

6206

Memory Sensor Low Reference (A45/JF4)

GY

6206

Memory Sensor Low Reference (A45/JF4)

14

YE

443

Accessory Voltage

14

YE

443

Accessory Voltage

C207 Body to I/P Harness (Export)


Object Number: 1540775  Size: CH

Object Number: 1283905  Size: CH

Connector Part Information

  • OEM: 7283-5623-60
  • Service: See Catalog
  • Description: 14-Way F Receptacle 1.5 2.8 (GN)

Connector Part Information

  • OEM: 7282-5623-60
  • Service: See Catalog
  • Description: 14-Way M CONN (GN)

Terminal Part Information

  • Pins: 2-5, 10, 13
  • Terminal/Tray: 7116-4100-08/9
  • Core/Insulation Crimp: E/C
  • Release Tool/Test Probe: 12094430/J-35616-2A (GY)
  • Pins: 6-7, 11-12
  • Terminal/Tray: 7116-4101-08/9
  • Core/Insulation Crimp: E/A
  • Release Tool/Test Probe: 12094430/J-35616-2A (GY)
  • Pins: 8, 14
  • Terminal/Tray: 7116-4111-02/9
  • Core/Insulation Crimp: C/A
  • Release Tool/Test Probe: 12094430/J-35616-4A (PU)
  • Pins: 1
  • Terminal/Tray: 7116-4122-02/10
  • Core/Insulation Crimp: See Terminal Repair Kit
  • Release Tool/Test Probe: 12094430/J-35616-42 (RD)
  • Pins: 9
  • Terminal/Tray: See Terminal Repair Kit
  • Core/Insulation Crimp: See Terminal Repair Kit
  • Release Tool/Test Probe: See Terminal Repair Kit

Terminal Part Information

  • Pins: 1, 7-8
  • Terminal/Tray: 7114-4111-02/9
  • Core/Insulation Crimp: Pins: 7: E/A
  • Core/Insulation Crimp: Pins: 1, 8: C/A
  • Release Tool/Test Probe: 12094430/J-35616-5 (PU)
  • Pins: 2, 6, 9, 10-13
  • Terminal/Tray: 7114-4101-08/9
  • Core/Insulation Crimp: Pins: 2, 6, 9-10, 13: E/A
  • Core/Insulation Crimp: Pins: 11-12: C/A
  • Release Tool/Test Probe: 15315247/J-35616-3 (GY)
  • Pins: 3, 4, 5
  • Terminal/Tray: 7114-4100-08/9
  • Core/Insulation Crimp: E/C
  • Release Tool/Test Probe: 15315247/J-35616-3 (GY)
  • Pins: 14
  • Terminal/Tray: 7114-4112-02/9
  • Core/Insulation Crimp: C/D
  • Release Tool/Test Probe: 12094430/J-35616-5 (PU)

C207 Body to I/P Harness (Export)

Pin

Wire Color

Circuit No.

Function

Pin

Wire Color

Circuit No.

Function

1

BK/WH

351

Ground

1

BK/WH

351

Ground

2

TN

6207

Memory Sensor High Reference (A45/JF4)

2

TN

6207

Memory Sensor High Reference (A45/JF4)

2

TN

6207

Memory Sensor High Reference (A45/JF4)

3

PU

709

Left Park Lamp Supply Voltage

3

PU

709

Left Park Lamp Supply Voltage

4

BN

2209

Rear Park Lamps Supply Voltage (T79)

4

BN

2209

Rear Park Lamps Supply Voltage (T79)

5

BN/WH

309

Right Park Lamp Supply Voltage (T79)

5

BN/WH

309

Right Park Lamp Supply Voltage

6

L-GN

2270

Rear Window Washer Relay Control

6

L-GN

2270

Rear Window Washer Relay Control

7

BK

350

Ground

7

BK

350

Ground

8

L-GN

24

Backup Lamp Supply Voltage

8

L-GN

24

Backup Lamp Supply Voltage

9

YE

14

Left Turn Signal Lamps Supply Voltage (T79)

9

L-BU

14

Left Turn Signal Lamps Supply Voltage (T79)

10

PK

1739

Ignition 1 Voltage

10

PK

1739

Ignition 1 Voltage

PK

1739

Ignition 1 Voltage

11

YE

5129

Adjustable Pedals Relay Rearward Control (A45/JF4)

11

YE

5129

Adjustable Pedals Relay Rearward Control (A45/JF4)

12

PU

5130

Adjustable Pedals Relay Forward Control (A45/JF4)

12

PU

5130

Adjustable Pedals Relay Forward Control (A45/JF4)

13

GY

6206

Memory Sensor Low Reference (A45/JF4)

13

GY

6206

Memory Sensor Low Reference (A45/JF4)

GY

6206

Memory Sensor Low Reference (A45/JF4)

14

YE

443

Accessory Voltage

14

YE

443

Accessory Voltage

C207 Body to I/P Harness (RHD)


Object Number: 1540775  Size: CH

Object Number: 1283905  Size: CH

Connector Part Information

  • OEM: 7283-5623-60
  • Service: See Catalog
  • Description: 14-Way F Receptacle 1.5 2.8 (GN)

Connector Part Information

  • OEM: 7282-5623-60
  • Service: See Catalog
  • Description: 14-Way M Hybrid Series (GN)

Terminal Part Information

  • Pins: 3-4, 10
  • Terminal/Tray: 7116-4100-08/9
  • Core/Insulation Crimp: E/C
  • Release Tool/Test Probe: 12094430/J-35616-2A (GY)
  • Pins: 2, 6, 11-12
  • Terminal/Tray: 7116-4101-08/9
  • Core/Insulation Crimp: Pins: 2, 6, 11-12: E/A
  • Core/Insulation Crimp: Pins: 11: See Terminal Repair Kit
  • Release Tool/Test Probe: 12094430/J-35616-2A (GY)
  • Pins: 8, 14
  • Terminal/Tray: 7116-4111-02/9
  • Core/Insulation Crimp: C/A
  • Release Tool/Test Probe: 12094430/J-35616-4A (PU)
  • Pins: 1, 7
  • Terminal/Tray: 7116-4112-02/9
  • Core/Insulation Crimp: C/D
  • Release Tool/Test Probe: 12094430/J-35616-35 (VT)
  • Pins: 5, 9
  • Terminal/Tray: See Terminal Repair Kit
  • Core/Insulation Crimp: See Terminal Repair Kit
  • Release Tool/Test Probe: See Terminal Repair Kit

Terminal Part Information

  • Pins: 8
  • Terminal/Tray: 7114-4111-02/9
  • Core/Insulation Crimp: C/A
  • Release Tool/Test Probe: 12094430/J-35616-5 (PU)
  • Pins: 2, 6, 9-10, 12
  • Terminal/Tray: 7114-4101-08/9
  • Core/Insulation Crimp: Pins: 6, 9, 12: E/A
  • Core/Insulation Crimp: Pins: 2: C/A
  • Core/Insulation Crimp: Pins: 10: See Terminal Repair Kit
  • Release Tool/Test Probe: 15315247/J-35616-3 (GY)
  • Pins: 3-5, 10-11
  • Terminal/Tray: 7114-4100-08/9
  • Core/Insulation Crimp: E/C
  • Release Tool/Test Probe: 15315247/J-35616-3 (GY)
  • Pins: 7, 14, 1
  • Terminal/Tray: 7114-4112-02/9
  • Core/Insulation Crimp: Pins: 7, 14: C/D
  • Core/Insulation Crimp: Pins: 1: See Terminal Repair Kit
  • Release Tool/Test Probe: 12094430/J-35616-5 (PU)

C207 Body to I/P Harness (RHD)

Pin

Wire Color

Circuit No.

Function

Pin

Wire Color

Circuit No.

Function

1

BK

350

Ground

1

BK

450

Ground

BK

450

Ground

2

RD/WH

1340

Battery Positive Voltage

2

RD/WH

1340

Battery Positive Voltage

3

PU

709

Left Park Lamp Supply Voltage

3

PU

709

Left Park Lamp Supply Voltage

4

BN

2209

Rear Park Lamps Supply Voltage

4

BN

2209

Rear Park Lamps Supply Voltage

5

BN/WH

309

Right Park Lamp Supply Voltage

5

BN/WH

309

Right Park Lamp Supply Voltage

6

L-GN

2270

Rear Window Washer Relay Control

6

L-GN

2270

Rear Window Washer Relay Control

7

BK

350

Ground

7

BK

450

Ground

8

L-GN

24

Backup Lamp Supply Voltage

8

L-GN

24

Backup Lamp Supply Voltage

9

YE

14

Left Turn Signal Lamps Supply Voltage (T79)

9

YE

14

Left Turn Signal Lamps Supply Voltage (T79)

10

PK

1739

Ignition 1 Voltage

10

PK

1739

Ignition 1 Voltage

PK

1739

Ignition 1 Voltage

11

PK

1439

Ignition 1 Voltage (TR7)

11

PK

1439

Ignition 1 Voltage (TR7)

PK

1439

Ignition 1 Voltage

12

BK

350

Ground

12

BK

450

Ground

13

--

--

Not Used

13

--

--

Not Used

14

YE

443

Accessory Voltage

14

YE

443

Accessory Voltage

C208 Steering Column Harness to Steering Wheel Controls Harness


Object Number: 62464  Size: CH

Object Number: 808703  Size: CH

Connector Part Information

  • OEM: 12064769
  • Service: 12101762
  • Description: 10-Way F Metri-Pack 150 Series (WH)

Connector Part Information

  • OEM: 12064770
  • Service: 12101823
  • Description: 10-Way M Metri-Pack 150 Series (WH)

Terminal Part Information

  • Pins: See Terminal Repair Kit
  • Terminal/Tray: See Terminal Repair Kit
  • Core/Insulation Crimp: See Terminal Repair Kit
  • Release Tool/Test Probe: See Terminal Repair Kit

Terminal Part Information

  • Pins: See Terminal Repair Kit
  • Terminal/Tray: See Terminal Repair Kit
  • Core/Insulation Crimp: See Terminal Repair Kit
  • Release Tool/Test Probe: See Terminal Repair Kit

C208 Steering Column Harness to Steering Wheel Controls Harness

Pin

Wire Color

Circuit No.

Function

Pin

Wire Color

Circuit No.

Function

A-D

--

--

Not Used

A-D

--

--

Not Used

E

PU

1375

Remote Radio Control Supply Voltage

E

PU

1375

Remote Radio Control Supply Voltage

F

PU/WH

1491

Backlight Lamps Control

F

YE

1491

Backlight Lamps Control

YE

1491

Backlight Lamps Control

G

D-BU

1796

Steering Wheel Control Signal

G

D-BU

1796

Steering Wheel Control Signal

D-BU

1796

Steering Wheel Control Signal

H

BK/WH

351

Ground

H

BK

350

Ground

BK

350

Ground

J

L-GN

28

Horn Relay Control

J

BK

28

Horn Relay Control

K

--

--

Not Used

K

--

--

Not Used

C209 Body Harness to Inflatable Restraint Steering Wheel Module Coil


Object Number: 684936  Size: CH

Object Number: 684931  Size: CH

Connector Part Information

  • OEM: 15336479
  • Service: 15306186
  • Description: 4-Way M Metri-Pack 280 Series (YE)

Connector Part Information

  • OEM: 15336476
  • Service: 88987998
  • Description: 4-Way F Metri-Pack 280 Series (YE)

Terminal Part Information

  • Terminal/Tray: 12034046/2
  • Core/Insulation Crimp: E/A
  • Release Tool/Test Probe: 12094430/J-35616-4A (PU)

Terminal Part Information

  • Terminal/Tray: 12034047/2
  • Core/Insulation Crimp: E/A
  • Release Tool/Test Probe: 12094430/J-35616-5 (PU)

C209 Body Harness to Inflatable Restraint Steering Wheel Module Coil

Pin

Wire Color

Circuit No.

Function

Pin

Wire Color

Circuit No.

Function

A1

TN

3021

Steering Wheel Module - Stage 1 - High Control

A1

TN

3021

Steering Wheel Module - Stage 1 - High Control

A2

BN

3020

Steering Wheel Module - Stage 1 - Low Control

A2

BN

3020

Steering Wheel Module - Stage 1 - Low Control

B1

WH

3023

Steering Wheel Module - Stage 2 - High Control

B1

WH

3023

Steering Wheel Module - Stage 2 - High Control

B2

PK

3022

Steering Wheel Module - Stage 2 - Low Control

B2

PK

3022

Steering Wheel Module - Stage 2 - Low Control

C210 Body Harness to Cigar Lighter Harness


Object Number: 68737  Size: CH

Object Number: 130696  Size: CH

Connector Part Information

  • OEM: 12129489
  • Service: 12126486
  • Description: 3-Way F Metri-Pack 280 Series, Flexlock (BK)

Connector Part Information

  • OEM: 12129490
  • Service: 12129490
  • Description: 3-Way M Metri-Pack 280 Series (BK)

Terminal Part Information

  • Terminal/Tray: 12110844/4
  • Core/Insulation Crimp: C/A
  • Release Tool/Test Probe: 15315247/J-35616-4A (PU)

Terminal Part Information

  • Terminal/Tray: See Terminal Repair Kit
  • Core/Insulation Crimp: See Terminal Repair Kit
  • Release Tool/Test Probe: See Terminal Repair Kit

C210 Body Harness to Cigar Lighter Harness

Pin

Wire Color

Circuit No.

Function

Pin

Wire Color

Circuit No.

Function

A

RD/WH

3540

Battery Positive Voltage

A

RD/WH

3540

Battery Positive Voltage

B

--

--

Not Used

B

--

--

Not Used

C

BK

450

Ground

C

BK

450

Ground

C215 Body Harness to Inflatable Restraint I/P Module Jumper Harness


Object Number: 684931  Size: CH

Object Number: 1715215  Size: CH

Connector Part Information

  • OEM: 15336476
  • Service: 88987998
  • Description: 4-Way M Metri-Pack 280 Series (YE)

Connector Part Information

  • OEM: 15479525
  • Service: See Catalog
  • Description: 4-Way F Metri-Pack 280 Series (YE)

Terminal Part Information

  • Terminal/Tray: Service With Pigtail
  • Core/Insulation Crimp: N/A
  • Release Tool/Test Probe: 12094430/J-35616-5 (PU)

Terminal Part Information

  • Terminal/Tray: Service With Pigtail
  • Core/Insulation Crimp: N/A
  • Release Tool/Test Probe: 12094430/J-35616-5 (PU)

C215 Body Harness to Inflatable Restraint I/P Module Jumper Harness

Pin

Wire Color

Circuit No.

Function

Pin

Wire Color

Circuit No.

Function

A1

YE

3025

I/P Module - Stage 1 - High Control

A1

YE

3025

I/P Module - Stage 1 - High Control

A2

OG

3024

I/P Module - Stage 1 - Low Control

A2

OG

3024

I/P Module - Stage 1 - Low Control

B1

GY

3027

I/P Module - Stage 2 - High Control

B1

GY

3027

I/P Module - Stage 2 - High Control

B2

PU

3026

I/P Module - Stage 2 - Low Control

B2

PU

3026

I/P Module - Stage 2 - Low Control

C300 Body Harness to Driver Seat Harness


Object Number: 823264  Size: CH

Object Number: 823289  Size: CH

Connector Part Information

  • OEM: 7283-6376-30
  • Service: See Catalog
  • Description: 26-Way F Hybrid (BK)

Connector Part Information

  • OEM: 7282-6376-30
  • Service: 88952802
  • Description: 26-Way M Yazaki Hybrid (BK)

Terminal Part Information

  • Pins: 5-6, 9, 11-16, 18-19, 23-25
  • Terminal/Tray: 7116-4100-08/9
  • Core/Insulation Crimp: E/C
  • Release Tool/Test Probe: 12094430/J-35616-2A (GY)
  • Pins: 2-4
  • Terminal/Tray: 7116-4101-08/9
  • Core/Insulation Crimp: E/A
  • Release Tool/Test Probe: 12094430/J-35616-2A (GY)
  • Pins: 17, 26
  • Terminal/Tray: 7116-4111-02/9
  • Core/Insulation Crimp: C/A
  • Release Tool/Test Probe: 12094430/J-35616-4A (PU)
  • Pins: 1, 8
  • Terminal/Tray: 7116-4122-02/10
  • Core/Insulation Crimp: A/B
  • Release Tool/Test Probe: 12094430/J-35616-42 (RD)

Terminal Part Information

  • Pins: 5-6, 9, 11-16, 18-19, 23-25
  • Terminal/Tray: 7114-4100-08/9
  • Core/Insulation Crimp: E/C
  • Release Tool/Test Probe: 15315247/J-35616-3 (GY)
  • Pins: 2-4
  • Terminal/Tray: 7114-4101-08/9
  • Core/Insulation Crimp: E/A
  • Release Tool/Test Probe: 15315247/J-35616-3 (GY)
  • Pins: 17, 26
  • Terminal/Tray: 7114-4111-02/9
  • Core/Insulation Crimp: C/A
  • Release Tool/Test Probe: 12094430/J-35616-5 (PU)
  • Pins: 1, 8
  • Terminal/Tray: 7114-4122-02/9
  • Core/Insulation Crimp: A/B
  • Release Tool/Test Probe: 12094430/J-35616-43 (RD)

C300 Body Harness to Driver Seat Harness

Pin

Wire Color

Circuit No.

Function

Pin

Wire Color

Circuit No.

Function

1

RD/WH

3740

Battery Positive Voltage (AH8)

1

RD/WH

3740

Battery Positive Voltage (AH8)

2

L-BU

2433

Driver Heated Seat Back Element Control (A45/KA1)

2

L-BU

2433

Driver Heated Seat Back Element Control (A45/KA1)

3

D-BU

2479

Heated Seat Cushion Element Supply Voltage (A45/KA1)

3

D-BU

2479

Heated Seat Cushion Element Supply Voltage (A45/KA1)

4

PK

2480

Passenger Heated Seat Cushion Element Control (A45/KA1)

4

PK

2480

Passenger Heated Seat Cushion Element Control (A45/KA1)

5

GY

2434

Passenger Heated Seat Cushion Temperature Sensor Signal (A45/KA1)

5

GY

2434

Passenger Heated Seat Cushion Temperature Sensor Signal (A45/KA1)

6

PK

2435

Passenger Seat Cushion Temperature Sensor Low Reference (A45/KA1)

6

PK

2435

Passenger Seat Cushion Temperature Sensor Low Reference (A45/KA1)

7

--

--

Not Used

7

--

--

Not Used

8

BK

350

Ground

8

BK

350

Ground

9

TN

2436

Drivers Heated Seat Back Temperature Sensor Signal (A45/KA1)

9

TN

2436

Drivers Heated Seat Back Temperature Sensor Signal (A45/KA1)

10

--

--

Not Used

10

--

--

Not Used

11

D-GN

5060

Low Speed GMLAN Serial Data (A45)

11

D-GN

5060

Low Speed GMLAN Serial Data (A45)

12

PK

5057

Seat Position Sensor - Low Reference

12

PK

5057

Seat Position Sensor - Low Reference

13

D-GN

5016

Seat Belt Switch - Left - Signal

13

D-GN

5016

Seat Belt Switch - Left - Signal

14

RD/WH

2840

Battery Positive Voltage (A45)

14

RD/WH

2840

Battery Positive Voltage (A45)

15

OG/BK

5285

Adjustable Pedals Motor Rearward Control (A45/JF4)

15

OG/BK

5285

Adjustable Pedals Motor Rearward Control (A45/JF4)

16

PU

5286

Adjustable Pedals Motor Forward Control (A45/JF4)

16

PU

5286

Adjustable Pedals Motor Forward Control (A45/JF4)

17

YE

5129

Adjustable Pedals Relay Rearward Control (A45/JF4)

17

YE

5129

Adjustable Pedals Relay Rearward Control (A45/JF4)

18

D-GN

5953

Adjustable Accelerator Pedal Position Sensor Signal (A45/JF4)

18

D-GN

5953

Adjustable Accelerator Pedal Position Sensor Signal (A45/JF4)

19

D-BU

5952

Adjustable Brake Pedal Position Sensor Signal (A45/JF4)

19

D-BU

5952

Adjustable Brake Pedal Position Sensor Signal (A45/JF4)

20-22

--

--

Not Used

20-22

--

--

Not Used

23

PU/WH

6205

Driver Position Switch High Reference (A45/JF4)

23

PU/WH

6205

Driver Position Switch High Reference (A45/JF4)

24

TN

6207

Memory Sensor High Reference (A45/JF4)

24

TN

6207

Memory Sensor High Reference (A45/JF4)

25

GY

6206

Memory Sensor Low Reference (A45/JF4)

25

GY

6206

Memory Sensor Low Reference (A45/JF4)

26

PU

5130

Adjustable Pedals Relay Forward Control (A45/JF4)

26

PU

5130

Adjustable Pedals Relay Forward Control (A45/JF4)

C301 Driver Seat Harness to Body Harness


Object Number: 1409645  Size: CH

Object Number: 258658  Size: CH

Connector Part Information

  • OEM: 15304656
  • Service: See Catalog
  • Description: 2-Way F Series (YE) 4-Way F (YE)

Connector Part Information

  • OEM: 15304649
  • Service: 15306061
  • Description: 6-Way M GT 150/280 Series (YE)

Terminal Part Information

  • Pins: A, C-D, F
  • Terminal/Tray: See Terminal Repair Kit
  • Core/Insulation Crimp: See Terminal Repair Kit
  • Release Tool/Test Probe: See Terminal Repair Kit

Terminal Part Information

  • Terminal/Tray: 15304722/8
  • Core/Insulation Crimp: E/C
  • Release Tool/Test Probe: 15315247/J-35616-5 (PU)

C301 - Driver Seat Harness to Body Harness

Pin

Wire Color

Circuit No.

Function

Pin

Wire Color

Circuit No.

Function

A

BK

2118

Seat Belt Pretensioner - Left - High Control

A

TN/WH

2118

Seat Belt Pretensioner - Left - High Control

B

--

--

Not Used

B

--

--

Not Used

C

WH

2105

Side Impact Module - Left - High Control

C

D-GN

2105

Side Impact Module - Left - High Control

D

D-GN

2106

Side Impact Module - Left - Low Control

D

BN

2106

Side Impact Module - Left - Low Control

E

--

--

Not Used

E

--

--

Not Used

F

WH

2119

Seat Belt Pretensioner - Left - Low Control

F

OG/BK

2119

Seat Belt Pretensioner - Left - Low Control

C302 I/P Harness to Shifter Control Harness


Object Number: 646384  Size: CH

Object Number: 646388  Size: CH

Connector Part Information

  • OEM: 15332153
  • Service: 88986440
  • Description: 10-Way F GT 150 (BK)

Connector Part Information

  • OEM: 15332158
  • Service: 88953270
  • Description: 10-Way M GT 150 (BK)

Terminal Part Information

  • Terminal/Tray: 12191812/19
  • Core/Insulation Crimp: E/C
  • Release Tool/Test Probe: 15315247/J-35616-2A (GY)

Terminal Part Information

  • Terminal/Tray: See Terminal Repair Kit
  • Core/Insulation Crimp: Terminal Repair Kit
  • Release Tool/Test Probe: Terminal Repair Kit

C302 I/P Harness to Shifter Control Harness

Pin

Wire Color

Circuit No.

Function

Pin

Wire Color

Circuit No.

Function

A-B

--

--

Not Used

A-B

--

--

Not Used

C

GY

8

Instrument Panel Lamp Supply Voltage

C

YE

8

Instrument Panel Lamp Supply Voltage

D

PU

1375

Remote Radio Control Supply Voltage

D

D-GN

1375

Remote Radio Control Supply Voltage

E

D-GN/WH

1135

A/T Shift Lock Control Solenoid Supply Voltage

E

BN

1135

A/T Shift Lock Control Solenoid Supply Voltage

F

PU/WH

1630

Steering Column Key Cylinder Lock Solenoid Control

F

D-BU

1630

Steering Column Key Cylinder Lock Solenoid Control

G

--

--

Not Used

G

--

--

Not Used

H

PU

5526

TCC Brake Switch

H

PK

5526

TCC Brake Switch

J

--

--

Not Used

J

--

--

Not Used

K

BK

350

Ground

K

BK/WH

350

Ground

C304 Console Harness to I/P Harness


Object Number: 1851891  Size: CH

Object Number: 1851890  Size: CH

Connector Part Information

  • OEM: 7283-6459-40
  • Service: See Catalog
  • Description: 10-Way F Receptacle Mixed (L-GY)

Connector Part Information

  • OEM: 7282-6459-40
  • Service: See Catalog
  • Description: 10-Way M 1.5/2.8 Unsealed (L-GY)

Terminal Part Information

  • Pins: 2, 8-9
  • Terminal/Tray: 7116-4100-08/9
  • Core/Insulation Crimp: E/C
  • Release Tool/Test Probe: 12094430/J-35616-2A (GY)
  • Pins: 1, 6
  • Terminal/Tray: 7116-4111-02/9
  • Core/Insulation Crimp: Pins: 1, 6: C/A
  • Core/Insulation Crimp: Pins: 1: See Terminal Repair Kit
  • Release Tool/Test Probe: 12094430/J-35616-4A (PU)
  • Pins: 6
  • Terminal/Tray: 7116-4112-02/9
  • Core/Insulation Crimp: C/D
  • Release Tool/Test Probe: 12094430/J-35616-35 (VT)

Terminal Part Information

  • Pins: 1, 6
  • Terminal/Tray: 7114-4111-02/9
  • Core/Insulation Crimp: C/A
  • Release Tool/Test Probe: 12094430/J-35616-5 (PU)
  • Pins: 2, 8-9
  • Terminal/Tray: 7114-4100-08/9
  • Core/Insulation Crimp: E/C
  • Release Tool/Test Probe: 15315247/J-35616-3 (GY)

C304 Console Harness to I/P Harness

Pin

Wire Color

Circuit No.

Function

Pin

Wire Color

Circuit No.

Function

1

RD/WH

3440

Battery Positive Voltage

1

RD/WH

3440

Battery Positive Voltage

RD/WH

3440

Battery Positive Voltage (U42)

2

WH

7066

Entertainment Remote Enable Signal (U42)

2

WH

7066

Entertainment Remote Enable Signal (U42)

3-5

--

--

Not Used

3-5

--

--

Not Used

6

BK

450

Ground

6

BK

450

Ground

BK

450

Ground (U42)

7

--

--

Not Used

7

--

--

Not Used

8

D-GN

5060

Low Speed GMLAN Serial Data (U42)

8

D-GN

5060

Low Speed GMLAN Serial Data (U42)

9

PK/BK

5844

Video Bright Control (U42)

9

PK/BK

5844

Video Bright Control (U42)

10

--

--

Not Used

10

--

--

Not Used

C306 Front Passenger Seat Harness to Body Harness


Object Number: 1409645  Size: CH

Object Number: 258658  Size: CH

Connector Part Information

  • OEM: 15304657
  • Service: See Catalog
  • Description: 6-Way F Series (YE)

Connector Part Information

  • OEM: 15304649
  • Service: 15306061
  • Description: 6-Way M GT 150/280 Series (YE)

Terminal Part Information

  • Pins: A, C-D, F
  • Terminal/Tray: See Terminal Repair Kit
  • Core/Insulation Crimp: See Terminal Repair Kit
  • Release Tool/Test Probe: See Terminal Repair Kit

Terminal Part Information

  • Pins: B, E
  • Terminal/Tray: 15304702/19
  • Core/Insulation Crimp: Pins: B: E/4
  • Core/Insulation Crimp: Pins: E: E/C
  • Release Tool/Test Probe: 15315247/J-35616-3 (GY)
  • Pins: A, C-D, F
  • Terminal/Tray: 15304722/8
  • Core/Insulation Crimp: E/C
  • Release Tool/Test Probe: 15315247/J-35616-5 (PU)

C306 Front Passenger Seat Harness to Body Harness

Pin

Wire Color

Circuit No.

Function

Pin

Wire Color

Circuit No.

Function

A

L-GN/BK

2116

Seat Belt Pretensioner - Right - High Control

A

L-GN

2116

Seat Belt Pretensioner - Right - High Control

B

BK

5056

Seat Position Sensor - Right - Signal

B

L-BU

5056

Seat Position Sensor - Right - Signal

C

WH

2103

Side Impact Module - Right - High Control

C

GY

2103

Side Impact Module - Right - High Control

D

D-GN

2104

Side Impact Module - Right - Low Control

D

D-BU

2104

Side Impact Module - Right - Low Control

E

PK

5057

Seat Position Sensor - Low Reference

E

PK

5057

Seat Position Sensor - Low Reference

F

WH

2117

Seat Belt Pretensioner - Right - Low Control

F

OG

2117

Seat Belt Pretensioner - Right - Low Control

C307 Body Harness to Front Passenger Seat Harness


Object Number: 823290  Size: CH

Object Number: 1283905  Size: CH

Connector Part Information

  • OEM: 7283-6447-40
  • Service: 88956524
  • Description: 14-Way F Receptacle 1.5 2.8 (L-GY)

Connector Part Information

  • OEM: 7282-6447-40
  • Service: 88956523
  • Description: 14-Way M Receptacle 1.5 2.8 (L-GY)

Terminal Part Information

  • Pins: 7
  • Terminal/Tray: 7116-4110-02/9
  • Core/Insulation Crimp: E/C
  • Release Tool/Test Probe: 12094430/J-35616-4A (PU)
  • Pins: 5-6, 9-11, 13
  • Terminal/Tray: 7116-4100-08/9
  • Core/Insulation Crimp: E/C
  • Release Tool/Test Probe: 12094430/J-35616-2A (GY)
  • Pins: 2-4, 12
  • Terminal/Tray: 7116-4101-08/9
  • Core/Insulation Crimp: Pins: 2, 3, 4: E/A
  • Core/Insulation Crimp: Pins: 12: See Terminal Repair Kit
  • Release Tool/Test Probe: 12094430/J-35616-2A (GY)
  • Pins: 1
  • Terminal/Tray: 7116-4112-02/9
  • Core/Insulation Crimp: C/D
  • Release Tool/Test Probe: 12094430/J-35616-35 (VT)
  • Pins: 14
  • Terminal/Tray: 7114-4112-02/9
  • Core/Insulation Crimp: C/D
  • Release Tool/Test Probe: 12094430/J-35616-5 (PU)

Terminal Part Information

  • Pins: 5, 9-13
  • Terminal/Tray: 7114-4100-08/9
  • Core/Insulation Crimp: E/C
  • Release Tool/Test Probe: 15315247/J-35616-3 (GY)
  • Pins: 2-4, 6
  • Terminal/Tray: 7114-4101-08/9
  • Core/Insulation Crimp: E/A
  • Release Tool/Test Probe: 15315247/J-35616-3 (GY)
  • Pins: 1, 14
  • Terminal/Tray: 7114-4112-02/9
  • Core/Insulation Crimp: C/D
  • Release Tool/Test Probe: 12094430/J-35616-5 (PU)
  • Pins: 7
  • Terminal/Tray: 7114-4110-02/9
  • Core/Insulation Crimp: E/C
  • Release Tool/Test Probe: 12094430/J-35616-5 (PU)

C307 Body Harness to Front Passenger Seat Harness

Pin

Wire Color

Circuit No.

Function

Pin

Wire Color

Circuit No.

Function

1

RD/WH

3740

Battery Positive Voltage (AH8)

1

RD/WH

3740

Battery Positive Voltage (KA1)

2

L-BU

2433

Driver Heated Seat Back Element Control (KA1)

2

L-BU

2433

Driver Heated Seat Back Element Control (KA1)

3

D-BU

2479

Heated Seat Cushion Element Supply Voltage (KA1)

3

D-BU

2479

Heated Seat Cushion Element Supply Voltage (KA1)

4

PK

2480

Passenger Heated Seat Cushion Element Control (KA1)

4

PK

2480

Passenger Heated Seat Cushion Element Control (KA1)

5

GY

2434

Passenger Heated Seat Cushion Temperature Sensor Signal (KA1)

5

GY

2434

Passenger Heated Seat Cushion Temperature Sensor Signal (KA1)

6

PK

2435

Passenger Seat Cushion Temperature Sensor Low Reference (KA1)

6

PK

2435

Passenger Seat Cushion Temperature Sensor Low Reference (KA1)

PK

2435

Passenger Seat Cushion Temperature Sensor Low Reference (KA1)

7

RD/WH

1740

Battery Positive Voltage

7

RD/WH

1740

Battery Positive Voltage

8

--

--

Not Used

8

--

--

Not Used

9

TN

2436

Drivers Heated Seat Back Temperature Sensor Signal (KA1)

9

TN

2436

Drivers Heated Seat Back Temperature Sensor Signal (KA1)

10

BK/WH

451

Ground

10

BK/WH

451

Ground

11

D-GN

5060

Low Speed GMLAN Serial Data

11

D-GN

5060

Low Speed GMLAN Serial Data

12

PK

5057

Seat Position Sensor - Low Reference

12

PK

5057

Seat Position Sensor - Low Reference

13

OG

1362

Seat Belt Switch - Right - Signal

13

OG

1362

Seat Belt Switch - Right - Signal

14

BK

450

Ground (AH8)

14

BK

450

Ground (AH8)

C308 Headliner Harness to Body Harness


Object Number: 1851885  Size: CH

Object Number: 1851887  Size: CH

Connector Part Information

  • OEM: 7283-6468-60
  • Service: See Catalog
  • Description: 12-Way F Kaizen (GN)

Connector Part Information

  • OEM: 7282-6468-60
  • Service: See Catalog
  • Description: 12-Way M CONN (GN)

Terminal Part Information

  • Pins: 1, 3, 5-6, 8
  • Terminal/Tray: 7116-4110-02/9
  • Core/Insulation Crimp: E/C
  • Release Tool/Test Probe: 12094430/J-35616-4A (PU)
  • Pins: 2
  • Terminal/Tray: 7116-4111-02/9
  • Core/Insulation Crimp: E/A
  • Release Tool/Test Probe: 12094430/J-35616-4A (PU)
  • Pins: 4, 7, 9-12
  • Terminal/Tray: 7116-4112-02/9
  • Core/Insulation Crimp: C/D
  • Release Tool/Test Probe: 12094430/J-35616-35 (VT)

Terminal Part Information

  • Pins: 5
  • Terminal/Tray: 7114-4111-02/9
  • Core/Insulation Crimp: C/A
  • Release Tool/Test Probe: 12094430/J-35616-5 (PU)
  • Pins: 1, 3, 6, 8
  • Terminal/Tray: 7114-4110-02/9
  • Core/Insulation Crimp: E/C
  • Release Tool/Test Probe: 12094430/J-35616-5 (PU)
  • Pins: 2, 4, 7, 10-12
  • Terminal/Tray: 7114-4112-02/9
  • Core/Insulation Crimp: C/D
  • Release Tool/Test Probe: 12094430/J-35616-5 (PU)

C308 Headliner Harness to Body Harness

Pin

Wire Color

Circuit No.

Function

Pin

Wire Color

Circuit No.

Function

1

GY

8

Instrument Panel Lamp Supply Voltage

1

GY

8

Instrument Panel Lamp Supply Voltage

2

GY/BK

690

Courtesy Lamp Supply Voltage

2

GY/BK

690

Courtesy Lamp Supply Voltage

GY/BK

690

Courtesy Lamp Supply Voltage

3

L-GN

24

Backup Lamp Supply Voltage

3

L-GN

24

Backup Lamp Supply Voltage

4

OG

1052

Auxiliary Blower Motor Supply Voltage (C57)

4

OG

1052

Auxiliary Blower Motor Supply Voltage (C57)

5

OG

1732

Inadvertent Power Supply Voltage

5

OG

1732

Inadvertent Power Supply Voltage

6

GY

391

Rear Window Wiper Switch Signal

6

GY

391

Rear Window Wiper Switch Signal

7

TN

63

Blower Motor Medium 1 Control (C57)

7

TN

63

Blower Motor Medium 1 Control (C57)

8

YE

443

Accessory Voltage

8

YE

443

Accessory Voltage

YE

443

Accessory Voltage

9

OG

1052

Auxiliary Blower Motor Supply Voltage (C57)

9

OG

1052

Auxiliary Blower Motor Supply Voltage (C57)

10

BK

1050

Ground

10

BK

1050

Ground

11

L-BU

72

Medium 2 Blower Motor Control (C57)

11

L-BU

72

Medium 2 Blower Motor Control (C57)

12

YE

60

Blower Motor Low Control (C57)

12

YE

60

Blower Motor Low Control (C57)

C310 Sunroof Harness to Body Harness (C3B/CF5) (Domestic)


Object Number: 1283909  Size: CH

Object Number: 1283911  Size: CH

Connector Part Information

  • OEM: 7283-5561-40
  • Service: See Catalog
  • Description: 4-Way F Yazaki 2.8 Series (GY)

Connector Part Information

  • OEM: 7282-5561-40
  • Service: 89046843
  • Description: 4 Way M 2.8 Series (GY)

Terminal Part Information

  • Pins: 1-3
  • Terminal/Tray: See Terminal Repair Kit
  • Core/Insulation Crimp: See Terminal Repair Kit
  • Release Tool/Test Probe: See Terminal Repair Kit

Terminal Part Information

  • Pins: 1
  • Terminal/Tray: 7114-4110-02/9
  • Core/Insulation Crimp: E/C
  • Release Tool/Test Probe: 12094430/J-35616-5 (PU)
  • Pins: 2-3
  • Terminal/Tray: 7114-4112-02/9
  • Core/Insulation Crimp: C/D
  • Release Tool/Test Probe: 12094430/J-35616-5 (PU)

C310 Sunroof Harness to Body Harness (C3B/CF5) (Domestic)

Pin

Wire Color

Circuit No.

Function

Pin

Wire Color

Circuit No.

Function

1

BN

41

RAP Fuse Supply Voltage

1

D-GN

801

RAP Fuse Supply Voltage

2

D-BU

4240

Battery Positive Voltage

2

RD/WH

4240

Battery Positive Voltage

3

BK

1050

Ground

3

BK

1050

Ground

4

BN/PK

--

Not Used

4

--

--

Not Used

C310 Sunroof Harness to Body Harness (C3B/CF5) (Export)


Object Number: 1283909  Size: CH

Object Number: 1283911  Size: CH

Connector Part Information

  • OEM: 7283-5561-40
  • Service: See Catalog
  • Description: 4-Way F Yazaki 2.8 Series (GY)

Connector Part Information

  • OEM: 7282-5561-40
  • Service: 89046843
  • Description: 4-Way M 2.8 Series (GY)

Terminal Part Information

  • Pins: 1-3
  • Terminal/Tray: See Terminal Repair Kit
  • Core/Insulation Crimp: See Terminal Repair Kit
  • Release Tool/Test Probe: See Terminal Repair Kit

Terminal Part Information

  • Pins: 1
  • Terminal/Tray: 7114-4110-02/9
  • Core/Insulation Crimp: E/C
  • Release Tool/Test Probe: 12094430/J-35616-5 (PU)
  • Pins: 2-3
  • Terminal/Tray: 7114-4112-02/9
  • Core/Insulation Crimp: C/D
  • Release Tool/Test Probe: 12094430/J-35616-5 (PU)

C310 Sunroof Harness to Body Harness (C3B/CF5) (Export)

Pin

Wire Color

Circuit No.

Function

Pin

Wire Color

Circuit No.

Function

1

BN

41

Ignition 3 Voltage

1

BK

300

Ignition 3 Voltage

2

D-BU

4240

Battery Positive Voltage

2

RD/WH

4240

Battery Positive Voltage

3

BK

1050

Ground

3

BK

1050

Ground

4

BN/PK

--

Not Used

4

--

--

Not Used

C311 Body Harness to Rear Seat Harness (AM0)


Object Number: 62469  Size: CH

Object Number: 655684  Size: CH

Connector Part Information

  • OEM: 12064998
  • Service: 15306189
  • Description: 8-Way F Metri-Pack 280 Series (BK)

Connector Part Information

  • OEM: 12066195
  • Service: 15306155
  • Description: 8-Way M Metri-Pack 280 Series (BK)

Terminal Part Information

  • Pins: B-C, E-F
  • Terminal/Tray: 12034046/2
  • Core/Insulation Crimp: E/A
  • Release Tool/Test Probe: 12094430/J-35616-4A (PU)
  • Pins: A, D
  • Terminal/Tray: 12015858/4
  • Core/Insulation Crimp: F/G
  • Release Tool/Test Probe: 12094430/J-35616-4A (PU)

Terminal Part Information

  • Pins: A-F
  • Terminal/Tray: See Terminal Repair Kit
  • Core/Insulation Crimp: See Terminal Repair Kit
  • Release Tool/Test Probe: See Terminal Repair Kit

C311 Body Harness to Rear Seat Harness (AM0)

Pin

Wire Color

Circuit No.

Function

Pin

Wire Color

Circuit No.

Function

A

BK

1050

Ground

A

BK

1050

Ground

B

D-GN

5060

Low Speed GMLAN Serial Data

B

PU

5060

Low Speed GMLAN Serial Data

C

L-BU

5368

Folding Seat D-Pillar Recline Switch Signal

C

L-BU

5368

Folding Seat D-Pillar Recline Switch Signal

D

RD/WH

4440

Battery Positive Voltage

D

RD/WH

4440

Battery Positive Voltage

E

D-BU

5366

Folding Seat C-Pillar Stow Switch Signal

E

D-BU

5366

Folding Seat C-Pillar Stow Switch Signal

F

D-BU/WH

5367

Folding Seat D-Pillar Stow Switch Signal

F

D-BU/WH

5367

Folding Seat D-Pillar Stow Switch Signal

G-H

--

--

Not Used

G-H

--

--

Not Used

C312 Console Harness to Body Harness


Object Number: 1733159  Size: CH

Object Number: 1732767  Size: CH

Connector Part Information

  • OEM: 7283-6455-40
  • Service: See Catalog
  • Description: 10-Way F Kaizen YESC Series (GY)

Connector Part Information

  • OEM: 7282-6455-40
  • Service: 88988272
  • Description: 10-Way M Kaizen YESC Series (GY)

Terminal Part Information

  • Pins: 2-5, 7-9
  • Terminal/Tray: 7116-4100-08/9
  • Core/Insulation Crimp: E/C
  • Release Tool/Test Probe: 12094430/J-35616-2A (GY)
  • Pins: 6, 1
  • Terminal/Tray: 7116-4101-08/9
  • Core/Insulation Crimp: Pins: 6: E/A
  • Core/Insulation Crimp: Pins: 1: See Terminal Repair Kit
  • Release Tool/Test Probe: 12094430/J-35616-2A (GY)

Terminal Part Information

  • Pins: 1, 4-6
  • Terminal/Tray: 7114-4101-08/9
  • Core/Insulation Crimp: E/A
  • Release Tool/Test Probe: 15315247/J-35616-3 (GY)
  • Pins: 2-3, 7-9
  • Terminal/Tray: 7114-4100-08/9
  • Core/Insulation Crimp: E/C
  • Release Tool/Test Probe: 15315247/J-35616-3 (GY)

C312 Console Harness to Body Harness

Pin

Wire Color

Circuit No.

Function

Pin

Wire Color

Circuit No.

Function

1

RD/WH

3240

Battery Positive Voltage (U42)

1

RD/WH

3240

Battery Positive Voltage (U42)

2

BN

1999

Left Rear Low Level Audio Signal (-) (UQS-U42)

2

BN

5314

RSA Audio Common Signal (UQS)

BN

5314

RSA Audio Common Signal (U42)

3

BN/WH

599

Left Rear Low Level Audio Signal (+) (UQS-U42)

3

L-BU

5312

RSA Left Audio Signal (UQS)

L-BU

5312

RSA Left Audio Signal (U42)

4

OG/BK

5766

Console Center Speaker (-) (UQS)

4

OG/BK

5766

Console Center Speaker (-) (UQS)

5

OG

5756

Center Console Speaker (+) (UQS)

5

OG

5756

Center Console Speaker (+) (UQS)

6

BK/WH

851

Ground (U42)

6

BK/WH

851

Ground (U42)

BK/WH

851

Ground (U42)

7

TN

1946

Right Rear Low Level Audio Signal (-) (UQS-U42)

7

D-GN/WH

1547

Rear Low Level Audio Signal (-) (UQS)

D-GN/WH

1547

Rear Low Level Audio Signal (-) (U42)

8

D-BU

546

Right Rear Low Level Audio Signal (+) (UQS-U42)

8

L-GN

5313

RSA Right Audio Signal (UQS)

L-GN

5313

RSA Right Audio Signal (U42)

9

BARE

1574

Drain Wire (UQS-U42)

9

BARE

5315

Drain Wire (UQS)

BARE

5315

Drain Wire (U42)

10

--

--

Not Used

10

--

--

Not Used

C313 Console Harness to I/P Harness


Object Number: 1483282  Size: CH

Object Number: 1483279  Size: CH

Connector Part Information

  • OEM: 7283-6388-40
  • Service: See Catalog
  • Description: 20-Way F CONN (L-GY)

Connector Part Information

  • OEM: 7282-6568-40
  • Service: See Catalog
  • Description: 20-Way M CONN (GY)

Terminal Part Information

  • Terminal/Tray: 7116-4720-02/14
  • Core/Insulation Crimp: H/H
  • Release Tool/Test Probe: 15315247/J-35616-64B (L-BU)

Terminal Part Information

  • Terminal/Tray: 7114-4720-02/14
  • Core/Insulation Crimp: J/J
  • Release Tool/Test Probe: 15315247/J-35616-65B (L-BU)

C313 Console Harness to I/P Harness

Pin

Wire Color

Circuit No.

Function

Pin

Wire Color

Circuit No.

Function

1

D-BU

546

Right Rear Low Level Audio Signal (+) (UQS-U42)

1

D-BU

546

Right Rear Low Level Audio Signal (+) (UQS)

D-BU

546

Right Rear Low Level Audio Signal (+) (U42)

2

TN

1946

Right Rear Low Level Audio Signal (-) (UQS-U42)

2

TN

1946

Right Rear Low Level Audio Signal (-) (UQS)

TN

1946

Right Rear Low Level Audio Signal (-) (U42)

3

BN/WH

599

Left Rear Low Level Audio Signal (+) (UQS-U42)

3

BN/WH

599

Left Rear Low Level Audio Signal (+) (UQS)

BN/WH

599

Left Rear Low Level Audio Signal (+) (U42)

4

BN

1999

Left Rear Low Level Audio Signal (-) (UQS-U42)

4

BN

1999

Left Rear Low Level Audio Signal (-) (UQS)

BN

1999

Left Rear Low Level Audio Signal (-) (U42)

5

BARE

1574

Drain Wire (UQS-U42)

5

BARE

1574

Drain Wire (UQS)

BARE

1574

Drain Wire (U42)

6

PU

2056

Auxiliary Video High Signal (U42)

6

PU

2056

Auxiliary Video High Signal (U42)

7

BARE

5346

Video Drain Wire (U42)

7

BARE

5346

Video Drain Wire (U42)

8

YE

2059

Auxiliary Audio Left Signal (U42)

8

YE

2059

Auxiliary Audio Left Signal (U42)

9

WH

2058

Auxiliary Audio Right Signal (U42)

9

WH

2058

Auxiliary Audio Right Signal (U42)

10

BARE

5345

Drain Wire (U42)

10

BARE

5345

Drain Wire (U42)

11

--

--

Not Used

11

--

--

Not Used

12

BARE

6980

DVD Audio Shield (U42)

12

BARE

6980

DVD Audio Shield (U42)

13

L-BU

5826

Left DVD Audio Signal (+) (LHD w/U42)

13

L-BU

5826

Left DVD Audio Signal (+) (U42)

14

PU

6979

DVD Audio Common (U42)

14

PU

6979

DVD Audio Common (U42)

15

WH

5828

Right DVD Audio Signal (+) (U42)

15

WH

5828

Right DVD Audio Signal (+) (U42)

16

WH/BK

5335

DVD Video Signal (-) (U42)

16

WH/BK

5335

DVD Video Signal (-) (U42)

17

D-GN

6975

DVD Video Signal (+) (U42)

17

D-GN

6975

DVD Video Signal (+) (U42)

18

BARE

6976

DVD Video Drain Wire (U42)

18

BARE

6976

DVD Video Drain Wire (U42)

19

TN/WH

5830

Remote Infra Red Signal (-) (U42)

19

TN/WH

5830

Remote Infra Red Signal (-) (U42)

20

OG/BK

5831

Remote Infra Red Signal (+) (U42)

20

OG/BK

5831

Remote Infra Red Signal (+) (U42)

C314 Headliner Harness to Body Harness


Object Number: 1483282  Size: CH

Object Number: 1483279  Size: CH

Connector Part Information

  • OEM: 7283-6388-40
  • Service: See Catalog
  • Description: 20-Way F CONN (L-GY)

Connector Part Information

  • OEM: 7282-6568-40
  • Service: See Catalog
  • Description: 20-Way M CONN (GY)

Terminal Part Information

  • Pins: 1-18
  • Terminal/Tray: 7116-4720-02/14
  • Core/Insulation Crimp: Pins: 1, 7: See Terminal Repair Kit
  • Core/Insulation Crimp: Pins: 2-6, 8-18: H/H
  • Release Tool/Test Probe: 15315247/J-35616-64B (L-BU)

Terminal Part Information

  • Pins: 1, 3-11, 16-18
  • Terminal/Tray: 7114-4720-02/14
  • Core/Insulation Crimp: J/J
  • Release Tool/Test Probe: 15315247/J-35616-65B (L-BU)
  • Pins: 2, 12-15
  • Terminal/Tray: 7116-4720-02/14
  • Core/Insulation Crimp: H/H
  • Release Tool/Test Probe: 15315247/J-35616-64B (L-BU)

C314 Headliner Harness to Body Harness

Pin

Wire Color

Circuit No.

Function

Pin

Wire Color

Circuit No.

Function

1

WH

7066

Entertainment Remote Enable Signal

1

WH

7066

Entertainment Remote Enable Signal

2

RD/WH

3140

Battery Positive Voltage (UG1)

2

RD/WH

3140

Battery Positive Voltage (UG1)

RD/WH

3140

Battery Positive Voltage (UA6)

RD/WH

3140

Battery Positive Voltage (UTA/UTB/UTC)

3

BARE

1489

Drain Wire (UQS)

3

BARE

1489

Drain Wire (UQS)

4

D-GN

1488

Noise Compensation Microphone Supply Voltage (UQS)

4

D-GN

1488

Noise Compensation Microphone Supply Voltage (UQS)

5

GY

1690

Automatic Day/Night Mirror Signal (DR2/DR4)

5

GY

1690

Automatic Day/Night Mirror Signal (DR2/DR4)

6

PK

1691

Automatic Day/Night Mirror Low Reference (DR2/DR4)

6

PK

1691

Automatic Day/Night Mirror Low Reference (DR2/DR4)

7

OG

1486

FM Composite Signal

7

OG

1486

FM Composite Signal

8

WH

2370

Telltale Assembly Supply Voltage

8

WH

2370

Telltale Assembly Supply Voltage

9

OG

2371

Left Amber Indicator Control

9

OG

2371

Left Amber Indicator Control

10

D-BU

2372

Center Amber Indicator Control

10

D-BU

2372

Center Amber Indicator Control

11

GY

2373

Red Indicator Control

11

GY

2373

Red Indicator Control

12

YE/BK

2516

Keypad Green LED Signal (UE1)

12

YE/BK

2516

Keypad Green LED Signal (UE1)

13

D-GN/WH

2514

Keypad Signal (UE1)

13

D-GN/WH

2514

Keypad Signal (UE1)

14

L-GN/BK

2515

Keypad Supply Voltage (UE1)

14

L-GN/BK

2515

Keypad Supply Voltage (UE1)

PU

5059

Intrusion Sensor Alarm On Signal (UA6)

PU

5059

Intrusion Sensor Alarm On Signal (UTA/UTB/UTC)

15

BN/WH

2517

Keypad Red LED Signal (UE1)

15

BN/WH

2517

Keypad Red LED Signal (UE1)

YE

5058

Intrusion Sensor Armed Signal (UA6)

YE

5058

Intrusion Sensor Armed Signal (UTA/UTB/UTC)

16

BARE

514

Ground (UE1/U2X/U2Y)

16

BARE

514

Ground (UE1/U2X/U2Y)

17

GY

655

Cellular Microphone Low Reference (UE1/U2X/U2Y)

17

GY

655

Cellular Microphone Low Reference (UE1/U2X/U2Y)

18

BK/WH

1051

Ground

18

BK/WH

1051

Ground

19-20

--

--

Not Used

19-20

--

--

Not Used

C315 Headliner Harness to Sunroof Harness (C3B/CF5)


Object Number: 1283899  Size: CH

Object Number: 1283908  Size: CH

Connector Part Information

  • OEM: 7283-5540-40
  • Service: See Catalog
  • Description: 12-Way F 1.5 Series, Unsealed (GY)

Connector Part Information

  • OEM: 7282-5540-40
  • Service: See Catalog
  • Description: 12-Way M Yazaki 1.5 Series (GY)

Terminal Part Information

  • Terminal/Tray: 7116-4100-08/9
  • Core/Insulation Crimp: E/C
  • Release Tool/Test Probe: 12094430/J-35616-2A (GY)

Terminal Part Information

  • Pins: 1-12
  • Terminal/Tray: See Terminal Repair Kit
  • Core/Insulation Crimp: See Terminal Repair Kit
  • Release Tool/Test Probe: See Terminal Repair Kit

C315 Headliner Harness to Sunroof Harness (C3B/CF5)

Pin

Wire Color

Circuit No.

Function

Pin

Wire Color

Circuit No.

Function

1

--

--

Not Used

1

--

--

Not Used

2

D-GN

2074

Sunroof Switch Express Signal (CF5/C3B)

2

D-GN

2074

Sunroof Switch Express Signal (CF5/C3B)

3

OG

110

Sunroof Switch Close Signal (CF5/C3B)

3

OG

110

Sunroof Switch Close Signal (CF5/C3B)

4

--

--

Not Used

4

--

--

Not Used

5

L-BU

5304

Front Sunshade Switch Open Signal (CF5/C3B)

5

L-BU

5304

Front Sunshade Switch Open Signal (CF5/C3B)

6

PU

5306

Front Sunshade Switch Express Signal (CF5/C3B)

6

PU

5306

Front Sunshade Switch Express Signal (CF5/C3B)

7

--

--

Not Used

7

--

--

Not Used

8

L-GN

5308

Rear Sunshade Switch Open Signal (C3B)

8

L-GN

5308

Rear Sunshade Switch Open Signal (C3B)

9

OG

5309

Rear Sunshade Switch Close Signal (C3B)

9

OG

5309

Rear Sunshade Switch Close Signal (C3B)

10

BN

100

Sunroof Switch Open Signal (CF5/C3B)

10

BN

100

Sunroof Switch Open Signal (CF5/C3B)

11

BK

1050

Ground (U2K and CF5/C3B)

11

BK

1050

Ground (U2K and CF5/C3B)

12

YE

5305

Front Sunshade Switch Close Signal (CF5/C3B)

12

YE

5305

Front Sunshade Switch Close Signal (CF5/C3B)

C316 Body Harness to Rear Quarter Trim Harness


Object Number: 1851882  Size: CH

Object Number: 1851884  Size: CH

Connector Part Information

  • OEM: 7283-6448-40
  • Service: See Catalog
  • Description: 8-Way F Receptacle 1.5 2.8 (GY)

Connector Part Information

  • OEM: 7282-6448-40
  • Service: See Catalog
  • Description: 8-Way M 1.5/6, 2.8/2 Unsealed (GY)

Terminal Part Information

  • Pins: 2-8
  • Terminal/Tray: 7116-4100-08/9
  • Core/Insulation Crimp: E/C
  • Release Tool/Test Probe: 12094430/J-35616-2A (GY)
  • Pins: 1, 4
  • Terminal/Tray: 7116-4111-02/9
  • Core/Insulation Crimp: C/A
  • Release Tool/Test Probe: 12094430/J-35616-4A (PU)

Terminal Part Information

  • Pins: 1, 4
  • Terminal/Tray: 7114-4111-02/9
  • Core/Insulation Crimp: C/A
  • Release Tool/Test Probe: 12094430/J-35616-5 (PU)
  • Pins: 2-3, 5-8
  • Terminal/Tray: 7114-4100-08/9
  • Core/Insulation Crimp: E/C
  • Release Tool/Test Probe: 15315247/J-35616-3 (GY)

C316 Body Harness to Rear Quarter Trim Harness

Pin

Wire Color

Circuit No.

Function

Pin

Wire Color

Circuit No.

Function

1

RD/WH

3640

Battery Positive Voltage

1

RD/WH

3640

Battery Positive Voltage

2

D-BU/WH

5367

Folding Seat D-Pillar Stow Switch Signal (AM0)

2

D-BU/WH

5367

Folding Seat D-Pillar Stow Switch Signal (AM0)

3

L-BU

5368

Folding Seat D-Pillar Recline Switch Signal (AM0)

3

L-BU

5368

Folding Seat D-Pillar Recline Switch Signal (AM0)

4

BK

1050

Ground

4

BK

1050

Ground

5

D-BU

5366

Folding Seat C-Pillar Stow Switch Signal (AM0)

5

D-BU

5366

Folding Seat C-Pillar Stow Switch Signal (AM0)

6

RD/WH

4540

Battery Positive Voltage

6

RD/WH

4540

Battery Positive Voltage

7

D-GN

5060

Low Speed GMLAN Serial Data

7

D-GN

5060

Low Speed GMLAN Serial Data

8

BK/WH

1051

Ground

8

BK/WH

1051

Ground

C317 Headliner Harness to Courtesy/Reading Lamp Module Harness


Object Number: 813070  Size: CH

Object Number: 1851894  Size: CH

Connector Part Information

  • OEM: 15975081
  • Service: See Catalog
  • Description: 8-Way F Mini-Fit 5556 (BK)

Connector Part Information

  • OEM: 15-97-6081
  • Service: See Catalog
  • Description: 8 Way M Mini-Fit (BK)

Terminal Part Information

  • Pins: 1-3
  • Terminal/Tray: See Terminal Repair Kit
  • Core/Insulation Crimp: See Terminal Repair Kit
  • Release Tool/Test Probe: See Terminal Repair Kit
  • Pins: 6-8
  • Terminal/Tray: 39-00-0046/23
  • Core/Insulation Crimp: H/H
  • Release Tool/Test Probe: J-38125-560/J-35616-12 (BU)

Terminal Part Information

  • Terminal/Tray: See Terminal Repair Kit
  • Core/Insulation Crimp: See Terminal Repair Kit
  • Release Tool/Test Probe: See Terminal Repair Kit

C317 Headliner Harness to Courtesy/Reading Lamp Module Harness

Pin

Wire Color

Circuit No.

Function

Pin

Wire Color

Circuit No.

Function

1

GY/BK

690

Courtesy Lamp Supply Voltage

1

GY

690

Courtesy Lamp Supply Voltage

2

OG

1732

Inadvertent Power Supply Voltage

2

BK

1732

Inadvertent Power Supply Voltage

3

BK

1050

Ground

3

D-BU/WH

1050

Ground

4-5

--

--

Not Used

4-5

--

--

Not Used

6

RD/WH

3140

Battery Positive Voltage (UA6)

6

RD/WH

3140

Battery Positive Voltage (UA6)

7

PU

5059

Intrusion Sensor Alarm On Signal (UA6)

7

PU

5059

Intrusion Sensor Alarm On Signal (UA6)

8

YE

5058

Intrusion Sensor Armed Signal (UA6)

8

YE

5058

Intrusion Sensor Armed Signal (UA6)

C321 I/P Harness to HVAC Actuator Harness


Object Number: 1592558  Size: CH

Object Number: 823294  Size: CH

Connector Part Information

  • OEM: 7283-6453-60
  • Service: See Catalog
  • Description: 16-Way F YESC Series, Unsealed (GN)

Connector Part Information

  • OEM: 7289-5635-60
  • Service: See Catalog
  • Description: 16-Way M YESC Series, Unsealed (GN)

Terminal Part Information

  • Pins: 1-6, 11-15
  • Terminal/Tray: 7116-4100-08/9
  • Core/Insulation Crimp: E/C
  • Release Tool/Test Probe: 12094430/J-35616-2A (GY)
  • Pins: 10
  • Terminal/Tray: 7116-4101-08/9
  • Core/Insulation Crimp: E/A
  • Release Tool/Test Probe: 12094430/J-35616-2A (GY)

Terminal Part Information

  • Terminal/Tray: See Terminal Repair Kit
  • Core/Insulation Crimp: See Terminal Repair Kit
  • Release Tool/Test Probe: See Terminal Repair Kit

C321 I/P Harness to HVAC Actuator Harness

Pin

Wire Color

Circuit No.

Function

Pin

Wire Color

Circuit No.

Function

1

D-BU

1646

Passenger Air Temperature Door Position

1

D-BU

1646

Passenger Air Temperature Door Position

2

WH/BK

1236

Passenger Air Temperature Door Control B

2

WH/BK

1236

Passenger Air Temperature Door Control B

3

GY/BK

2778

Right Air Temperature Door Control A

3

GY/BK

2778

Right Air Temperature Door Control A

4

TN

2273

Mode Door Control A

4

BN

2273

Mode Door Control A

5

YE/BK

1814

Lower Mode Door Position Signal

5

YE/BK

1814

Lower Mode Door Position Signal

6

YE

1318

Mode Door Control

6

YE

1318

Mode Door Control

7-9

--

--

Not Used

7-9

--

--

Not Used

10

GY

705

5-Volt Reference

10

GY

705

5-Volt Reference

GY

705

5-Volt Reference

11

L-BU

733

Driver Air Temperature Door Position Signal

11

L-BU

733

Driver Air Temperature Door Position Signal

12

D-BU

1199

Driver Air Temperature Door Control B

12

D-BU

1199

Driver Air Temperature Door Control B

13

YE

1791

Driver Air Temperature Door Control A

13

YE

1791

Driver Air Temperature Door Control A

14

YE

61

Low Reference

14

YE

61

Low Reference

15

GY

731

A/C Refrigerant Low Temperature Sensor Signal

15

D-GN/WH

731

A/C Refrigerant Low Temperature Sensor Signal

16

--

--

Not Used

16

--

--

Not Used

C326 Passenger Seat Lumbar Jumper Harness to Passenger Seat Harness (AL2)


Object Number: 38274  Size: CH

Object Number: 1390769  Size: CH

Connector Part Information

  • OEM: 12015199
  • Service: 12101821
  • Description: 2-Way F Metri-Pack 280 Series (BK)

Connector Part Information

  • OEM: 12034344
  • Service: 12101836
  • Description: 2-Way M Metri-Pack 280 Series (BK)

Terminal Part Information

  • Terminal/Tray: See Terminal Repair Kit
  • Core/Insulation Crimp: See Terminal Repair Kit
  • Release Tool/Test Probe: See Terminal Repair Kit

Terminal Part Information

  • Terminal/Tray: See Terminal Repair Kit
  • Core/Insulation Crimp: See Terminal Repair Kit
  • Release Tool/Test Probe: See Terminal Repair Kit

C326 Passenger Seat Lumbar Jumper Harness to Passenger Seat Harness (AL2)

Pin

Wire Color

Circuit No.

Function

Pin

Wire Color

Circuit No.

Function

A

D-BU

211

Passenger Seat Lumbar Motor Forward Control

A

D-BU

211

Passenger Seat Lumbar Motor Forward Control

B

WH

210

Passenger Seat Lumbar Motor Rearward Control

B

WH

210

Passenger Seat Lumbar Motor Rearward Control

C401 Liftgate Harness to Body Harness


Object Number: 62439  Size: CH

Object Number: 1711003  Size: CH

Connector Part Information

  • OEM: 12047886
  • Service: 12101822
  • Description: 8-Way F Metri-Pack 150 Series (BK)

Connector Part Information

  • OEM: 12045688
  • Service: 12101827
  • Description: 8-Way M Metri-Pack 150 Series (BK)

Terminal Part Information

  • Terminal/Tray: 12064971/5
  • Core/Insulation Crimp: E/C
  • Release Tool/Test Probe: 12094429/J-35616-2A (GY)

Terminal Part Information

  • Pins: A-B, D-G
  • Terminal/Tray: 12047581/2
  • Core/Insulation Crimp: Pins: D: E/A
  • Core/Insulation Crimp: Pins: A-B, E-G: E/C
  • Release Tool/Test Probe: 12094429/J-35616-3 (GY)

C401 Liftgate Harness to Body Harness

Pin

Wire Color

Circuit No.

Function

Pin

Wire Color

Circuit No.

Function

A

L-BU

20

Stop Lamp Supply Voltage

A

L-BU

20

Stop Lamp Supply Voltage

B

GY

5797

Liftgate Open/Close Switch Signal Rear

B

GY

5797

Liftgate Open/Close Switch Signal Rear

C

--

--

Not Used

C

--

--

Not Used

D

GY/BK

690

Courtesy Lamp Supply Voltage

D

GY/BK

690

Courtesy Lamp Supply Voltage

E

OG/BK

744

Liftgate Ajar Switch Signal

E

OG/BK

744

Liftgate Ajar Switch Signal

F

GY

391

Rear Window Wiper Switch Signal

F

GY

391

Rear Window Wiper Switch Signal

G

BN

2209

Rear Park Lamps Supply Voltage

G

BN

2209

Rear Park Lamps Supply Voltage

H

OG

122

Rear Fog Lamp Supply Voltage (T79)

H

OG

122

Rear Fog Lamp Supply Voltage (T79)

C402 Body Harness to RPA Harness (Domestic)


Object Number: 831372  Size: CH

Object Number: 831369  Size: CH

Connector Part Information

  • OEM: 15326849
  • Service: 88986260
  • Description: 12-Way F GT 150 Sealed 4.0 (BK)

Connector Part Information

  • OEM: 15326854
  • Service: 88986252
  • Description: 12-Way M GT 150 Sealed 4.0 (BK)

Terminal Part Information

  • Pins: A-F
  • Terminal/Tray: 12191819/8
  • Core/Insulation Crimp: E/A
  • Release Tool/Test Probe: 15315247/J-35616-2A (GY)

Terminal Part Information

  • Pins: A-G, J-M
  • Terminal/Tray: 15326269/19
  • Core/Insulation Crimp: Pins: G, J-M: E/1
  • Core/Insulation Crimp: Pins: A-F: E/4
  • Release Tool/Test Probe: 15315247/J-35616-3 (GY)

C402 Body Harness to RPA Harness (Domestic)

Pin

Wire Color

Circuit No.

Function

Pin

Wire Color

Circuit No.

Function

A

D-BU

2374

Object Sensor Supply Voltage

A

D-BU

2374

Object Sensor Supply Voltage

B

YE

2375

LR Corner Object Sensor Signal

B

YE

2375

LR Corner Object Sensor Signal

C

GY

2379

Object Sensor Low Reference

C

GY

2379

Object Sensor Low Reference

D

OG

2376

LR Middle Object Sensor Signal

D

OG

2376

LR Middle Object Sensor Signal

E

D-GN

2377

RR Middle Object Sensor Signal

E

D-GN

2377

RR Middle Object Sensor Signal

F

PU

2378

RR Corner Object Sensor Signal

F

PU

2378

RR Corner Object Sensor Signal

G

YE

18

Left Rear Stop/Turn Lamp Supply Voltage (w/o T79)

G

YE

18

Left Rear Stop/Turn Lamp Supply Voltage (w/o T79)

H

--

--

Not Used

H

--

--

Not Used

J

D-GN

1619

Right Rear Stop/Turn Lamp Supply Voltage (w/o T79)

J

D-GN

1619

Right Rear Stop/Turn Lamp Supply Voltage (w/o T79)

K

BN

2509

Left Rear Park Lamps Supply Voltage (w/o T79)

K

BN

2509

Left Rear Park Lamps Supply Voltage (w/o T79)

L

L-GN

1624

Trailer Backup Lamps Supply Voltage (V92 w/o T79)

L

--

--

Not Used

M

BK

850

Ground

M

BK

850

Ground

C402 Body Harness to RPA Harness (Export)


Object Number: 831372  Size: CH

Object Number: 831369  Size: CH

Connector Part Information

  • OEM: 15326849
  • Service: 88986260
  • Description: 12-Way F GT 150 Sealed 4.0 (BK)

Connector Part Information

  • OEM: 15326854
  • Service: 88986252
  • Description: 12-Way M GT 150 Sealed 4.0 (BK)

Terminal Part Information

  • Pins: A-F
  • Terminal/Tray: 12191819/8
  • Core/Insulation Crimp: E/A
  • Release Tool/Test Probe: 15315247/J-35616-2A (GY)

Terminal Part Information

  • Pins: A-G, J-M
  • Terminal/Tray: 15326269/19
  • Core/Insulation Crimp: Pins: G, J-M: E/1
  • Core/Insulation Crimp: Pins: A-F: E/4
  • Release Tool/Test Probe: 15315247/J-35616-3 (GY)

C402 Body Harness to RPA Harness (Export)

Pin

Wire Color

Circuit No.

Function

Pin

Wire Color

Circuit No.

Function

A

D-BU

2374

Object Sensor Supply Voltage

A

D-BU

2374

Object Sensor Supply Voltage

B

YE

2375

LR Corner Object Sensor Signal

B

YE

2375

LR Corner Object Sensor Signal

C

GY

2379

Object Sensor Low Reference

C

GY

2379

Object Sensor Low Reference

D

OG

2376

LR Middle Object Sensor Signal

D

OG

2376

LR Middle Object Sensor Signal

E

D-GN

2377

RR Middle Object Sensor Signal

E

D-GN

2377

RR Middle Object Sensor Signal

F

PU

2378

RR Corner Object Sensor Signal

F

PU

2378

RR Corner Object Sensor Signal

G

YE

14

Left Turn Signal Lamps Supply Voltage (T79)

G

YE

1618

Left Turn Signal Lamps Supply Voltage (T79)

H

PU/WH

5188

Trailer Brake Lamp (T79)

H

--

--

Not Used

J

D-GN

15

Right Turn Signal Lamps Supply Voltage (T79)

J

D-GN

1619

Right Turn Signal Lamps Supply Voltage (T79)

K

BN

2209

Rear Park Lamps Supply Voltage (T79)

K

BN

2209

Rear Park Lamps Supply Voltage (T79)

L

--

--

Not Used

L

--

--

Not Used

M

BK

850

Ground

M

BK

850

Ground

C403 Liftgate Harness to Body Harness


Object Number: 1283895  Size: CH

Object Number: 1409646  Size: CH

Connector Part Information

  • OEM: 15318080
  • Service: 21019410
  • Description: 2-Way F Metri-Pack 280 Series (BK)

Connector Part Information

  • OEM: 12147517
  • Service: 89046851
  • Description: 2-Way M Metri-Pack 280 Series (BK)

Terminal Part Information

  • Terminal/Tray: See Terminal Repair Kit
  • Core/Insulation Crimp: See Terminal Repair Kit
  • Release Tool/Test Probe: See Terminal Repair Kit

Terminal Part Information

  • Terminal/Tray: 12084586/4
  • Core/Insulation Crimp: F/G
  • Release Tool/Test Probe: 12094430/J-35616-5 (PU)

C403 Liftgate Harness to Body Harness

Pin

Wire Color

Circuit No.

Function

Pin

Wire Color

Circuit No.

Function

1

PU

293

Rear Defog Element Supply Voltage

1

PU

293

Rear Defog Element Supply Voltage

2

BK

850

Ground

2

BK

850

Ground

C404 Liftgate Harness to Body Harness


Object Number: 62439  Size: CH

Object Number: 1711003  Size: CH

Connector Part Information

  • OEM: 12047886
  • Service: 12101822
  • Description: 8-Way F Metri-Pack 150 Series (BK)

Connector Part Information

  • OEM: 12045688
  • Service: 12101827
  • Description: 8-Way M Metri-Pack 150 Series (BK)

Terminal Part Information

  • Pins: A-B, F
  • Terminal/Tray: 12064971/5
  • Core/Insulation Crimp: E/C
  • Release Tool/Test Probe: 12094429/J-35616-2A (GY)
  • Pins: C-E, G-H
  • Terminal/Tray: 12047767/2
  • Core/Insulation Crimp: E/A
  • Release Tool/Test Probe: 12094429/J-35616-2A (GY)

Terminal Part Information

  • Pins: A-H
  • Terminal/Tray: 12047581/2
  • Core/Insulation Crimp: Pins: C-E, G-H: E/A
  • Core/Insulation Crimp: Pins: A-B, F: E/C
  • Release Tool/Test Probe: 12094429/J-35616-3 (GY)

C404 Liftgate Harness to Body Harness

Pin

Wire Color

Circuit No.

Function

Pin

Wire Color

Circuit No.

Function

A

D-GN

5512

Liftgate Latch Sector Switch Signal

A

D-GN

5512

Liftgate Latch Sector Switch Signal

B

GY

7000

Liftgate Latch Pawl Switch Signal

B

GY

7000

Liftgate Latch Pawl Switch Signal

C

L-GN

24

Backup Lamp Supply Voltage

C

L-GN

24

Backup Lamp Supply Voltage

D

L-GN

2270

Rear Window Washer Relay Control

D

L-GN

2270

Rear Window Washer Relay Control

E

YE

443

Accessory Voltage

E

YE

443

Accessory Voltage

F

L-GN/WH

6114

Low Reference

F

L-GN/WH

6114

Low Reference

G

L-BU

5791

Liftgate Latch Motor Close Control

G

L-BU

5791

Liftgate Latch Motor Close Control

H

BN

5790

Liftgate Latch Motor Open Control

H

BN

5790

Liftgate Latch Motor Open Control

C420 Body Harness to Fuel Tank Harness


Object Number: 655815  Size: CH

Object Number: 655819  Size: CH

Connector Part Information

  • OEM: 15326660
  • Service: 88986262
  • Description: 10-Way F GT 280 Sealed 5.8 (BK)

Connector Part Information

  • OEM: 15326661
  • Service: 88986245
  • Description: 10-Way M GT 280 Series Sealed (BK)

Terminal Part Information

  • Pins: B-C, E, J
  • Terminal/Tray: 15304719/19
  • Core/Insulation Crimp: Pins: B-C, E: 2/5
  • Core/Insulation Crimp: Pins: J: E/5
  • Release Tool/Test Probe: 15315247/J-35616-4A (PU)
  • Pins: A, K
  • Terminal/Tray: 15304720/19
  • Core/Insulation Crimp: 4/5
  • Release Tool/Test Probe: 15315247/J-35616-4A (PU)
  • Pins: D, F-G
  • Terminal/Tray: See Terminal Repair Kit
  • Core/Insulation Crimp: See Terminal Repair Kit
  • Release Tool/Test Probe: See Terminal Repair Kit

Terminal Part Information

  • Pins: A-G, J-K
  • Terminal/Tray: See Terminal Repair Kit
  • Core/Insulation Crimp: See Terminal Repair Kit
  • Release Tool/Test Probe: See Terminal Repair Kit

C420 Body Harness to Fuel Tank Harness

Pin

Wire Color

Circuit No.

Function

Pin

Wire Color

Circuit No.

Function

A

GY

120

Fuel Pump Supply Voltage

A

GY

120

Fuel Pump Supply Voltage

B

D-GN

890

Fuel Tank Pressure Sensor Signal

B

D-GN

890

Fuel Tank Pressure Sensor Signal

C

GY

2709

5-Volt Reference

C

GY

2709

5-Volt Reference

D

WH

1310

EVAP Canister Vent Solenoid Control

D

WH

1310

EVAP Canister Vent Solenoid Control

E

TN

2759

Low Reference

E

TN

2759

Low Reference

F

D-BU

1936

Fuel Level Sensor Signal (Primary)

F

L-BU

1937

Fuel Level Sensor Signal (Secondary)

G

L-BU

1937

Fuel Level Sensor Signal (Secondary)

G

D-BU

1936

Fuel Level Sensor Signal (Primary)

H

--

--

Not Used

H

--

--

Not Used

J

RD/WH

2940

Battery Positive Voltage

J

RD/WH

2940

Battery Positive Voltage

K

BK

1050

Ground

K

BK

1050

Ground

C500 Body Harness to Left Front Door Harness (LHD)


Object Number: 823290  Size: CH

Object Number: 1283905  Size: CH

Connector Part Information

  • OEM: 7283-6447-40
  • Service: 88956524
  • Description: 14-Way F Hybrid Series (L-GY)

Connector Part Information

  • OEM: 7282-6447-40
  • Service: 88956523
  • Description: 14-Way M Hybrid Series (L-GY)

Terminal Part Information

  • Pins: 8, 14
  • Terminal/Tray: 7116-4110-02/9
  • Core/Insulation Crimp: E/C
  • Release Tool/Test Probe: 12094430/J-35616-4A (PU)
  • Pins: 3, 11-13
  • Terminal/Tray: 7116-4100-08/9
  • Core/Insulation Crimp: E/C
  • Release Tool/Test Probe: 12094430/J-35616-2A (GY)
  • Pins: 2, 5-6
  • Terminal/Tray: 7116-4101-08/9
  • Core/Insulation Crimp: E/A
  • Release Tool/Test Probe: 12094430/J-35616-2A (GY)
  • Pins: 1, 7
  • Terminal/Tray: 7116-4112-02/9
  • Core/Insulation Crimp: C/D
  • Release Tool/Test Probe: 12094430/J-35616-35 (VT)

Terminal Part Information

  • Pins: 8, 14
  • Terminal/Tray: 7114-4110-02/9
  • Core/Insulation Crimp: E/C
  • Release Tool/Test Probe: 12094430/J-35616-5 (PU)
  • Pins: 5-6
  • Terminal/Tray: 7114-4101-08/9
  • Core/Insulation Crimp: C/A
  • Release Tool/Test Probe: 15315247/J-35616-3 (GY)
  • Pins: 3, 12
  • Terminal/Tray: 7114-4100-08/9
  • Core/Insulation Crimp: E/C
  • Release Tool/Test Probe: 15315247/J-35616-3 (GY)
  • Pins: 1, 7
  • Terminal/Tray: 7114-4112-02/9
  • Core/Insulation Crimp: C/D
  • Release Tool/Test Probe: 12094430/J-35616-5 (PU)
  • Pins: 11
  • Terminal/Tray: See Terminal Repair Kit
  • Core/Insulation Crimp: See Terminal Repair Kit
  • Release Tool/Test Probe: See Terminal Repair Kit
  • Pins: 2
  • Terminal/Tray: 7116-4101-08/9
  • Core/Insulation Crimp: E/A
  • Release Tool/Test Probe: 12094430/J-35616-2A (GY)
  • Pins: 13
  • Terminal/Tray: 7116-4100-08/9
  • Core/Insulation Crimp: E/C
  • Release Tool/Test Probe: 12094430/J-35616-2A (GY)

C500 Body Harness to Left Front Door Harness (LHD)

Pin

Wire Color

Circuit No.

Function

Pin

Wire Color

Circuit No.

Function

1

RD/WH

1040

Battery Positive Voltage

1

RD/WH

1040

Battery Positive Voltage

2

RD/WH

640

Battery Positive Voltage

2

RD/WH

640

Battery Positive Voltage

3

BN

6132

Linear Interconnect Network Bus 1

3

BN

6132

Linear Interconnect Network Bus 1

BN

6132

Linear Interconnect Network Bus 1

4

--

--

Not Used

4

--

--

Not Used

5

GY

118

Left Front Speaker Output (-) (UQA/UQS)

5

GY

118

Left Front Speaker Output (-) (UQA/UQS)

6

TN

201

Left Front Speaker Output (+) (UQA/UQS)

6

TN

201

Left Front Speaker Output (+) (UQA/UQS)

7

BK

350

Ground

7

BK

350

Ground

8

PK

5864

Power Window Driver Switch Voltage Reference

8

PK

5864

Power Window Driver Switch Voltage Reference

9-10

--

--

Not Used

9-10

--

--

Not Used

11

BN

6710

Power Window Switch Left Rear Signal

11

BN

6710

Power Window Switch Left Rear Signal

12

GY

1690

Automatic Day/Night Mirror Signal (DR2/DR4)

12

GY

1690

Automatic Day/Night Mirror Signal (DR2/DR4)

13

D-GN

5060

Low Speed GMLAN Serial Data

13

D-GN

5060

Low Speed GMLAN Serial Data

14

PK

1691

Automatic Day/Night Mirror Low Reference (DR2/DR4)

14

PK

1691

Automatic Day/Night Mirror Low Reference (DR2/DR4)

C500 Body Harness to Left Front Door Harness (RHD)


Object Number: 823290  Size: CH

Object Number: 1283905  Size: CH

Connector Part Information

  • OEM: 7283-6447-40
  • Service: See Catalog
  • Description: 14-Way F Hybrid Series (GY)

Connector Part Information

  • OEM: 7282-6447-40
  • Service: See Catalog
  • Description: 14-Way M Hybrid Series (GY)

Terminal Part Information

  • Pins: 8
  • Terminal/Tray: 7116-4110-02/9
  • Core/Insulation Crimp: E/C
  • Release Tool/Test Probe: 12094430/J-35616-4A (PU)
  • Pins: 3, 11, 13
  • Terminal/Tray: 7116-4100-08/9
  • Core/Insulation Crimp: E/C
  • Release Tool/Test Probe: 12094430/J-35616-2A (GY)
  • Pins: 2, 5-6
  • Terminal/Tray: 7116-4101-08/9
  • Core/Insulation Crimp: E/A
  • Release Tool/Test Probe: 12094430/J-35616-2A (GY)
  • Pins: 1, 7
  • Terminal/Tray: 7116-4112-02/9
  • Core/Insulation Crimp: C/D
  • Release Tool/Test Probe: 12094430/J-35616-35 (VT)

Terminal Part Information

  • Pins: 8
  • Terminal/Tray: 7114-4110-02/9
  • Core/Insulation Crimp: E/C
  • Release Tool/Test Probe: 12094430/J-35616-5 (PU)
  • Pins: 3, 5-6
  • Terminal/Tray: 7114-4101-08/9
  • Core/Insulation Crimp: Pins: 5-6: C/A
  • Core/Insulation Crimp: Pins: 3: See Terminal Repair Kit
  • Release Tool/Test Probe: 15315247/J-35616-3 (GY)
  • Pins: 11, 13
  • Terminal/Tray: 7114-4100-08/9
  • Core/Insulation Crimp: E/C
  • Release Tool/Test Probe: 15315247/J-35616-3 (GY)
  • Pins: 1, 7
  • Terminal/Tray: 7114-4112-02/9
  • Core/Insulation Crimp: C/D
  • Release Tool/Test Probe: 12094430/J-35616-5 (PU)
  • Pins: 2-3
  • Terminal/Tray: 7116-4101-08/9
  • Core/Insulation Crimp: E/A
  • Release Tool/Test Probe: 12094430/J-35616-2A (GY)

C500 Body Harness to Left Front Door Harness (RHD)

Pin

Wire Color

Circuit No.

Function

Pin

Wire Color

Circuit No.

Function

1

RD/WH

1040

Battery Positive Voltage

1

RD/WH

1040

Battery Positive Voltage

2

RD/WH

740

Battery Positive Voltage

2

RD-WH

740

Battery Positive Voltage

3

D-BU

6133

Linear Interconnect Network Bus 2

3

D-BU

6133

Linear Interconnect Network Bus 2

D-BU

6133

Linear Interconnect Network Bus 2

4

--

--

Not Used

4

--

--

Not Used

5

GY

118

Left Front Speaker Output (-) (UQS/UQA)

5

GY

118

Left Front Speaker Output (-) (UQS/UQA)

6

TN

201

Left Front Speaker Output (+) (UQS/UQA)

6

TN

201

Left Front Speaker Output (+) (UQS/UQA)

7

BK

350

Ground

7

BK

450

Ground

8

PK

5865

Power Window Passenger Switch Voltage Reference

8

PK

5865

Power Window Passenger Switch Voltage Reference

9-10

--

--

Not Used

9-10

--

--

Not Used

11

BN

6710

Power Window Switch Right Rear Signal

11

BN

6709

Power Window Switch Right Rear Signal

12

--

--

Not Used

12

--

--

Not Used

13

D-GN

5060

Low Speed GMLAN Serial Data

13

D-GN

5060

Low Speed GMLAN Serial Data

14

--

--

Not Used

14

--

--

Not Used

C501 Left Front Door Harness to Left Front Door Trim Harness (LHD)


Object Number: 823304  Size: CH

Object Number: 889498  Size: CH

Connector Part Information

  • OEM: 7283-4848-30
  • Service: See Catalog
  • Description: 12-Way F CONN (BK)

Connector Part Information

  • OEM: 7282-4848-30
  • Service: See Catalog
  • Description: 12-Way M CONN (BK)

Terminal Part Information

  • Pins: 2-10
  • Terminal/Tray: 7116-4100-08/9
  • Core/Insulation Crimp: E/C
  • Release Tool/Test Probe: 12094430/J-35616-2A (GY)
  • Pins: 1
  • Terminal/Tray: 7116-4101-08/9
  • Core/Insulation Crimp: E/A
  • Release Tool/Test Probe: 12094430/J-35616-2A (GY)

Terminal Part Information

  • Pins: 1-2
  • Terminal/Tray: 7114-4101-08/9
  • Core/Insulation Crimp: E/A
  • Release Tool/Test Probe: 15315247/J-35616-3 (GY)
  • Pins: 3-5, 7-9, 11-12
  • Terminal/Tray: 7114-4100-08/9
  • Core/Insulation Crimp: E/C
  • Release Tool/Test Probe: 15315247/J-35616-3 (GY)
  • Pins: 6
  • Terminal/Tray: 7116-4618-02/14
  • Core/Insulation Crimp: P/P
  • Release Tool/Test Probe: J-38125-215/J-35616-64B (L-BU)

C501 Left Front Door Harness to Left Front Door Trim Harness (LHD)

Pin

Wire Color

Circuit No.

Function

Pin

Wire Color

Circuit No.

Function

1

RD/WH

640

Battery Positive Voltage

1

RD/WH

640

Battery Positive Voltage

2

BK

350

Ground

2

BK

350

Ground

3

L-GN

262

Driver Door Key Switch Signal

3

L-GN

262

Driver Door Key Switch Signal

4

TN

126

Left Front Door Open Switch Signal

4

TN

126

Left Front Door Open Switch Signal

5

GY/BK

745

Left Front Door Ajar Switch Signal

5

GY/BK

745

Left Front Door Ajar Switch Signal

6

D-GN

5060

Low Speed GMLAN Serial Data

6

D-GN

5060

Low Speed GMLAN Serial Data

7

BN

6132

Linear Interconnect Network Bus 1

7

BN

6132

Linear Interconnect Network Bus 1

8

TN

694

Driver Door Lock Actuator Unlock Control

8

TN

694

Driver Door Lock Actuator Unlock Control

9

GY

295

Door Lock Actuator Lock Control

9

GY

295

Door Lock Actuator Lock Control

10

--

--

Not Used

10

--

--

Not Used

11

BN

6710

Power Window Switch Left Rear Signal

11

BN

6710

Power Window Switch Left Rear Signal

12

PK

5864

Power Window Driver Switch Voltage Reference

12

PK

5864

Power Window Driver Switch Voltage Reference

C501 Left Front Door Harness to Left Front Door Trim Harness (RHD)


Object Number: 823304  Size: CH

Object Number: 889498  Size: CH

Connector Part Information

  • OEM: 7283-4848-30
  • Service: See Catalog
  • Description: 12-Way F (BK)

Connector Part Information

  • OEM: 7282-4848-30
  • Service: See Catalog
  • Description: 12-Way M Dock and Lock (BK)

Terminal Part Information

  • Pins: 4-6, 7, 11-12
  • Terminal/Tray: 7116-4100-08/9
  • Core/Insulation Crimp: E/C
  • Release Tool/Test Probe: 12094430/J-35616-2A (GY)
  • Pins: 1-2, 8-10
  • Terminal/Tray: 7116-4101-08/9
  • Core/Insulation Crimp: E/A
  • Release Tool/Test Probe: 12094430/J-35616-2A (GY)

Terminal Part Information

  • Pins: 1-2
  • Terminal/Tray: 7114-4101-08/9
  • Core/Insulation Crimp: E/A
  • Release Tool/Test Probe: 15315247/J-35616-3 (GY)
  • Pins: 4-12
  • Terminal/Tray: 7114-4100-08/9
  • Core/Insulation Crimp: E/C
  • Release Tool/Test Probe: 15315247/J-35616-3 (GY)

C501 Left Front Door Harness to Left Front Door Trim Harness (RHD)

Pin

Wire Color

Circuit No.

Function

Pin

Wire Color

Circuit No.

Function

1

RD/WH

740

Battery Positive Voltage

1

RD/WH

740

Battery Positive Voltage

2

BK

450

Ground

2

BK

450

Ground

3

--

--

Not Used

3

--

--

Not Used

4

L-GN

1177

Right Front Door Open Switch Signal

4

L-GN

1177

Right Front Door Open Switch Signal

5

TN/WH

746

Right Front Door Ajar Switch Signal

5

TN/WH

746

Right Front Door Ajar Switch Signal

6

D-GN

5060

Low Speed GMLAN Serial Data

6

D-GN

5060

Low Speed GMLAN Serial Data

7

D-BU

6133

Linear Interconnect Network Bus 2

7

D-BU

6133

Linear Interconnect Network Bus 2

8

TN

294

Door Lock Actuator Unlock Control

8

TN

294

Door Lock Actuator Unlock Control

9

GY

295

Door Lock Actuator Lock Control

9

GY

295

Door Lock Actuator Lock Control

10

D-BU

5132

Front Passenger Door Lock Actuator Deadbolt Control (UTB/UTC)

10

D-BU

5132

Front Passenger Door Lock Actuator Deadbolt Control (UTB/UTC)

11

BN

6709

Power Window Switch Right Rear Signal

11

BN

6709

Power Window Switch Right Rear Signal

12

PK

5865

Power Window Passenger Switch Voltage Reference

12

PK

5865

Power Window Passenger Switch Voltage Reference

C502 Left Front Door Harness to Left Front Door Trim Harness (LHD)


Object Number: 823304  Size: CH

Object Number: 889498  Size: CH

Connector Part Information

  • OEM: 7283-4848-30
  • Service: See Catalog
  • Description: 12-Way F CONN (BK)

Connector Part Information

  • OEM: 7282-4848-30
  • Service: See Catalog
  • Description: 12-Way M CONN (BK)

Terminal Part Information

  • Pins: 3-7, 9, 11
  • Terminal/Tray: 7116-4100-08/9
  • Core/Insulation Crimp: Pins: 3-7, 11: E/C
  • Core/Insulation Crimp: Pins: 9: See Terminal Repair Kit
  • Release Tool/Test Probe: 12094430/J-35616-2A (GY)
  • Pins: 1-2, 8, 12
  • Terminal/Tray: 7116-4101-08/9
  • Core/Insulation Crimp: Pins: 1-2, 8: E/A
  • Core/Insulation Crimp: Pins: 12: See Terminal Repair Kit
  • Release Tool/Test Probe: 12094430/J-35616-2A (GY)

Terminal Part Information

  • Pins: 1-10
  • Terminal/Tray: 7114-4100-08/9
  • Core/Insulation Crimp: E/C
  • Release Tool/Test Probe: 15315247/J-35616-3 (GY)

C502 Left Front Door Harness to Left Front Door Trim Harness (LHD)

Pin

Wire Color

Circuit No.

Function

Pin

Wire Color

Circuit No.

Function

1

WH

606

Driver Mirror Heating Element Supply Voltage

1

WH

606

Driver Mirror Heating Element Supply Voltage

2

YE

190

Driver Folding Mirror Motor Extend Control (DR4)

2

YE

190

Driver Folding Mirror Motor Extend Control (DR4)

3

L-BU

191

Driver Folding Mirror Motor Retract Control (DR4)

3

L-BU

191

Driver Folding Mirror Motor Retract Control (DR4)

4

D-GN

784

Driver Mirror Vertical Position Sensor Signal (A45)

4

D-GN

784

Driver Mirror Vertical Position Sensor Signal (A45)

5

D-BU/WH

6160

Outside Left Mirror Vertical Position Control

5

D-BU/WH

6160

Outside Left Mirror Vertical Position Control

6

WH

7197

Outside Left Mirror Drive Motor Common

6

WH

7197

Outside Left Mirror Drive Motor Common

7

D-GN/WH

6159

Outside Left Mirror Horizontal Position Control

7

D-GN/WH

6159

Outside Left Mirror Horizontal Position Control

8

BN

673

Low Reference (A45)

8

BN

673

Low Reference (A45)

9

GY

786

Driver Mirror Horizontal Position Sensor Signal (A45)

9

GY

786

Driver Mirror Horizontal Position Sensor Signal (A45)

10

D-BU

672

5-Volt Reference (A45)

10

D-BU

672

5-Volt Reference (A45)

11-12

--

--

Not Used

11-12

--

--

Not Used

C502 Left Front Door Harness to Left Front Door Trim Harness (RHD)


Object Number: 823304  Size: CH

Object Number: 889498  Size: CH

Connector Part Information

  • OEM: 7283-4848-30
  • Service: See Catalog
  • Description: 12-Way F (BK)

Connector Part Information

  • OEM: 7282-4848-30
  • Service: See Catalog
  • Description: 12-Way M Dock and Lock (BK)

Terminal Part Information

  • Pins: 2-10
  • Terminal/Tray: 7116-4100-08/9
  • Core/Insulation Crimp: E/C
  • Release Tool/Test Probe: 12094430/J-35616-2A (GY)
  • Pins: 1
  • Terminal/Tray: 7116-4101-08/9
  • Core/Insulation Crimp: E/A
  • Release Tool/Test Probe: 12094430/J-35616-2A (GY)

Terminal Part Information

  • Terminal/Tray: 7114-4100-08/9
  • Core/Insulation Crimp: E/C
  • Release Tool/Test Probe: 15315247/J-35616-3 (GY)

C502 Left Front Door Harness to Left Front Door Trim Harness (RHD)

Pin

Wire Color

Circuit No.

Function

Pin

Wire Color

Circuit No.

Function

1

PU

607

Passenger Mirror Heating Element Supply Voltage

1

PU

607

Passenger Mirror Heating Element Supply Voltage

2

YE

5004

Passenger Folding Mirror Motor Extend Control (DR4)

2

YE

5004

Passenger Folding Mirror Motor Extend Control (DR4)

3

L-BU

5023

Passenger Folding Mirror Motor Retract Control (DR4)

3

L-BU

5023

Passenger Folding Mirror Motor Retract Control (DR4)

4

BN

787

Passenger Mirror Vertical Position Sensor Signal (A45)

4

BN

787

Passenger Mirror Vertical Position Sensor Signal (A45)

5

OG/BK

6162

Outside Right Mirror Vertical Position Control

5

OG/BK

6162

Outside Right Mirror Vertical Position Control

6

WH

7196

Outside Right Mirror Drive Motor Common

6

WH

7196

Outside Right Mirror Drive Motor Common

7

GY/BK

6161

Outside Right Mirror Horizontal Position Control

7

GY/BK

6161

Outside Right Mirror Horizontal Position Control

8

L-GN

675

Low Reference (A45)

8

L-GN

675

Low Reference (A45)

9

L-BU/BK

785

Passenger Mirror Horizontal Position Sensor Signal (A45)

9

L-BU/BK

785

Passenger Mirror Horizontal Position Sensor Signal (A45)

10

YE

674

5-Volt Reference (A45)

10

YE

674

5-Volt Reference (A45)

11-12

--

--

Not Used

11-12

--

--

Not Used

C600 Body Harness to Right Front Door Harness (LHD)


Object Number: 823290  Size: CH

Object Number: 1283905  Size: CH

Connector Part Information

  • OEM: 7283-6447-40
  • Service: 88956524
  • Description: 14-Way F Hybrid Series (L-GY)

Connector Part Information

  • OEM: 7282-6447-40
  • Service: 88956523
  • Description: 14-Way M Hybrid Series (L-GY)

Terminal Part Information

  • Pins: 8
  • Terminal/Tray: 7116-4110-02/9
  • Core/Insulation Crimp: E/C
  • Release Tool/Test Probe: 12094430/J-35616-4A (PU)
  • Pins: 3, 11, 13
  • Terminal/Tray: 7116-4100-08/9
  • Core/Insulation Crimp: E/C
  • Release Tool/Test Probe: 12094430/J-35616-2A (GY)
  • Pins: 2, 5-6
  • Terminal/Tray: 7116-4101-08/9
  • Core/Insulation Crimp: Pins: 6: C/A
  • Core/Insulation Crimp: Pins: 2, 5: E/A
  • Release Tool/Test Probe: 12094430/J-35616-2A (GY)
  • Pins: 1, 7
  • Terminal/Tray: 7116-4112-02/9
  • Core/Insulation Crimp: C/D
  • Release Tool/Test Probe: 12094430/J-35616-35 (VT)

Terminal Part Information

  • Pins: 8
  • Terminal/Tray: 7114-4110-02/9
  • Core/Insulation Crimp: E/C
  • Release Tool/Test Probe: 12094430/J-35616-5 (PU)
  • Pins: 3, 5-6
  • Terminal/Tray: 7114-4101-08/9
  • Core/Insulation Crimp: Pins: 5, 6: C/A
  • Core/Insulation Crimp: Pins: 3: See Terminal Repair Kit
  • Release Tool/Test Probe: 15315247/J-35616-3 (GY)
  • Pins: 11, 13
  • Terminal/Tray: 7114-4100-08/9
  • Core/Insulation Crimp: E/C
  • Release Tool/Test Probe: 15315247/J-35616-3 (GY)
  • Pins: 1, 7
  • Terminal/Tray: 7114-4112-02/9
  • Core/Insulation Crimp: C/D
  • Release Tool/Test Probe: 12094430/J-35616-5 (PU)
  • Pins: 2
  • Terminal/Tray: 7116-4101-08/9
  • Core/Insulation Crimp: E/A
  • Release Tool/Test Probe: 12094430/J-35616-2A (GY)

C600 Body Harness to Right Front Door Harness (LHD)

Pin

Wire Color

Circuit No.

Function

Pin

Wire Color

Circuit No.

Function

1

RD/WH

1040

Battery Positive Voltage

1

RD/WH

1040

Battery Positive Voltage

2

RD/WH

740

Battery Positive Voltage

2

RD/WH

740

Battery Positive Voltage

3

D-BU

6133

Linear Interconnect Network Bus 2

3

D-BU

6133

Linear Interconnect Network Bus 2

D-BU

6133

Linear Interconnect Network Bus 2

4

--

--

Not Used

4

--

--

Not Used

5

D-GN

117

Right Front Speaker Output (-) (UQA/UQS)

5

D-GN

117

Right Front Speaker Output (-) (UQA/UQS)

6

L-GN

200

Right Front Speaker Output (+) (UQA/UQS)

6

L-GN

200

Right Front Speaker Output (+) (UQA/UQS)

7

BK

450

Ground

7

BK

450

Ground

8

PK

5865

Power Window Passenger Switch Voltage Reference

8

PK

5865

Power Window Passenger Switch Voltage Reference

9-10

--

--

Not Used

9-10

--

--

Not Used

11

BN

6709

Power Window Switch Right Rear Signal

11

BN

6709

Power Window Switch Right Rear Signal

12

--

--

Not Used

12

--

--

Not Used

13

D-GN

5060

Low Speed GMLAN Serial Data

13

D-GN

5060

Low Speed GMLAN Serial Data

14

--

--

Not Used

14

--

--

Not Used

C600 Body Harness to Right Front Door Harness (RHD)


Object Number: 823290  Size: CH

Object Number: 1283905  Size: CH

Connector Part Information

  • OEM: 7283-6447-40
  • Service: See Catalog
  • Description: 14-Way F Hybrid Series (GY)

Connector Part Information

  • OEM: 7282-6447-40
  • Service: See Catalog
  • Description: 14-Way M Hybrid Series (GY)

Terminal Part Information

  • Pins: 8, 14
  • Terminal/Tray: 7116-4110-02/9
  • Core/Insulation Crimp: E/C
  • Release Tool/Test Probe: 12094430/J-35616-4A (PU)
  • Pins: 3, 11, 13
  • Terminal/Tray: 7116-4100-08/9
  • Core/Insulation Crimp: E/C
  • Release Tool/Test Probe: 12094430/J-35616-2A (GY)
  • Pins: 2, 5-6, 12
  • Terminal/Tray: 7116-4101-08/9
  • Core/Insulation Crimp: Pins: 5, 6: C/A
  • Core/Insulation Crimp: Pins: 2: E/A
  • Core/Insulation Crimp: Pins: 12: See Terminal Repair Kit
  • Release Tool/Test Probe: 12094430/J-35616-2A (GY)
  • Pins: 1, 7
  • Terminal/Tray: 7116-4112-02/9
  • Core/Insulation Crimp: C/D
  • Release Tool/Test Probe: 12094430/J-35616-35 (VT)

Terminal Part Information

  • Pins: 8, 14
  • Terminal/Tray: 7114-4110-02/9
  • Core/Insulation Crimp: E/C
  • Release Tool/Test Probe: 12094430/J-35616-5 (PU)
  • Pins: 3, 5-6
  • Terminal/Tray: 7114-4101-08/9
  • Core/Insulation Crimp: Pins: 5-6: C/A
  • Core/Insulation Crimp: Pins: 3: See Terminal Repair Kit
  • Release Tool/Test Probe: 15315247/J-35616-3 (GY)
  • Pins: 11-13
  • Terminal/Tray: 7114-4100-08/9
  • Core/Insulation Crimp: E/C
  • Release Tool/Test Probe: 15315247/J-35616-3 (GY)
  • Pins: 1, 7
  • Terminal/Tray: 7114-4112-02/9
  • Core/Insulation Crimp: C/D
  • Release Tool/Test Probe: 12094430/J-35616-5 (PU)
  • Pins: 2-3
  • Terminal/Tray: 7116-4101-08/9
  • Core/Insulation Crimp: E/A
  • Release Tool/Test Probe: 12094430/J-35616-2A (GY)

C600 Body Harness to Right Front Door Harness (RHD)

Pin

Wire Color

Circuit No.

Function

Pin

Wire Color

Circuit No.

Function

1

RD/WH

1040

Battery Positive Voltage

1

RD/WH

1040

Battery Positive Voltage

2

RD/WH

640

Battery Positive Voltage

2

RD/WH

640

Battery Positive Voltage

3

BN

6132

Linear Interconnect Network Bus 1

3

BN

6132

Linear Interconnect Network Bus 1

BN

6132

Linear Interconnect Network Bus 1

4

--

--

Not Used

4

--

--

Not Used

5

D-GN

117

Right Front Speaker Output (-) (UQA/UQS)

5

D-GN

117

Right Front Speaker Output (-) (UQA/UQS)

6

L-GN

200

Right Front Speaker Output (+) (UQA/UQS)

6

L-GN

200

Right Front Speaker Output (+) (UQA/UQS)

7

BK

450

Ground

7

BK

350

Ground

8

PK

5864

Power Window Driver Switch Voltage Reference

8

PK

5864

Power Window Driver Switch Voltage Reference

9-10

--

--

Not Used

9-10

--

--

Not Used

11

BN

6709

Power Window Switch Right Rear Signal

11

BN

6710

Power Window Switch Left Rear Signal

12

GY

1690

Automatic Day/Night Mirror Signal (DR2/DR4)

12

GY

1690

Automatic Day/Night Mirror Signal (DR2/DR4)

13

D-GN

5060

Low Speed GMLAN Serial Data

13

D-GN

5060

Low Speed GMLAN Serial Data

14

PK

1691

Automatic Day/Night Mirror Low Reference (DR2/DR4)

14

PK

1691

Automatic Day/Night Mirror Low Reference (DR2/DR4)

C601 Right Front Door Harness to Right Front Door Trim Harness (LHD)


Object Number: 823304  Size: CH

Object Number: 889498  Size: CH

Connector Part Information

  • OEM: 7283-4848-30
  • Service: See Catalog
  • Description: 12-Way F CONN (BK)

Connector Part Information

  • OEM: 7282-4848-30
  • Service: See Catalog
  • Description: 12-Way M CONN (BK)

Terminal Part Information

  • Pins: 4-7, 11-12
  • Terminal/Tray: 7116-4100-08/9
  • Core/Insulation Crimp: E/C
  • Release Tool/Test Probe: 12094430/J-35616-2A (GY)
  • Pins: 1-2, 8-9
  • Terminal/Tray: 7116-4101-08/9
  • Core/Insulation Crimp: E/A
  • Release Tool/Test Probe: 12094430/J-35616-2A (GY)

Terminal Part Information

  • Pins: 1-2
  • Terminal/Tray: 7114-4101-08/9
  • Core/Insulation Crimp: E/A
  • Release Tool/Test Probe: 15315247/J-35616-3 (GY)
  • Pins: 4-9, 11-12
  • Terminal/Tray: 7114-4100-08/9
  • Core/Insulation Crimp: E/C
  • Release Tool/Test Probe: 15315247/J-35616-3 (GY)

C601 Right Front Door Harness to Right Front Door Trim Harness (LHD)

Pin

Wire Color

Circuit No.

Function

Pin

Wire Color

Circuit No.

Function

1

RD/WH

740

Battery Positive Voltage

1

RD/WH

740

Battery Positive Voltage

2

BK

450

Ground

2

BK

450

Ground

3

--

--

Not Used

3

--

--

Not Used

4

L-GN

1177

Right Front Door Open Switch Signal

4

L-GN

1177

Right Front Door Open Switch Signal

5

TN/WH

746

Right Front Door Ajar Switch Signal

5

TN/WH

746

Right Front Door Ajar Switch Signal

6

D-GN

5060

Low Speed GMLAN Serial Data

6

D-GN

5060

Low Speed GMLAN Serial Data

7

D-BU

6133

Linear Interconnect Network Bus 2

7

D-BU

6133

Linear Interconnect Network Bus 2

8

TN

294

Door Lock Actuator Unlock Control

8

TN

294

Door Lock Actuator Unlock Control

9

GY

295

Door Lock Actuator Lock Control

9

GY

295

Door Lock Actuator Lock Control

10

--

--

Not Used

10

--

--

Not Used

11

BN

6709

Power Window Switch Right Rear Signal

11

BN

6709

Power Window Switch Right Rear Signal

12

PK

5865

Power Window Passenger Switch Voltage Reference

12

PK

5865

Power Window Passenger Switch Voltage Reference

C601 Right Front Door Harness to Right Front Door Trim Harness (RHD)


Object Number: 823304  Size: CH

Object Number: 889498  Size: CH

Connector Part Information

  • OEM: 7283-4848-30
  • Service: See Catalog
  • Description: 12-Way F (BK)

Connector Part Information

  • OEM: 7282-4848-30
  • Service: See Catalog
  • Description: 12-Way M Dock and Lock (BK)

Terminal Part Information

  • Pins: 3-6, 11-12
  • Terminal/Tray: 7116-4100-08/9
  • Core/Insulation Crimp: E/C
  • Release Tool/Test Probe: 12094430/J-35616-2A (GY)
  • Pins: 2, 8-10
  • Terminal/Tray: 7116-4101-08/9
  • Core/Insulation Crimp: E/A
  • Release Tool/Test Probe: 12094430/J-35616-2A (GY)
  • Pins: 1
  • Terminal/Tray: 7114-4101-08/9
  • Core/Insulation Crimp: E/A
  • Release Tool/Test Probe: 15315247/J-35616-3 (GY)
  • Pins: 7
  • Terminal/Tray: 7114-4100-08/9
  • Core/Insulation Crimp: E/C
  • Release Tool/Test Probe: 15315247/J-35616-3 (GY)

Terminal Part Information

  • Pins: 1-2
  • Terminal/Tray: 7114-4101-08/9
  • Core/Insulation Crimp: E/A
  • Release Tool/Test Probe: 15315247/J-35616-3 (GY)
  • Pins: 3-12
  • Terminal/Tray: 7114-4100-08/9
  • Core/Insulation Crimp: E/C
  • Release Tool/Test Probe: 15315247/J-35616-3 (GY)

C601 Right Front Door Harness to Right Front Door Trim Harness (RHD)

Pin

Wire Color

Circuit No.

Function

Pin

Wire Color

Circuit No.

Function

1

RD/WH

640

Battery Positive Voltage

1

RD/WH

640

Battery Positive Voltage

2

BK

350

Ground

2

BK

350

Ground

3

L-GN

262

Driver Door Key Switch Signal

3

L-GN

262

Driver Door Key Switch Signal

4

TN

126

Left Front Door Open Switch Signal

4

TN

126

Left Front Door Open Switch Signal

5

GY/BK

745

Left Front Door Ajar Switch Signal

5

GY/BK

745

Left Front Door Ajar Switch Signal

6

D-GN

5060

Low Speed GMLAN Serial Data

6

D-GN

5060

Low Speed GMLAN Serial Data

7

BN

6132

Linear Interconnect Network Bus 1

7

BN

6132

Linear Interconnect Network Bus 1

8

TN

694

Driver Door Lock Actuator Unlock Control

8

TN

694

Driver Door Lock Actuator Unlock Control

9

GY

295

Door Lock Actuator Lock Control

9

YE

295

Door Lock Actuator Lock Control

10

BN

5131

Driver Door Lock Actuator Deadbolt Control (UTB/UTC)

10

BN

5131

Driver Door Lock Actuator Deadbolt Control (UTB/UTC)

11

BN

6710

Power Window Switch Left Rear Signal

11

BN

6710

Power Window Switch Left Rear Signal

12

PK

5864

Power Window Driver Switch Voltage Reference

12

PK

5864

Power Window Driver Switch Voltage Reference

C602 Right Front Door Harness to Right Front Door Trim Harness (LHD)


Object Number: 823304  Size: CH

Object Number: 889498  Size: CH

Connector Part Information

  • OEM: 7283-4848-30
  • Service: See Catalog
  • Description: 12-Way F CONN (BK)

Connector Part Information

  • OEM: 7282-4848-30
  • Service: See Catalog
  • Description: 12-Way M CONN (BK)

Terminal Part Information

  • Pins: 2-10
  • Terminal/Tray: 7116-4100-08/9
  • Core/Insulation Crimp: E/C
  • Release Tool/Test Probe: 12094430/J-35616-2A (GY)
  • Pins: 1
  • Terminal/Tray: 7116-4101-08/9
  • Core/Insulation Crimp: E/A
  • Release Tool/Test Probe: 12094430/J-35616-2A (GY)

Terminal Part Information

  • Terminal/Tray: 7114-4100-08/9
  • Core/Insulation Crimp: E/C
  • Release Tool/Test Probe: 15315247/J-35616-3 (GY)

C602 Right Front Door Harness to Right Front Door Trim Harness (LHD)

Pin

Wire Color

Circuit No.

Function

Pin

Wire Color

Circuit No.

Function

1

PU

607

Passenger Mirror Heating Element Supply Voltage

1

PU

607

Passenger Mirror Heating Element Supply Voltage

2

YE

5004

Passenger Folding Mirror Motor Extend Control

2

YE

5004

Passenger Folding Mirror Motor Extend Control

3

L-BU

5023

Passenger Folding Mirror Motor Retract Control

3

L-BU

5023

Passenger Folding Mirror Motor Retract Control

4

BN

787

Passenger Mirror Vertical Position Sensor Signal

4

BN

787

Passenger Mirror Vertical Position Sensor Signal

5

OG/BK

6162

Outside Right Mirror Vertical Position Control

5

OG/BK

6162

Outside Right Mirror Vertical Position Control

6

WH

7196

Outside Right Mirror Drive Motor Common

6

WH

7196

Outside Right Mirror Drive Motor Common

7

GY/BK

6161

Outside Right Mirror Horizontal Position Control

7

GY/BK

6161

Outside Right Mirror Horizontal Position Control

8

L-GN

675

Low Reference

8

L-GN

675

Low Reference

9

L-BU/BK

785

Passenger Mirror Horizontal Position Sensor Signal

9

L-BU/BK

785

Passenger Mirror Horizontal Position Sensor Signal

10

YE

674

5-Volt Reference

10

YE

674

5-Volt Reference

11-12

--

--

Not Used

11-12

--

--

Not Used

C602 Right Front Door Harness to Right Front Door Trim Harness (RHD)


Object Number: 823304  Size: CH

Object Number: 889498  Size: CH

Connector Part Information

  • OEM: 7283-4848-30
  • Service: See Catalog
  • Description: 12-Way F (BK)

Connector Part Information

  • OEM: 7282-4848-30
  • Service: See Catalog
  • Description: 12-Way M Dock and Lock (BK)

Terminal Part Information

  • Pins: 2-6, 8-10
  • Terminal/Tray: 7116-4100-08/9
  • Core/Insulation Crimp: E/C
  • Release Tool/Test Probe: 12094430/J-35616-2A (GY)
  • Pins: 1
  • Terminal/Tray: 7116-4101-08/9
  • Core/Insulation Crimp: E/A
  • Release Tool/Test Probe: 12094430/J-35616-2A (GY)
  • Pins: 7
  • Terminal/Tray: 7114-4100-08/9
  • Core/Insulation Crimp: E/C
  • Release Tool/Test Probe: 15315247/J-35616-3 (GY)

Terminal Part Information

  • Terminal/Tray: 7114-4100-08/9
  • Core/Insulation Crimp: E/C
  • Release Tool/Test Probe: 15315247/J-35616-3 (GY)

C602 Right Front Door Harness to Right Front Door Trim Harness (RHD)

Pin

Wire Color

Circuit No.

Function

Pin

Wire Color

Circuit No.

Function

1

WH

606

Driver Mirror Heating Element Supply Voltage

1

WH

606

Driver Mirror Heating Element Supply Voltage

2

YE

190

Driver Folding Mirror Motor Extend Control (DR4)

2

YE

190

Driver Folding Mirror Motor Extend Control (DR4)

3

L-BU

191

Driver Folding Mirror Motor Retract Control (DR4)

3

L-BU

191

Driver Folding Mirror Motor Retract Control (DR4)

4

D-GN

784

Driver Mirror Vertical Position Sensor Signal (A45)

4

D-GN

784

Driver Mirror Vertical Position Sensor Signal (A45)

5

D-BU/WH

6160

Outside Left Mirror Vertical Position Control

5

D-BU/WH

6160

Outside Left Mirror Vertical Position Control

6

WH

7197

Outside Left Mirror Drive Motor Common

6

WH

7197

Outside Left Mirror Drive Motor Common

7

D-GN/WH

6159

Outside Left Mirror Horizontal Position Control

7

D-GN/WH

6159

Outside Left Mirror Horizontal Position Control

8

BN

673

Low Reference (A45)

8

BN

673

Low Reference (A45)

9

GY

786

Driver Mirror Horizontal Position Sensor Signal (A45)

9

GY

786

Driver Mirror Horizontal Position Sensor Signal (A45)

10

D-BU

672

5-Volt Reference (A45)

10

D-BU

672

5-Volt Reference (A45)

11-12

--

--

Not Used

11-12

--

--

Not Used

C700 Body Harness to Left Rear Door Harness (LHD)


Object Number: 823290  Size: CH

Object Number: 1283905  Size: CH

Connector Part Information

  • OEM: 7283-6447-40
  • Service: 88956524
  • Description: 14-Way F Hybrid Series (L-GY)

Connector Part Information

  • OEM: 7282-6447-40
  • Service: 88956523
  • Description: 14-Way M Hybrid Series (L-GY)

Terminal Part Information

  • Pins: 8
  • Terminal/Tray: 7116-4110-02/9
  • Core/Insulation Crimp: E/C
  • Release Tool/Test Probe: 12094430/J-35616-4A (PU)
  • Pins: 2-3, 5-6, 9, 11
  • Terminal/Tray: 7116-4100-08/9
  • Core/Insulation Crimp: E/C
  • Release Tool/Test Probe: 12094430/J-35616-2A (GY)
  • Pins: 10, 12
  • Terminal/Tray: 7116-4101-08/9
  • Core/Insulation Crimp: E/A
  • Release Tool/Test Probe: 12094430/J-35616-2A (GY)
  • Pins: 14
  • Terminal/Tray: 7116-4111-02/9
  • Core/Insulation Crimp: E/A
  • Release Tool/Test Probe: 12094430/J-35616-4A (PU)
  • Pins: 1, 7
  • Terminal/Tray: 7116-4112-02/9
  • Core/Insulation Crimp: C/D
  • Release Tool/Test Probe: 12094430/J-35616-35 (VT)

Terminal Part Information

  • Pins: 13-14
  • Terminal/Tray: 7114-4111-02/9
  • Core/Insulation Crimp: E/A
  • Release Tool/Test Probe: 12094430/J-35616-5 (PU)
  • Pins: 8
  • Terminal/Tray: 7114-4110-02/9
  • Core/Insulation Crimp: E/C
  • Release Tool/Test Probe: 12094430/J-35616-5 (PU)
  • Pins: 12
  • Terminal/Tray: 7114-4101-08/9
  • Core/Insulation Crimp: E/A
  • Release Tool/Test Probe: 15315247/J-35616-3 (GY)
  • Pins: 2-6, 9-11
  • Terminal/Tray: 7114-4100-08/9
  • Core/Insulation Crimp: E/C
  • Release Tool/Test Probe: 15315247/J-35616-3 (GY)
  • Pins: 1, 7
  • Terminal/Tray: 7114-4112-02/9
  • Core/Insulation Crimp: C/D
  • Release Tool/Test Probe: 12094430/J-35616-5 (PU)

C700 Body Harness to Left Rear Door Harness (LHD)

Pin

Wire Color

Circuit No.

Function

Pin

Wire Color

Circuit No.

Function

1

RD/WH

1040

Battery Positive Voltage

1

RD/WH

1040

Battery Positive Voltage

2

GY

8

Instrument Panel Lamp Supply Voltage

2

GY

8

Instrument Panel Lamp Supply Voltage

3

BN

6132

Linear Interconnect Network Bus 1

3

BN

6132

Linear Interconnect Network Bus 1

4

--

--

Not Used

4

--

--

Not Used

5

YE

116

Left Rear Speaker Output (-) (UQA/UQS)

5

YE

116

Left Rear Speaker Output (-) (UQA/UQS)

6

BN

199

Left Rear Speaker Output (+) (UQA/UQS)

6

BN

199

Left Rear Speaker Output (+) (UQA/UQS)

7

BK

350

Ground

7

BK

350

Ground

8

PK

5864

Power Window Driver Switch Voltage Reference

8

PK

5864

Power Window Driver Switch Voltage Reference

9

L-BU/BK

747

Left Rear Door Ajar Switch Signal

9

L-BU/BK

747

Left Rear Door Ajar Switch Signal

10

D-BU/WH

1179

Left Rear Door Open Switch Signal

10

D-BU/WH

1179

Left Rear Door Open Switch Signal

D-BU/WH

1179

Left Rear Door Open Switch Signal

11

BN

6710

Power Window Switch Left Rear Signal

11

BN

6710

Power Window Switch Left Rear Signal

12

TN

294

Door Lock Actuator Unlock Control

12

TN

294

Door Lock Actuator Unlock Control

13

--

--

Not Used

13

--

--

Not Used

14

GY

295

Door Lock Actuator Lock Control (UTA)

14

GY

295

Door Lock Actuator Lock Control (UTA)

C700 Body Harness to Left Rear Door Harness (RHD)


Object Number: 823290  Size: CH

Object Number: 1283905  Size: CH

Connector Part Information

  • OEM: 7283-6447-40
  • Service: See Catalog
  • Description: 14-Way F Hybrid Series (GY)

Connector Part Information

  • OEM: 7282-6447-40
  • Service: 88956523
  • Description: 14-Way M Hybrid Series (L-GY)

Terminal Part Information

  • Pins: 8
  • Terminal/Tray: 7116-4110-02/9
  • Core/Insulation Crimp: E/C
  • Release Tool/Test Probe: 12094430/J-35616-4A (PU)
  • Pins: 2-6, 9-11
  • Terminal/Tray: 7116-4100-08/9
  • Core/Insulation Crimp: Pins: 2-6, 9-11: E/C
  • Core/Insulation Crimp: Pins: 10: See Terminal Repair Kit
  • Release Tool/Test Probe: 12094430/J-35616-2A (GY)
  • Pins: 12, 14
  • Terminal/Tray: 7116-4101-08/9
  • Core/Insulation Crimp: E/A
  • Release Tool/Test Probe: 12094430/J-35616-2A (GY)
  • Pins: 1, 7
  • Terminal/Tray: 7116-4112-02/9
  • Core/Insulation Crimp: C/D
  • Release Tool/Test Probe: 12094430/J-35616-35 (VT)

Terminal Part Information

  • Pins: 13-14
  • Terminal/Tray: 7114-4111-02/9
  • Core/Insulation Crimp: E/A
  • Release Tool/Test Probe: 12094430/J-35616-5 (PU)
  • Pins: 8
  • Terminal/Tray: 7114-4110-02/9
  • Core/Insulation Crimp: E/C
  • Release Tool/Test Probe: 12094430/J-35616-5 (PU)
  • Pins: 12
  • Terminal/Tray: 7114-4101-08/9
  • Core/Insulation Crimp: E/A
  • Release Tool/Test Probe: 15315247/J-35616-3 (GY)
  • Pins: 2-6, 9-11
  • Terminal/Tray: 7114-4100-08/9
  • Core/Insulation Crimp: E/C
  • Release Tool/Test Probe: 15315247/J-35616-3 (GY)
  • Pins: 1, 7
  • Terminal/Tray: 7114-4112-02/9
  • Core/Insulation Crimp: C/D
  • Release Tool/Test Probe: 12094430/J-35616-5 (PU)

C700 Body Harness to Left Rear Door Harness (RHD)

Pin

Wire Color

Circuit No.

Function

Pin

Wire Color

Circuit No.

Function

1

RD/WH

1040

Battery Positive Voltage

1

RD/WH

1040

Battery Positive Voltage

2

GY

8

Instrument Panel Lamp Supply Voltage

2

GY

8

Instrument Panel Lamp Supply Voltage

3

D-BU

6133

Linear Interconnect Network Bus 2

3

D-BU

6132

Linear Interconnect Network Bus 2

4

GY

5133

Left Rear Passenger Door Lock Actuator Deadbolt Control (UTB/UTC)

4

GY

5133

Left Rear Passenger Door Lock Actuator Deadbolt Control (UTB/UTC)

5

YE

116

Left Rear Speaker Output (-) (UQA/UQS)

5

YE

116

Left Rear Speaker Output (-) (UQA/UQS)

6

BN

199

Left Rear Speaker Output (+) (UQA/UQS)

6

BN

199

Left Rear Speaker Output (+) (UQA/UQS)

7

BK

350

Ground

7

BK

350

Ground

8

PK

5865

Power Window Passenger Switch Voltage Reference

8

PK

5865

Power Window Passenger Switch Voltage Reference

9

L-BU/BK

747

Left Rear Door Ajar Switch Signal

9

L-BU/BK

747

Left Rear Door Ajar Switch Signal

10

D-BU/WH

1179

Left Rear Door Open Switch Signal

10

D-BU/WH

1179

Left Rear Door Open Switch Signal

D-BU/WH

1179

Left Rear Door Open Switch Signal

11

BN

6710

Power Window Switch Left Rear Signal

11

BN

6710

Power Window Switch Left Rear Signal

12

TN

294

Door Lock Actuator Unlock Control

12

TN

294

Door Lock Actuator Unlock Control

13

--

--

Not Used

13

--

--

Not Used

14

GY

295

Door Lock Actuator Lock Control (UTB/UTC)

14

GY

295

Door Lock Actuator Lock Control (UTB/UTC)

C701 Left Rear Door Harness to Left Rear Door Trim Harness


Object Number: 823304  Size: CH

Object Number: 889498  Size: CH

Connector Part Information

  • OEM: 7283-4848-30
  • Service: See Catalog
  • Description: 12-Way F CONN (BK)

Connector Part Information

  • OEM: 7282-4848-30
  • Service: See Catalog
  • Description: 12-Way M CONN (BK)

Terminal Part Information

  • Terminal/Tray: 7116-4100-08/9
  • Core/Insulation Crimp: E/C
  • Release Tool/Test Probe: 12094430/J-35616-2A (GY)

Terminal Part Information

  • Terminal/Tray: 7114-4100-08/9
  • Core/Insulation Crimp: E/C
  • Release Tool/Test Probe: 15315247/J-35616-3 (GY)

C701 Left Rear Door Harness to Left Rear Door Trim Harness

Pin

Wire Color

Circuit No.

Function

Pin

Wire Color

Circuit No.

Function

1

BK

350

Ground

1

BK

350

Ground

2

GY

8

Instrument Panel Lamp Supply Voltage

2

GY

8

Instrument Panel Lamp Supply Voltage

3

PK

5864

Power Window Driver Switch Voltage Reference

3

PK

5864

Power Window Driver Switch Voltage Reference

4

BN

6710

Power Window Switch Left Rear Signal

4

BN

6710

Power Window Switch Left Rear Signal

5

--

--

Not Used

5

--

--

Not Used

6

BN

199

Left Rear Speaker Output (+) (UQA/UQS)

6

BN

199

Left Rear Speaker Output (+) (UQA/UQS)

7

YE

116

Left Rear Speaker Output (-) (UQA/UQS)

7

YE

116

Left Rear Speaker Output (-) (UQA/UQS)

8-12

--

--

Not Used

8-12

--

--

Not Used

C800 Body Harness to Right Rear Door Harness (LHD)


Object Number: 823290  Size: CH

Object Number: 1283905  Size: CH

Connector Part Information

  • OEM: 7283-6447-40
  • Service: 88956524
  • Description: 14-Way F Hybrid Series (L-GY)

Connector Part Information

  • OEM: 7282-6447-40
  • Service: 88956523
  • Description: 14-Way M Hybrid Series (L-GY)

Terminal Part Information

  • Pins: 8
  • Terminal/Tray: 7116-4110-02/9
  • Core/Insulation Crimp: E/C
  • Release Tool/Test Probe: 12094430/J-35616-4A (PU)
  • Pins: 2-3, 5-6, 9-11
  • Terminal/Tray: 7116-4100-08/9
  • Core/Insulation Crimp: E/C
  • Release Tool/Test Probe: 12094430/J-35616-2A (GY)
  • Pins: 12
  • Terminal/Tray: 7116-4101-08/9
  • Core/Insulation Crimp: E/A
  • Release Tool/Test Probe: 12094430/J-35616-2A (GY)
  • Pins: 14
  • Terminal/Tray: 7116-4111-02/9
  • Core/Insulation Crimp: E/A
  • Release Tool/Test Probe: 12094430/J-35616-4A (PU)
  • Pins: 1, 7
  • Terminal/Tray: 7116-4112-02/9
  • Core/Insulation Crimp: C/D
  • Release Tool/Test Probe: 12094430/J-35616-35 (VT)

Terminal Part Information

  • Pins: 14
  • Terminal/Tray: 7114-4111-02/9
  • Core/Insulation Crimp: E/A
  • Release Tool/Test Probe: 12094430/J-35616-5 (PU)
  • Pins: 8
  • Terminal/Tray: 7114-4110-02/9
  • Core/Insulation Crimp: E/C
  • Release Tool/Test Probe: 12094430/J-35616-5 (PU)
  • Pins: 12-13
  • Terminal/Tray: 7114-4101-08/9
  • Core/Insulation Crimp: E/A
  • Release Tool/Test Probe: 15315247/J-35616-3 (GY)
  • Pins: 2-6, 9-11
  • Terminal/Tray: 7114-4100-08/9
  • Core/Insulation Crimp: E/C
  • Release Tool/Test Probe: 15315247/J-35616-3 (GY)
  • Pins: 1, 7
  • Terminal/Tray: 7114-4112-02/9
  • Core/Insulation Crimp: C/D
  • Release Tool/Test Probe: 12094430/J-35616-5 (PU)

C800 Body Harness to Right Rear Door Harness (LHD)

Pin

Wire Color

Circuit No.

Function

Pin

Wire Color

Circuit No.

Function

1

RD/WH

1040

Battery Positive Voltage

1

RD/WH

1040

Battery Positive Voltage

2

GY

8

Instrument Panel Lamp Supply Voltage

2

GY

8

Instrument Panel Lamp Supply Voltage

3

D-BU

6133

Linear Interconnect Network Bus 2

3

D-BU

6133

Linear Interconnect Network Bus 2

4

GY

5133

Left Rear Passenger Door Lock Actuator Deadbolt Control (UTC)

4

GY

5133

Left Rear Passenger Door Lock Actuator Deadbolt Control (UTC)

5

L-BU

115

Right Rear Speaker Output (-) (UQA/UQS)

5

L-BU

115

Right Rear Speaker Output (-) (UQA/UQS)

6

D-BU

46

Right Rear Speaker Output (+) (UQA/UQS)

6

D-BU

46

Right Rear Speaker Output (+) (UQA/UQS)

7

BK

450

Ground

7

BK

450

Ground

8

PK

5865

Power Window Passenger Switch Voltage Reference

8

PK

5865

Power Window Passenger Switch Voltage Reference

9

L-GN/BK

748

Right Rear Door Ajar Switch Signal

9

L-GN/BK

748

Right Rear Door Ajar Switch Signal

10

D-BU/WH

1179

Left Rear Door Open Switch Signal

10

D-BU/WH

1179

Left Rear Door Open Switch Signal

11

BN

6709

Power Window Switch Right Rear Signal

11

BN

6709

Power Window Switch Right Rear Signal

12

TN

294

Door Lock Actuator Unlock Control

12

TN

294

Door Lock Actuator Unlock Control

13

--

--

Not Used

13

--

--

Not Used

14

GY

295

Door Lock Actuator Lock Control (UTA)

14

GY

295

Door Lock Actuator Lock Control (UTA)

C800 Body Harness to Right Rear Door Harness (RHD)


Object Number: 823290  Size: CH

Object Number: 1283905  Size: CH

Connector Part Information

  • OEM: 7283-6447-40
  • Service: See Catalog
  • Description: 14-Way F Hybrid Series (GY)

Connector Part Information

  • OEM: 7282-6447-40
  • Service: 88956523
  • Description: 14-Way M Hybrid Series (L-GY)

Terminal Part Information

  • Pins: 8
  • Terminal/Tray: 7116-4110-02/9
  • Core/Insulation Crimp: E/C
  • Release Tool/Test Probe: 12094430/J-35616-4A (PU)
  • Pins: 2-6, 9-11
  • Terminal/Tray: 7116-4100-08/9
  • Core/Insulation Crimp: E/C
  • Release Tool/Test Probe: 12094430/J-35616-2A (GY)
  • Pins: 12, 14
  • Terminal/Tray: 7116-4101-08/9
  • Core/Insulation Crimp: E/A
  • Release Tool/Test Probe: 12094430/J-35616-2A (GY)
  • Terminal/Tray: 7116-4112-02/9
  • Core/Insulation Crimp: C/D
  • Release Tool/Test Probe: 12094430/J-35616-35 (VT)

Terminal Part Information

  • Pins: 14
  • Terminal/Tray: 7114-4111-02/9
  • Core/Insulation Crimp: E/A
  • Release Tool/Test Probe: 12094430/J-35616-5 (PU)
  • Pins: 8
  • Terminal/Tray: 7114-4110-02/9
  • Core/Insulation Crimp: E/C
  • Release Tool/Test Probe: 12094430/J-35616-5 (PU)
  • Pins: 12-13
  • Terminal/Tray: 7114-4101-08/9
  • Core/Insulation Crimp: E/A
  • Release Tool/Test Probe: 15315247/J-35616-3 (GY)
  • Pins: 2-6, 9-11
  • Terminal/Tray: 7114-4100-08/9
  • Core/Insulation Crimp: E/C
  • Release Tool/Test Probe: 15315247/J-35616-3 (GY)
  • Pins: 1, 7
  • Terminal/Tray: 7114-4112-02/9
  • Core/Insulation Crimp: C/D
  • Release Tool/Test Probe: 12094430/J-35616-5 (PU)

C800 Body Harness to Right Rear Door Harness (RHD)

Pin

Wire Color

Circuit No.

Function

Pin

Wire Color

Circuit No.

Function

1

RD/WH

1040

Battery Positive Voltage

1

RD/WH

1040

Battery Positive Voltage

2

GY

8

Instrument Panel Lamp Supply Voltage

2

GY

8

Instrument Panel Lamp Supply Voltage

3

BN

6132

Linear Interconnect Network Bus 1

3

BN

6132

Linear Interconnect Network Bus 1

4

GY

5133

Left Rear Passenger Door Lock Actuator Deadbolt Control (UTB/UTC)

4

GY

5133

Left Rear Passenger Door Lock Actuator Deadbolt Control (UTB/UTC)

5

L-BU

115

Right Rear Speaker Output (-) (UQA/UQS)

5

L-BU

115

Right Rear Speaker Output (-) (UQA/UQS)

6

D-BU

46

Right Rear Speaker Output (+) (UQA/UQS)

6

D-BU

46

Right Rear Speaker Output (+) (UQA/UQS)

7

BK

450

Ground

7

BK

450

Ground

8

PK

5864

Power Window Driver Switch Voltage Reference

8

PK

5864

Power Window Driver Switch Voltage Reference

9

L-GN/BK

748

Right Rear Door Ajar Switch Signal

9

L-GN/BK

748

Right Rear Door Ajar Switch Signal

10

D-BU/WH

1179

Left Rear Door Open Switch Signal

10

D-BU/WH

1179

Left Rear Door Open Switch Signal

11

BN

6709

Power Window Switch Right Rear Signal

11

BN

6709

Power Window Switch Right Rear Signal

12

TN

294

Door Lock Actuator Unlock Control

12

TN

294

Door Lock Actuator Unlock Control

13

--

--

Not Used

13

--

--

Not Used

14

GY

295

Door Lock Actuator Lock Control (UTB/UTC)

14

GY

295

Door Lock Actuator Lock Control (UTB/UTC)

C801 Right Rear Door Harness to Right Rear Door Trim Harness


Object Number: 823304  Size: CH

Object Number: 889498  Size: CH

Connector Part Information

  • OEM: 7283-4848-30
  • Service: See Catalog
  • Description: 12-Way F CONN (BK)

Connector Part Information

  • OEM: 7282-4848-30
  • Service: See Catalog
  • Description: 12-Way M CONN (BK)

Terminal Part Information

  • Terminal/Tray: 7116-4100-08/9
  • Core/Insulation Crimp: E/C
  • Release Tool/Test Probe: 12094430/J-35616-2A (GY)

Terminal Part Information

  • Terminal/Tray: 7114-4100-08/9
  • Core/Insulation Crimp: E/C
  • Release Tool/Test Probe: 15315247/J-35616-3 (GY)

C801 Right Rear Door Harness to Right Rear Door Trim Harness

Pin

Wire Color

Circuit No.

Function

Pin

Wire Color

Circuit No.

Function

1

BK

450

Ground

1

BK

450

Ground

2

GY

8

Instrument Panel Lamp Supply Voltage

2

GY

8

Instrument Panel Lamp Supply Voltage

3

PK

5865

Power Window Passenger Switch Voltage Reference

3

PK

5865

Power Window Passenger Switch Voltage Reference

4

BN

6709

Power Window Switch Right Rear Signal

4

BN

6709

Power Window Switch Right Rear Signal

5

--

--

Not Used

5

--

--

Not Used

6

D-BU

46

Right Rear Speaker Output (+) (UQA/UQS)

6

D-BU

46

Right Rear Speaker Output (+) (UQA/UQS)

7

L-BU

115

Right Rear Speaker Output (-) (UQA/UQS)

7

L-BU

115

Right Rear Speaker Output (-) (UQA/UQS)

8-12

--

--

Not Used

8-12

--

--

Not Used

C901 Liftgate Harness to License/Backup/Rear Fog Lamp Harness (T79)


Object Number: 646420  Size: CH

Object Number: 744044  Size: CH

Connector Part Information

  • OEM: 15332135
  • Service: 15306414
  • Description: 4-Way F GT 150 (BK)

Connector Part Information

  • OEM: 15332136
  • Service: 88953354
  • Description: 4-Way M GT 150 Series (BK)

Terminal Part Information

  • Pins: A-D
  • Terminal/Tray: 12191812/19
  • Core/Insulation Crimp: Pins: B-C: C/A
  • Core/Insulation Crimp: Pins: A-D: E/C
  • Release Tool/Test Probe: 15315247/J-35616-2A (GY)

Terminal Part Information

  • Terminal/Tray: See Terminal Repair Kit
  • Core/Insulation Crimp: See Terminal Repair Kit
  • Release Tool/Test Probe: See Terminal Repair Kit

C901 Liftgate Harness to License/Backup/Rear Fog Lamp Harness (T79)

Pin

Wire Color

Circuit No.

Function

Pin

Wire Color

Circuit No.

Function

A

OG

122

Rear Fog Lamp Supply Voltage

A

OG

122

Rear Fog Lamp Supply Voltage

B

L-GN

24

Backup Lamp Supply Voltage

B

WH

24

Backup Lamp Supply Voltage

C

BK

850

Ground

C

OG

850

Ground

D

BN

2209

Rear Park Lamps Supply Voltage

D

D-BU

2209

Rear Park Lamps Supply Voltage

C901 Liftgate Harness to License/Backup Lamp Harness (w/o T79)


Object Number: 1243663  Size: CH

Object Number: 1391783  Size: CH

Connector Part Information

  • OEM: 15332132
  • Service: 88953364
  • Description: 3-Way F GT 150 Series (BK)

Connector Part Information

  • OEM: 15332133
  • Service: 88987881
  • Description: 3-Way M GT 150 Series (BK)

Terminal Part Information

  • Pins: A-C
  • Terminal/Tray: 12191812/19
  • Core/Insulation Crimp: Pins: A-B: C/A
  • Core/Insulation Crimp: Pins: C: E/C
  • Release Tool/Test Probe: 15315247/J-35616-2A (GY)

Terminal Part Information

  • Terminal/Tray: See Terminal Repair Kit
  • Core/Insulation Crimp: See Terminal Repair Kit
  • Release Tool/Test Probe: See Terminal Repair Kit

C901 Liftgate Harness to License/Backup Lamp Harness (w/o T79)

Pin

Wire Color

Circuit No.

Function

Pin

Wire Color

Circuit No.

Function

A

BK

850

Ground

A

BK

850

Ground

B

L-GN

24

Backup Lamp Supply Voltage

B

WH

24

Backup Lamp Supply Voltage

C

BN

2209

Rear Park Lamps Supply Voltage

C

D-BU

2209

Rear Park Lamps Supply Voltage