GM Service Manual Online
For 1990-2009 cars only

Removal Procedure


    Object Number: 903519  Size: SH
  1. Remove the center and front sunroof windows. Refer to Sunroof Window Replacement .
  2. Disconnect the motor/actuator electrical harness from either the front (6) or rear (2) sunshade motor/actuator being serviced.
  3. Remove the motor/actuator to motor/actuator block screws.
  4. Pull the sunroof motor/actuator up. The motor/actuator may need to be rocked side-to-side in order to release the sunshade motor/actuator drive gear from the cables.
  5. Remove the sunshade motor/actuator.

Installation Procedure


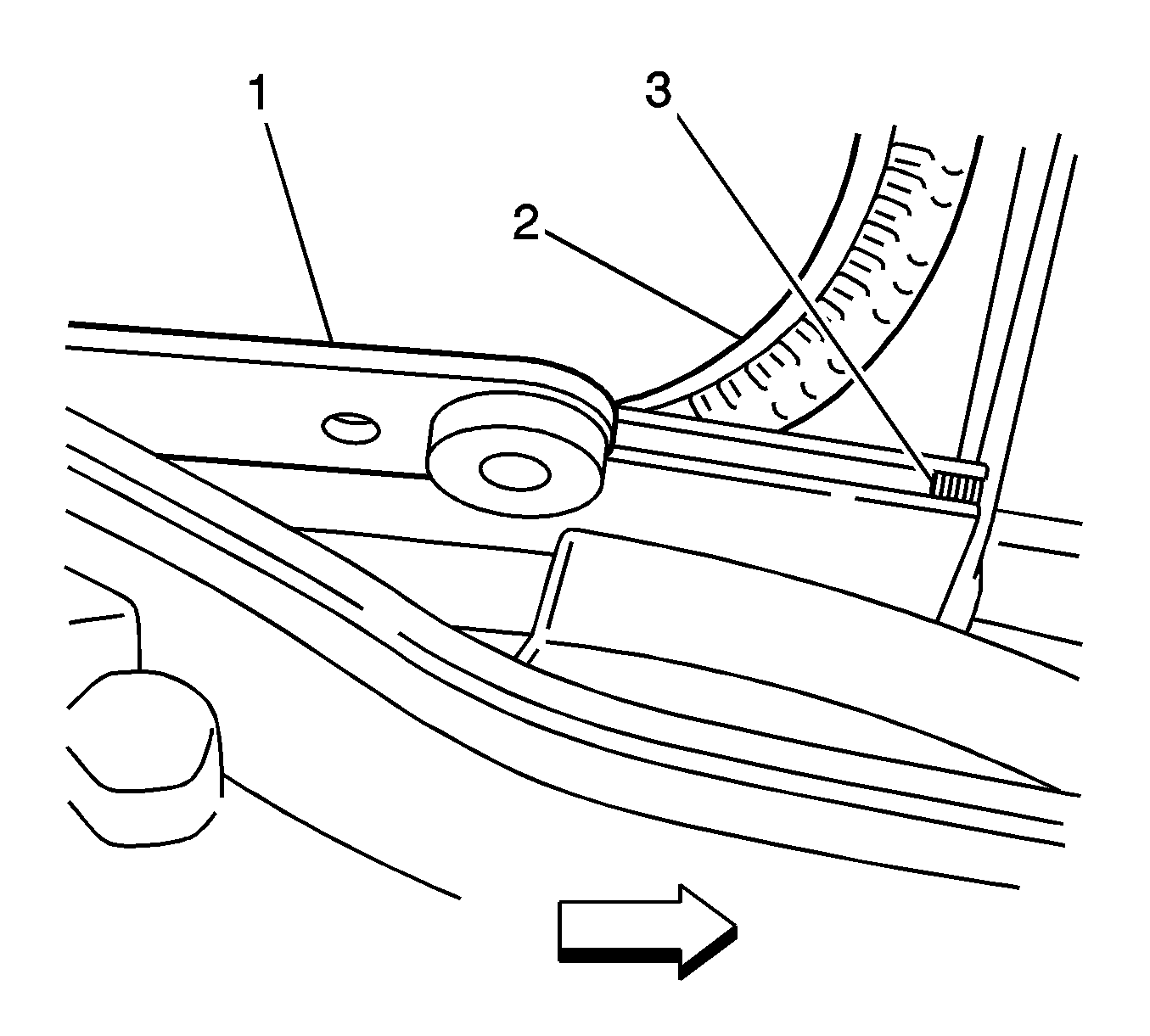
    Object Number: 903358  Size: SH
  1. Pull the shade completely closed against the sunshade stops (3).
  2. Inspect the gap of the shade's extended edge to the sunroof frame for even spacing.
  3. Notice: Refer to Fastener Notice in the Preface section.

  4. Install the motor/actuator and screws.
  5. Tighten
    Tighten the screws to 5 N·m (44 lb in).


    Object Number: 903519  Size: SH
  6. Connect the motor/actuator electrical harness to either the front (6) or rear (2) sunshade motor/actuator.
  7. Install the center and front sunroof windows. Refer to Sunroof Window Replacement .
  8. Perform the sunshade initialization procedure. Refer to Sunroof Front Window/Sunshade Initialization Process or Sunroof Rear Window Initialization Process .