GM Service Manual Online
For 1990-2009 cars only
Figure 1:

Instrument Panel and Center Console Components (LHD)


Object Number: 1828119  Size: LF
(1)Driver Information Center (DIC) Switch
(2)I/P Dimmer Switch
(3)Turn Signal/Multifunction Switch
(4)Inflatable Restraint Steering Wheel Module
(5)Instrument Panel Cluster (IPC)
(6)Windshield Wiper/Washer Switch
(7)Ambient Light/Sunload Sensor
(8)Speaker - Center I/P
(9)Clock
(10)Radio
(11)Inflatable Restraint I/P Module
(12)HVAC Control Module
(13)Rear Window Defogger Switch
(14)I/P Courtesy Lamp - Right
(15)Hazard Warning Switch
(16)Tow/Haul Switch
(17)Cigar Lighter
(18)Video Display (U42)
(19)Rear Seat Audio (RSA) Control (U42)
(20)Speaker - Center Console (UQS)
(21)Accessory Power Outlet - Center Console 2 (UQS)
(22)Accessory Power Outlet - Center Console 1
(23)Floor Console
(24)Inflatable Restraint I/P Module Indicator
(25)Traction Control Switch (TCS)
(26)Air Temperature Sensor - Inside
(27)Steering Wheel Control Switch - Right
(28)I/P Courtesy Lamp - Left
(29)Steering Wheel Control Switch - Left
Figure 2:

Instrument Panel and Center Console Components (RHD)


Object Number: 1860841  Size: LF
(1)Inflatable Restraint I/P Module
(2)Clock
(3)Ambient Light/Sunload Sensor
(4)Speaker - Center I/P
(5)Turn Signal/Multifunction Switch
(6)Instrument Panel Cluster (IPC)
(7)Inflatable Restraint Steering Wheel Module
(8)Windshield Wiper/Washer Switch
(9)I/P Dimmer Switch
(10)Driver Information Center (DIC) Switch
(11)Data Link Connector (DLC)
(12)I/P Courtesy Lamp - Right
(13)HVAC Control Module
(14)Air Temperature Sensor - Inside
(15)Traction Control Switch (TCS)
(16)Cigar Lighter
(17)Inflatable Restraint I/P Module Indicator
(18)Accessory Power Outlet - Center Console 1
(19)Accessory Power Outlet - Center Console 2 (UQS)
(20)Speaker - Center Console (UQS)
(21)Video Display (U42)
(22)Tow/Haul Switch
(23)Hazard Warning Switch
(24)Rear Window Defogger Switch
(25)I/P Courtesy Lamp - Right
(26)Radio
Figure 3:

Video Display (U42), DVD Player (U42), and Center Console Auxiliary Power Outlets


Object Number: 1276913  Size: LF
(1)Rear Seat Audio (RSA) Control (U42)
(2)Video Display (U42)
(3)Accessory Power Outlet - Center Console 2 (UQS)
(4)Accessory Power Outlet - Center Console 1
Figure 4:

Shift Lever Components


Object Number: 1276576  Size: LF
(1)Automatic Transmission Shift Lever
(2)Automatic Transmission Shift Lock Control Solenoid
(3)Automatic Transmission Manual Shift Switch
Figure 5:

Park Brake Switch, Brake Pedal and Accelerator Pedal Position Sensors (LHD)


Object Number: 1488592  Size: LF
(1)Park Brake Switch
(2)Brake Pedal Position (BPP) Sensor
(3)Accelerator Pedal Position (APP) Sensor
(4)Left Front Floor Panel
Figure 6:

Under Left Side of Instrument Panel (LHD)


Object Number: 1276478  Size: LF
(1)Adjustable Brake Pedal Position Sensor Connector
(2)Adjustable Pedal Actuator
(3)Adjustable Accelerator Pedal Position (APP) Sensor
(4)Accelerator Pedal Position (APP) Sensor
(5)Adjustable Brake Pedal Position Sensor
(6)Park Brake Switch
Figure 7:

Park Brake, Brake Fluid Level Switches and Pedal Position Sensors (LHD)


Object Number: 1273715  Size: LF
(1)Brake Fluid Reservoir
(2)Brake Fluid Level Switch
(3)Brake Fluid Level Switch Connector
(4)Adjustable Brake Pedal Position Sensor Connector (JF4)
(5)Adjust Pedal Actuator (JF4)
(6)Adjustable Accelerator Pedal Position (APP) Sensor (JF4)
(7)Accelerator Pedal Position (APP) Sensor (JF4)
(8)Adjustable Brake Pedal Position Sensor (JF4)
(9)Park Brake Switch
Figure 8:

Park Brake, Brake Fluid Level Switches and Pedal Position Sensors (RHD)


Object Number: 1855527  Size: LF
(1)Brake Fluid Reservoir
(2)Brake Fluid Level Switch
(3)Adjustable Accelerator Pedal Position (APP) Sensor (JF4)
(4)Adjustable Pedal Actuator (JF4)
(5)Accelerator Pedal Position (APP) Sensor
(6)Park Brake Switch
(7)Adjustable Brake Pedal Position Sensor (JF4)
Figure 9:

Data Link Connector and Body Control Module (BCM) (LHD)


Object Number: 1847746  Size: LF
(1)Instrument Panel
(2)Body Control Module (BCM)
(3)Insulator
(4)Data Link Connector (DLC)
Figure 10:

Body Control Module (BCM) (RHD)


Object Number: 1856012  Size: LF
(1)Body Control Module (BCM)
Figure 11:

Steering Column Components (1 of 3)


Object Number: 1959322  Size: LF
(1)Ignition Lock Cylinder Case
(2)Theft Deterrent Module (TDM)
(3)Ignition Lock Cylinder Control Solenoid
Figure 12:

Steering Column Components (2 of 3)


Object Number: 1959326  Size: LF
(1)Inflatable Restraint Steering Wheel Module Coil
(2)Horn Switch
(3)Adjustable Pedal Position Switch (JF4)
(4)Steering Angle Sensor
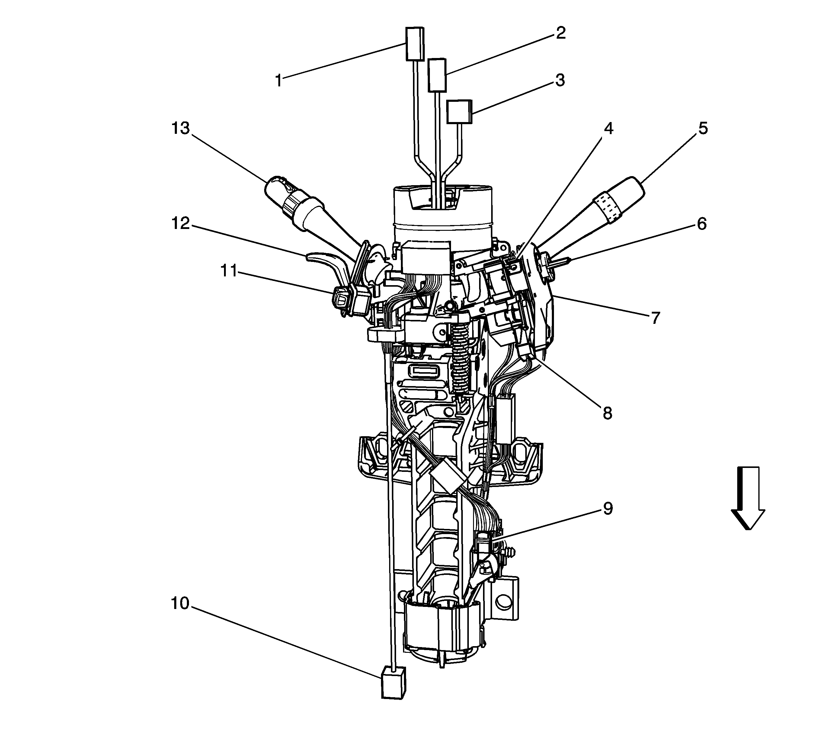
Figure 13:

Steering Column Components (3 of 3)


Object Number: 1870767  Size: LF
(1)Inflatable Restraint Steering Wheel Module X1
(2)Inflatable Restraint Steering Wheel Module X2
(3)X208
(4)Ignition Lock Cylinder Solenoid
(5)Windshield Wiper/Washer Switch
(6)Ignition Lock Cylinder Case
(7)Theft Deterrent Module (TDM)
(8)Ignition Switch Connector
(9)X202
(10)X203
(11)Adjustable Pedal Position Switch (JF4)
(12)Steering Column Tilt Lever
(13)Turn Signal/Multifunction Switch
Figure 14:

Theft Detterent Components (UA6)


Object Number: 1855180  Size: LF
(1)Hood Ajar Switch
(2)Overhead Console
(3)Intrusion Sensor
(4)Ignition Switch
(5)Theft Detterent Module (TDM)
Figure 15:

Steering Wheel Controls


Object Number: 1847702  Size: LF
(1)Steering Wheel Control Switch - Left
(2)X208
(3)Steering Wheel Control Switch - Right
Figure 16:

Ignition Switch and Theft Deterrent Module (TDM)


Object Number: 1842210  Size: LF
(1)Ignition Switch
(2)Theft Deterrent Module (TDM)
Figure 17:

Steering Wheel Components


Object Number: 1374799  Size: LF
(1)Inflatable Restraint Steering Wheel Module
(2)Steering Wheel Control Switch - Left
(3)Steering Wheel Control Switch - Right
(4)Steering Wheel Control Switch - Left Connector
(5)X208, Steering Wheel Side
(6)Steering Wheel
(7)Steering Column
(8)Inflatable Restraint Steering Wheel Module Coil
(9)Inflatable Restraint Steering Wheel Module X1
(10)Inflatable Restraint Steering Wheel Module X2
(11)X208, Column Side
(12)Steering Wheel Control Switch - Right Connector
Figure 18:

Horn Switch and Inflatable Restraint Steering Wheel Module (LHD)


Object Number: 1847738  Size: LF
(1)Horn Switch
(2)Horn Switch Connector
(3)Inflatable Restraint Steering Wheel Module
Figure 19:

Horn Switch Contacts and Inflatable Restraint Steering Wheel Module (RHD)


Object Number: 1855255  Size: LF
(1)Horn Switch
(2)Inflatable Restraint Steering Wheel Module
Figure 20:

HVAC Module Components (LHD) (1 of 2)


Object Number: 1960119  Size: LF
(1)Air Temperature Actuator - Left
(2)Mode Actuator
(3)Evaporator Temperature Sensor
(4)Recirculation Actuator
(5)Blower Motor
(6)Blower Motor Control Module
(7)Air Temperature Actuator - Right
Figure 21:

HVAC Module Components (LHD) (2 of 2)


Object Number: 1843375  Size: LF
(1)X321
(2)Recirculation Actuator
(3)Blower Motor
(4)Blower Motor Control Module
(5)Air Temperature Actuator - Right
(6)Mode Actuator
(7)Air Temperature Actuator - Left
(8)Air Temperature Sensor - Inside