GM Service Manual Online
For 1990-2009 cars only
Table 1: After Boil Heater Pump (LH2/V92/V03)
Table 2: Coolant Level Switch
Table 3: Cooling Fan - Left (w/ V03/V09/V92)
Table 4: Cooling Fan - Left (w/o V03/V09/V92)
Table 5: Cooling Fan - Right (V03/V09/V92)

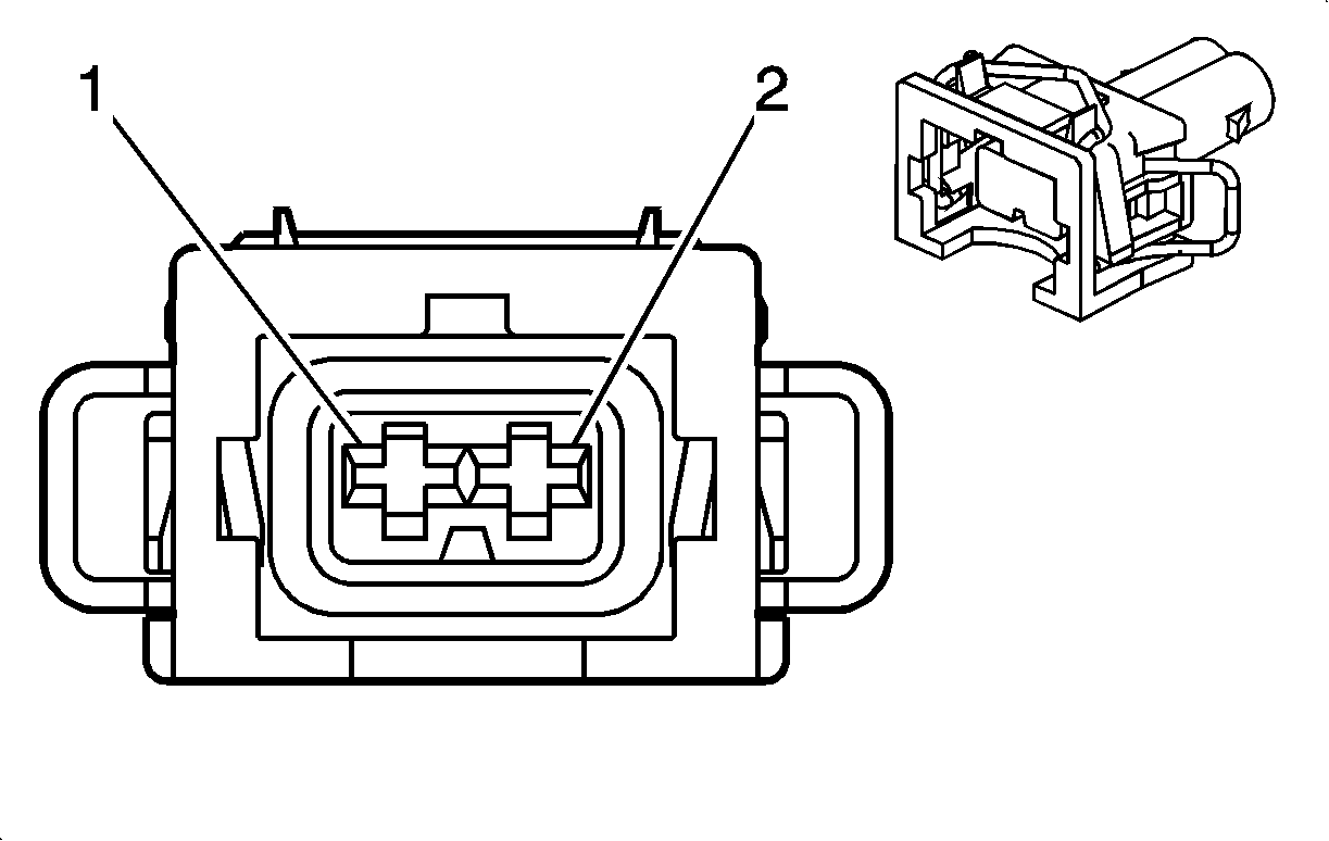
After Boil Heater Pump (LH2/V92/V03)


Object Number: 1405759  Size: CH

Connector Part Information

    • OEM: 12131678
    •  2-Way F Delphi (BK)

Pin

Wire Color

Circuit No.

Function

1

BK/WH

1551

Signal Ground

2

PK

5126

After Boil Heater Pump Supply Voltage

Coolant Level Switch


Object Number: 635009  Size: CH

Connector Part Information

    • OEM: 12052641
    • Service: 12102747
    •  2-Way F Metri-Pack 150 Series (BK)

Pin

Wire Color

Circuit No.

Function

A

L-GN

1478

Coolant Level Switch Signal

B

BK

150

Ground

Cooling Fan - Left (w/ V03/V09/V92)


Object Number: 811182  Size: CH

Connector Part Information

    • OEM: 7283-5596-10
    • 2-Way F YESC (D-GY)

Pin

Wire Color

Circuit No.

Function

1

GY

532

Cooling Fan Motor Supply Voltage (2)

2

WH

504

Cooling Fan Motor Low Reference

Cooling Fan - Left (w/o V03/V09/V92)


Object Number: 1283862  Size: CH

Connector Part Information

    • OEM: 7282-5596-10
    • 2-Way M YESC 6.3 WP (D-GY)

Pin

Wire Color

Circuit No.

Function

1

GY

532

Cooling Fan Motor Supply Voltage (2)

2

WH

504

Cooling Fan Motor Low Reference

Cooling Fan - Right (V03/V09/V92)


Object Number: 811182  Size: CH

Connector Part Information

    • OEM: 7283-5596-10
    • 2-Way F YESC (D-GY)

Pin

Wire Color

Circuit No.

Function

1

L-BU

409

Cooling Fan Motor Supply Voltage (1)

2

BK

250

Ground