GM Service Manual Online
For 1990-2009 cars only
Figure 1:

Radio and Speaker


Object Number: 1488584  Size: LF
(1)Speaker - Center I/P
(2)Radio
(3)Speaker - RF I/P
(4)Speaker - RF Door
(5)Speaker - Rear Console
(6)Speaker - RR Door
(7)Speaker - LR
(8)Speaker - Rear Subwoofer
(9)Speaker - RR
(10)Floor Console
(11)Speaker - LR Door
(12)Floor Panel
(13)Speaker - LF Door
(14)Speaker - LF I/P
Figure 2:

Digital Radio Receiver (U2K)


Object Number: 1688459  Size: LF
(1)Passenger Side C-Pillar
(2)Digital Radio Receiver
Figure 3:

Audio Amplifier (UX8/UY5)


Object Number: 1488503  Size: LF
(1)LR Quarter Panel
(2)Audio Amplifier
Figure 4:

Top of Rear Window (UE1/U2K)


Object Number: 1530613  Size: LF
(1)VICS-FM3 Antenna
(2)Radio Antenna Module
(3)Rear Window Defogger Grid
(4)AM/FM 1 Antenna
(5)FM 2 Antenna
(6)Roof Rail
Figure 5:

Headliner Components


Object Number: 1530189  Size: LF
(1)Overhead Courtesy/Reading Lamps - Front
(2)Garage Door Opener (UG1)
(3)Keyless Entry Antenna - Headliner
(4)Sunroof Control Module (CF5)
(5)Overhead Courtesy/Reading Lamps-Rear
(6)Rear Parking Assist (RPA) Display (UD7)
(7)Sunroof Assembly (CF5)
(8)Top of Headliner
(9)Noise Compensation Microphone (UY5)
(10)Sunroof Switches (CF5)
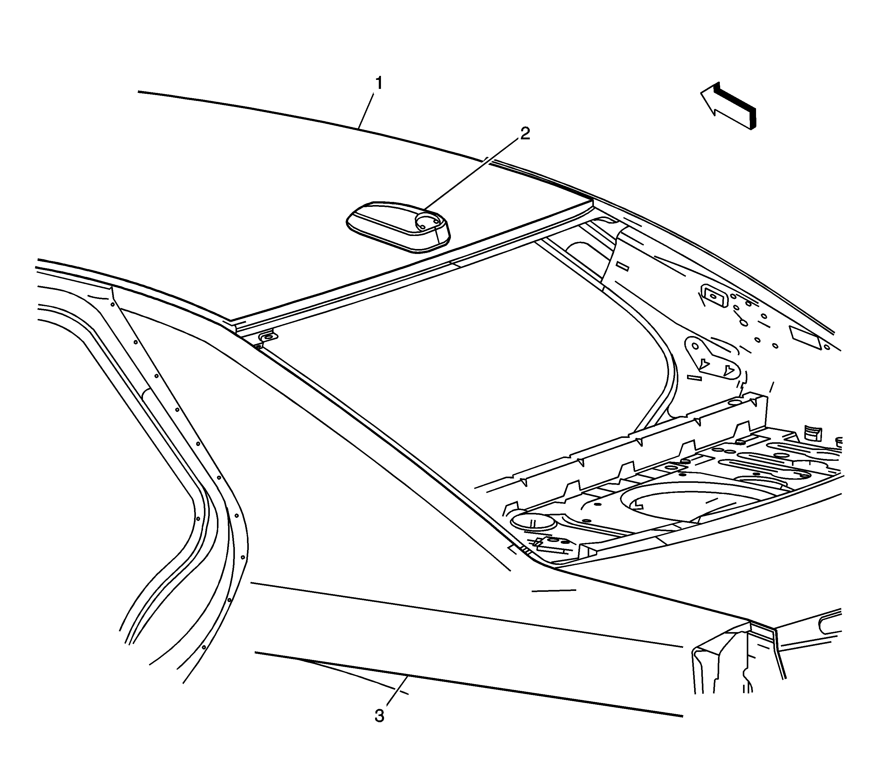
Figure 6:

Rear of the Roof (UE1/U2K)


Object Number: 1530210  Size: LF
(1)Roof
(2)Cellular, Navigation, and Digital Radio Antenna - if equipped
(3)LR Fender Panel
Figure 7:

Steering Column and Wheel (3-Spoke)


Object Number: 1488567  Size: LF
(1)Telescoping Actuator
(2)Steering Angle Sensor
(3)Turn Signal/Multifunction Switch
(4)Windshield Wiper/Washer Switch Assembly
(5)Steering Wheel Controls Seek Button (Part of the Steering Wheel Control Switch Assembly)
(6)Steering Wheel Controls Volume Button (Part of the Steering Wheel Control Switch Assembly)
(7)C277
(8)Horn Switch Connector
(9)Heated Steering Wheel Module
(10)Steering Wheel Controls Mute/Source Button (w/o NR7/N31), Heated Steering Wheel Button (NR7/N31) (Part of the Steering Wheel Control Switch Assembly)
(11)Steering Wheel Controls Voice/Preset Button (Part of the Steering Wheel Control Switch Assembly)
(12)Heated Steering Wheel (NR7/N31)
(13)Tilt/Telescope Switch
(14)Tilt Actuator
(15)C202
(16)Steering Column Lock Control Module (UA2)
Figure 8:

Driver Seat Components


Object Number: 1488573  Size: LF
(1) Seat Lumbar Motor - Driver (AL2): Horizontal Motor and Seat Lumbar Position Sensor (A45)
(2)Speaker - Driver Seat Right (UY5)
(3)Ventilated Seat Blower Motor - Driver Back (KB6)
(4)Speaker - Driver Seat Left (UY5)
(5)Seat Lumbar Motor - Driver (AL2): Vertical Motor and Seat Lumbar Position Sensor (A45)
(6)Heated Seat Element - Driver Back (KA1)
(7)Heated Seat Element - Driver Cushion (KA1)
(8)Seat Lumbar Switch - Driver (AL2)
(9)Seat Recliner Switch (Part of Seat Adjuster Switch - Driver)
(10)Seat Adjuster Switch - Driver
(11)Ventilated Seat Blower Motor - Driver Cushion (KB6)
(12)Seat Rear Vertical Motor - Driver (Part of Seat Adjuster Motor Assembly - Driver)
(13)Seat Rear Vertical Position Sensor - Driver (A45) (Part of Seat Adjuster Motor Assembly - Driver)
(14)Seat Front Vertical Position Sensor - Driver (A45) (Part of Seat Adjuster Motor Assembly - Driver)
(15) Seat Horizontal Motor - Driver (Part of Seat Adjuster Motor Assembly - Driver)
(16)Seat Horizontal Position Sensor - Driver (A45) (Part of Seat Adjuster Motor Assembly - Driver)
(17)Seat Front Vertical Motor - Driver (Part of Seat Adjuster Motor Assembly - Driver)
(18)Memory Seat Module (A45)
(19)Seat Belt Pretensioner - Left
(20)Seat Recliner Motor Driver and Seat Recline Position Sensor - Driver (A45)
Figure 9:

Front Passenger Seat Components


Object Number: 1488574  Size: LF
(1)Speaker - Passenger Seat Right (UY5)
(2)Ventilated Seat Blower Motor - Passenger Back (KB6)
(3)Speaker - Passenger Seat Left (UY5)
(4)Seat Lumbar Motor - Passenger (AL2)
(5)Seat Recline Motor - Passenger
(6)Seat Belt Pretentioner - Right
(7)Seat Climate Control Module (KA1/KB6)
(8)Ventilated Seat Blower Motor - Passenger Cushion (KB6)
(9)Seat Adjuster Switch - Passenger
(10)Seat Recline Switch (Part of Seat Adjuster Switch)
(11)Seat Front Vertical Motor - Passenger (Part of Seat Adjuster Motor Assembly - Passenger)
(12)Seat Rear Vertical Motor - Passenger (Part of Seat Adjuster Motor Assembly - Passenger)
(13)Seat Horizontal Motor - Passenger (Part of Seat Adjuster Motor Assembly - Passenger)
(14)Seat Lumbar Switch - Passenger (AL2)
(15)Heated Seat Element - Passenger Cushion (KA1)
(16)Heated Seat Element - Passenger Back (KA1)
Figure 10:

Console Components


Object Number: 1488593  Size: LF
(1)Auxiliary Power Outlet - Console
(2)Auxiliary Audio/Video Control (UY5)
(3)HVAC Control Module - Rear Auxiliary (KA6)
(4)LR Heated Seat Switch - Part of the Rear Auxiliary Module
(5)RR Heated Seat Switch - Part of the Rear Auxiliary Module
(6)Mode Select Switch - Auxiliary (KA6)
(7)Auxiliary Power Outlet - Rear
(8)Hazard Switch
(9)Traction Control Switch