GM Service Manual Online
For 1990-2009 cars only
Connector 1: Rear Window Defogger - C1
Connector 2: Window Motor - Driver
Connector 3: Window Motor - Front Passenger
Connector 4: Window Motor - Left Rear
Connector 5: Window Motor - Right Rear
Connector 6: Window Switch - Front Passenger
Connector 7: Window Switch - Left Rear
Connector 8: Window Switch - Right Rear

Rear Window Defogger - C1


Object Number: 38284  Size: CH

Connector Part Information

  • OEM: 12064750
  • Service: 12101935
  • Description: 2-Way M Metri-Pack 480 Series (BK)

Terminal Part Information

  • Terminal/Tray: 12033820/2
  • Core/Insulation Crimp: B/G
  • Release Tool/Test Probe: 12094430/J-35616-40 (BU)

Rear Window Defogger - C1

Pin

Wire Color

Circuit No.

Function

A

PU

293

Rear Defog Element Supply Voltage

B

BK

1950

Ground

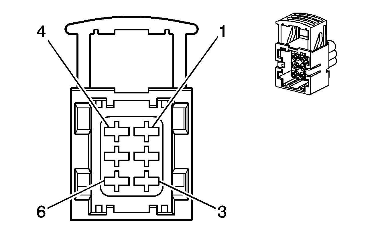
Window Motor - Driver


Object Number: 1519711  Size: CH

Connector Part Information

  • OEM: 2-1452319-1
  • Service: 88988401
  • Description: 6-Way F AMP WP (GY)

Terminal Part Information

  • Pins: 1, 2, 3
  • Terminal/Tray: 4-964286-1/16
  • Core/Insulation Crimp: E/1
  • Release Tool/Test Probe: 12093647/J-35616-4A (PU)
  • Pins: 4, 6
  • Terminal/Tray: 4-964273-1/15
  • Core/Insulation Crimp: C/5
  • Release Tool/Test Probe: 12093647/J-35616-4A (PU)

Window Motor - Driver

Pin

Wire Color

Circuit No.

Function

1

BN

165

Power Window Motor Left Front Down Signal

2

D-BU

164

Power Window Motor Left Front Up Signal

3

YE/BK

6859

Power Window Status

4

BK

350

Ground

5

--

--

Not Used

6

RD/WH

1040

Battery Positive Voltage

Window Motor - Front Passenger


Object Number: 1519711  Size: CH

Connector Part Information

  • OEM: 2-1452319-1
  • Service: 88988401
  • Description: 6-Way F AMP WP (GY)

Terminal Part Information

  • Pins: 1, 2, 4
  • Terminal/Tray: See Terminal Repair Kit
  • Core/Insulation Crimp: See Terminal Repair Kit
  • Release Tool/Test Probe: See Terminal Repair Kit
  • Pins: 3
  • Terminal/Tray: 4-964286-1/16
  • Core/Insulation Crimp: E/1
  • Release Tool/Test Probe: 12093647/J-35616-4A (PU)
  • Pins: 6
  • Terminal/Tray: 4-964273-1/15
  • Core/Insulation Crimp: C/5
  • Release Tool/Test Probe: 12093647/J-35616-4A (PU)

Window Motor - Front Passenger

Pin

Wire Color

Circuit No.

Function

1

BN

667

Power Window Motor Right Front Down Signal

2

D-BU

666

Power Window Motor Right Front Up Signal

3

YE/BK

6859

Power Window Status

4

BK

450

Ground

5

--

--

Not Used

6

RD/WH

1040

Battery Positive Voltage

Window Motor - Left Rear


Object Number: 1519711  Size: CH

Connector Part Information

  • OEM: 2-1452319-1
  • Service: 88988401
  • Description: 6-Way F AMP WP (GY)

Terminal Part Information

  • Pins: 1, 2, 3
  • Terminal/Tray: 4-964286-1/16
  • Core/Insulation Crimp: E/1
  • Release Tool/Test Probe: 12093647/J-35616-4A (PU)
  • Pins: 4, 6
  • Terminal/Tray: 4-964273-1/15
  • Core/Insulation Crimp: C/5
  • Release Tool/Test Probe: 12093647/J-35616-4A (PU)

Window Motor - Left Rear

Pin

Wire Color

Circuit No.

Function

1

D-BU

668

Power Window Motor Left Rear Up Signal

2

BN

669

Power Window Motor Left Rear Down Signal

3

YE/BK

6859

Power Window Status

4

BK

350

Ground

5

--

--

Not Used

6

RD/WH

1040

Battery Positive Voltage

Window Motor - Right Rear


Object Number: 1519711  Size: CH

Connector Part Information

  • OEM: 2-1452319-1
  • Service: 88988401
  • Description: 6-Way F AMP WP (GY)

Terminal Part Information

  • Pins: 1, 2, 4
  • Terminal/Tray: See Terminal Repair Kit
  • Core/Insulation Crimp: See Terminal Repair Kit
  • Release Tool/Test Probe: See Terminal Repair Kit
  • Pins: 3
  • Terminal/Tray: 4-964286-1/16
  • Core/Insulation Crimp: E/1
  • Release Tool/Test Probe: 12093647/J-35616-4A (PU)
  • Pins: 6
  • Terminal/Tray: 4-964273-1/15
  • Core/Insulation Crimp: C/5
  • Release Tool/Test Probe: 12093647/J-35616-4A (PU)

Window Motor - Right Rear

Pin

Wire Color

Circuit No.

Function

1

D-BU

670

Power Window Motor Right Rear Up Signal

2

BN

671

Power Window Motor Right Rear Down Signal

3

YE/BK

6859

Power Window Status

4

BK

450

Ground

5

--

--

Not Used

6

RD/WH

1040

Battery Positive Voltage

Window Switch - Front Passenger


Object Number: 258172  Size: CH

Connector Part Information

  • OEM: 12064982
  • Service: 12102633
  • Description: 5-Way F Micro-Pack 100 Series (BK)

Terminal Part Information

  • Terminal/Tray: 12146447/3
  • Core/Insulation Crimp: E/C
  • Release Tool/Test Probe: 12031876-1/J-35616-6 (BN)

Window Switch - Front Passenger

Pin

Wire Color

Circuit No.

Function

1

OG

1189

Power Window Switch Right Front Low Reference

2

WH

1185

Power Window Switch Left Rear Up Signal

3

PU

2765

Power Window Switch Right Front Express Signal

4

BK/WH

451

Ground

5

YE

1491

Backlight Lamp Control

Window Switch - Left Rear


Object Number: 258172  Size: CH

Connector Part Information

  • OEM: 12064982
  • Service: 12102633
  • Description: 5-Way F Micro-Pack 100 Series (BK)

Terminal Part Information

  • Pins: 1, 2, 3, 4
  • Terminal/Tray: See Terminal Repair Kit
  • Core/Insulation Crimp: See Terminal Repair Kit
  • Release Tool/Test Probe: See Terminal Repair Kit
  • Pins: 5
  • Terminal/Tray: 12146447/3
  • Core/Insulation Crimp: E/C
  • Release Tool/Test Probe: 12031876-1/J-35616-6 (BN)

Window Switch - Left Rear

Pin

Wire Color

Circuit No.

Function

1

YE

1187

Power Window Switch Left Rear Down Signal

2

D-GN

1184

Power Window Switch Right Front Up Signal

3

D-GN

5048

Power Window Switch Left Rear Express Signal

4

BK/WH

351

Ground

5

YE

1491

Backlight Lamp Control

Window Switch - Right Rear


Object Number: 258172  Size: CH

Connector Part Information

  • OEM: 12064982
  • Service: 12102633
  • Description: 5-Way F Micro-Pack 100 Series (BK)

Terminal Part Information

  • Pins: 1, 2, 3, 4
  • Terminal/Tray: See Terminal Repair Kit
  • Core/Insulation Crimp: See Terminal Repair Kit
  • Release Tool/Test Probe: See Terminal Repair Kit
  • Pins: 5
  • Terminal/Tray: 12146447/3
  • Core/Insulation Crimp: E/C
  • Release Tool/Test Probe: 12031876-1/J-35616-6 (BN)

Window Switch - Right Rear

Pin

Wire Color

Circuit No.

Function

1

YE

1187

Power Window Switch Left Rear Down Signal

2

D-GN

1184

Power Window Switch Right Front Up Signal

3

D-GN

5048

Power Window Switch Left Rear Express Signal

4

BK/WH

351

Ground

5

YE

1491

Backlight Lamp Control