GM Service Manual Online
For 1990-2009 cars only

Tools Required

J 38778 Door Trim Pad Clip Remover

Removal Procedure

  1. Disable the SIR system. Refer to SIR Disabling and Enabling .
  2. Remove the screw cover from the sail panel.

  3. Object Number: 1455772  Size: SH

    Important: The upper sail panel is secured with a fastener. Use a magnetic-tipped screwdriver in order to remove the fastener.

  4. Remove the fastener.
  5. Pull downward on the lower front portion of the sail panel in order to release the integral clip.
  6. Release the sail panel plastic push-in retainer using the J 38778 , or equivalent.
  7. Pull outward at the top in order to release the other integral clip.
  8. Pull the sail panel from the C-pillar.
  9. Remove the lower shoulder belt fastener.
  10. Disengage the shoulder belt and escutheon from the sail panel.
  11. Route the rear outboard shoulder belt from the sail panel.
  12. Remove the shoulder belt from the sail panel.
  13. Remove the sail panel.

Installation Procedure


    Object Number: 1455772  Size: SH
  1. Position the sail panel to the C-pillar.
  2. Route the outboard shoulder belt and escutheon through the sail panel.
  3. Important: Ensure the shoulder belt is free of twists.

  4. Straighten the belt, if needed, prior to securing the shoulder belt floorpan fastener.

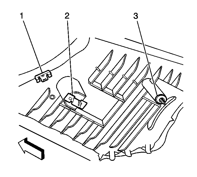
  5. Object Number: 708301  Size: SH
  6. Position the upper sail panel downward next to the end of the rear shelf trim panel.
  7. Insert the upper metal integral clip (1) on the trim panel to the slot located in the headliner.
  8. Insert the lower metal integral clip (2) to the sheet metal.
  9. Position the plastic push-in retainer (3) to the hole in the sheet metal.
  10. Press inward at the plastic retainer in order to secure.
  11. Notice: Use the correct fastener in the correct location. Replacement fasteners must be the correct part number for that application. Fasteners requiring replacement or fasteners requiring the use of thread locking compound or sealant are identified in the service procedure. Do not use paints, lubricants, or corrosion inhibitors on fasteners or fastener joint surfaces unless specified. These coatings affect fastener torque and joint clamping force and may damage the fastener. Use the correct tightening sequence and specifications when installing fasteners in order to avoid damage to parts and systems.

  12. Install the fastener with a magnetic-tipped screwdriver.
  13. Tighten
    Tighten the screw to 2 N·m (18 lb in).

  14. Secure the seat belt escutheon to the sail panel.
  15. Install the screw cover to the sail panel.
  16. Enable the SRI system. Refer to SIR Disabling and Enabling .