GM Service Manual Online
For 1990-2009 cars only
Makes
🢒
Cadillac
🢒
2007
🢒
STS
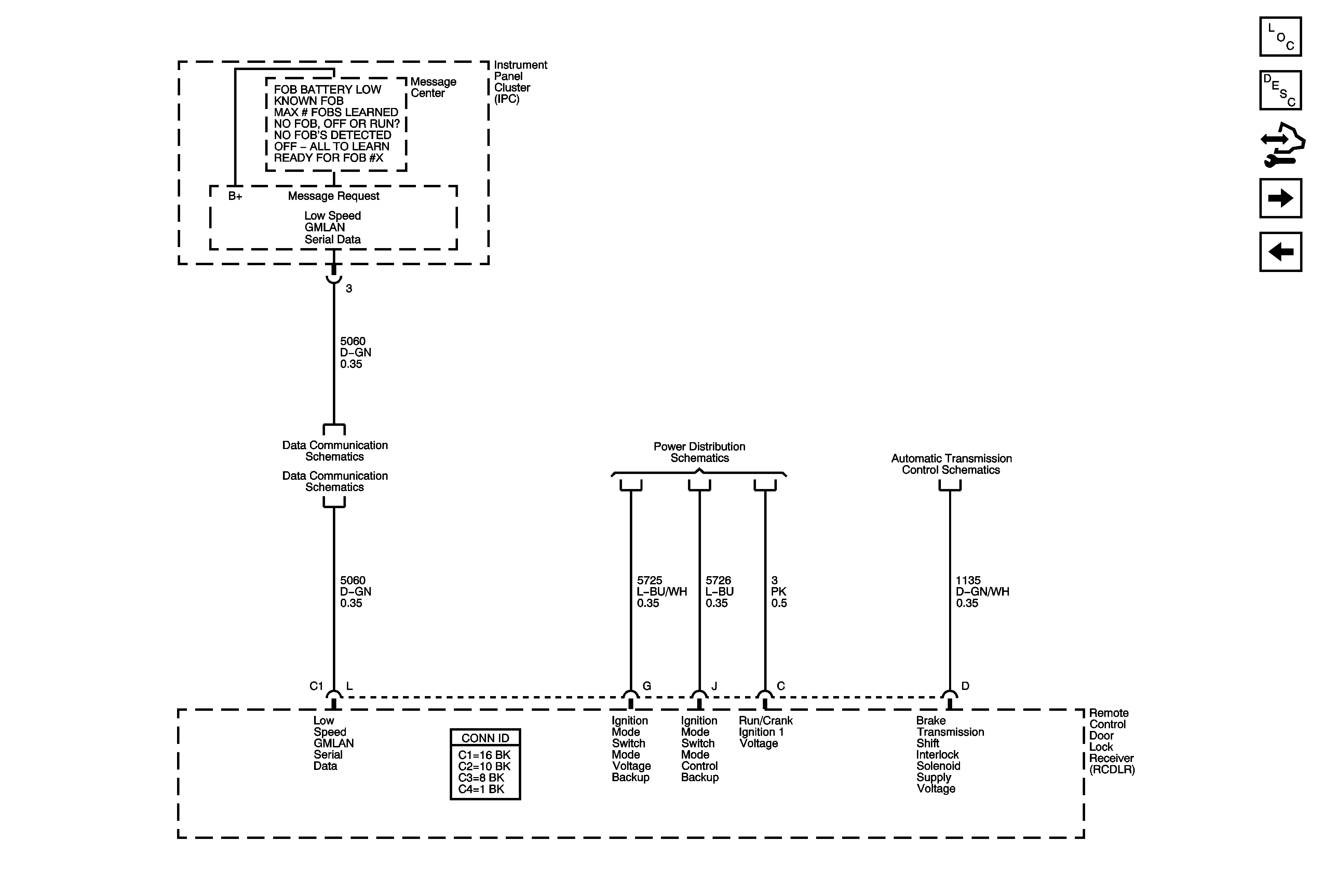
🢒 Keyless Entry DLC, Instrument Panel Cluster (IPC)
Keyless Entry DLC, Instrument Panel Cluster (IPC)
DLC, Instrument Panel Cluster (IPC)
Master Electrical Component List
Keyless Entry System Description and Operation
Control Module References
Keyless Entry Hood Ajar Switch
Keyless Entry Module Power, Grounds, Antennas, and Switches
GM LAN - Low Speed 2 of 2
GM LAN - Low Speed 1 of 2
Ignition Mode Switch
Automatic Transmission Shift Lock Control Schematics