GM Service Manual Online
For 1990-2009 cars only

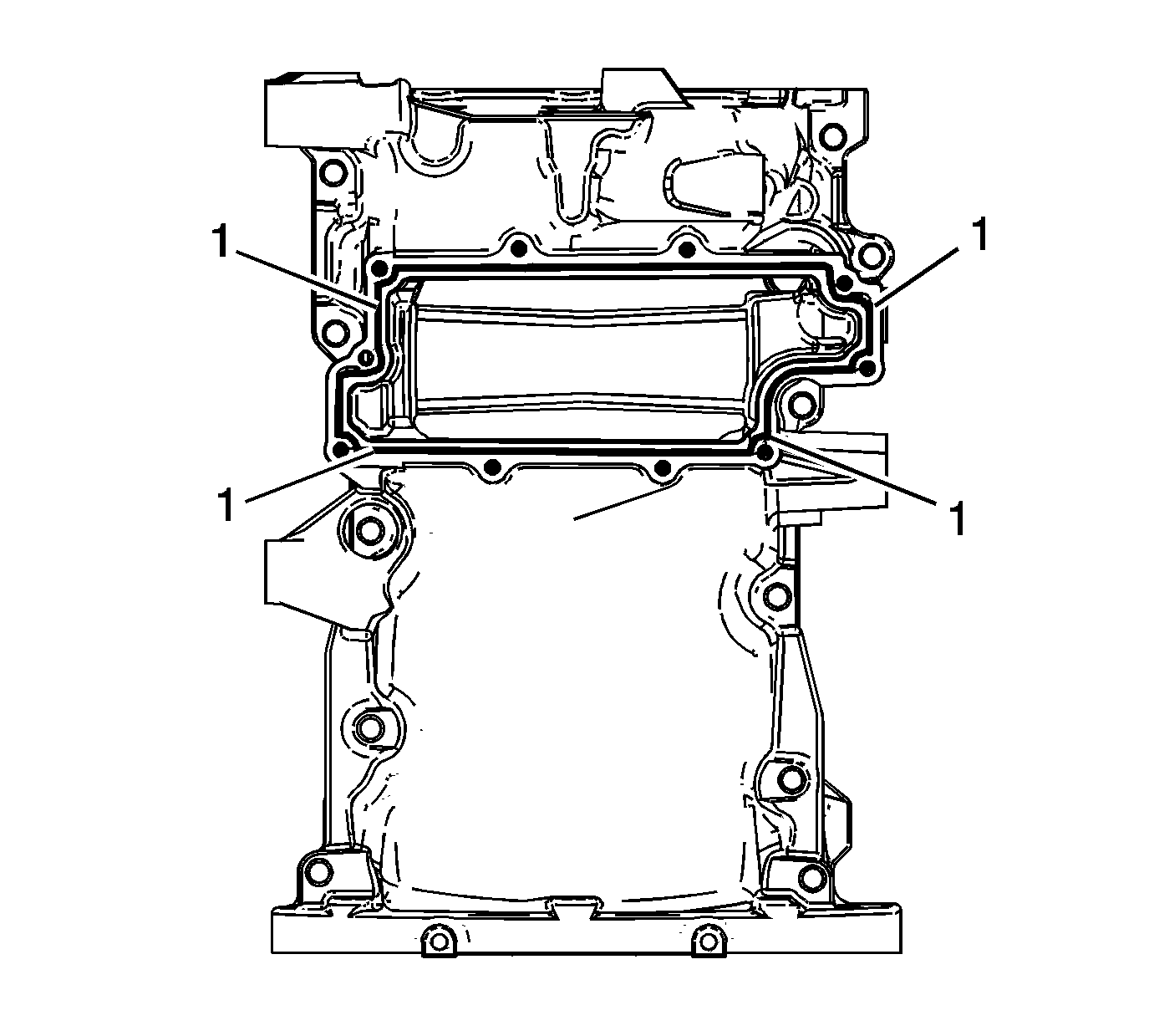
    Object Number: 1950003  Size: SH
  1. Place a 3 mm (0.118 in) bead of RTV sealant, GM P/N 12378521 (Canadian P/N 88901148) or equivalent, on the skid plate mounting surface (1).

  2. Object Number: 1625856  Size: SH
  3. Install the skid plate.
  4. Notice: Refer to Fastener Notice in the Preface section.

  5. Install the skid plate bolts.
  6. Tighten
    Tighten the skid plate bolts to 10 N·m (89 lb in).


    Object Number: 1625854  Size: SH
  7. Install the oil pan drain plug and NEW O-ring seal.
  8. Tighten
    Tighten the oil pan drain plug to 20 N·m (15 lb ft).


    Object Number: 1392421  Size: SH
  9. Install the NEW oil suction pipe O-ring.

  10. Object Number: 1210971  Size: SH
  11. Install the oil suction pipe.
  12. Install the oil suction pipe bolts.
  13. Tighten
    Tighten the oil suction pipe bolt to 10 N·m (89 lb in).


    Object Number: 1210969  Size: SH
  14. Install the oil pan scraper.
  15. Install the oil pan scraper bolts.
  16. Tighten
    Tighten the oil pan scraper bolts to 10 N·m (89 lb in).