GM Service Manual Online
For 1990-2009 cars only

Tools Required

    • J 45019 Flange and Pinion Cage Remover
    • J 21474-20 Bushing Installer

Removal Procedure

  1. Raise and support the vehicle. Refer to Lifting and Jacking the Vehicle .
  2. Remove the left front tire and wheel assembly. Refer to Tire and Wheel Removal and Installation .
  3. Remove the left front wheel drive shaft. Refer to Front Wheel Drive Shaft Replacement .

  4. Object Number: 908032  Size: SH
  5. Remove and discard the intermediate wheel drive shaft retaining ring (2). The intermediate wheel drive shaft retaining ring is on the splined end of the shaft.
  6. Remove and discard the intermediate wheel drive shaft O-ring (1). The O-ring is on the splined end of the shaft.

  7. Object Number: 908025  Size: SH
  8. Remove the intermediate shaft bearing assembly mounting bolts.

  9. Object Number: 954545  Size: SH
  10. Install J 45019 into the threaded holes in the intermediate shaft bearing assembly.
  11. Remove the intermediate shaft bearing assembly from the intermediate wheel drive shaft.
  12. Remove J 45019 from the intermediate shaft bearing housing.

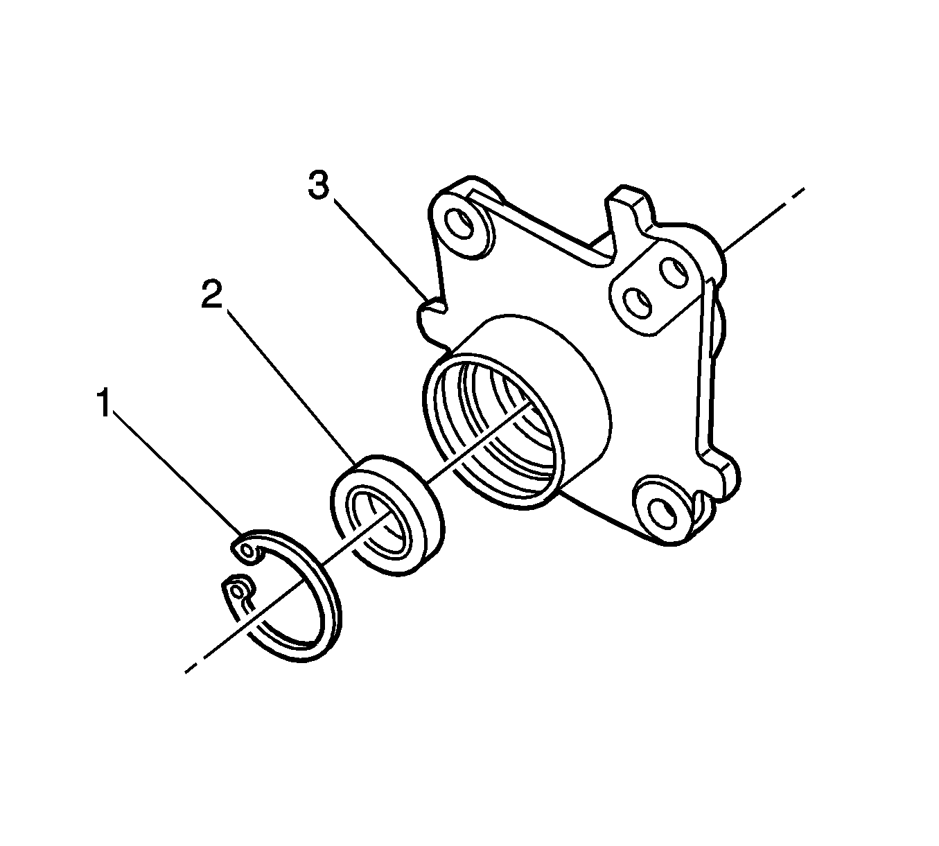
  13. Object Number: 908027  Size: SH
  14. Remove the snap ring (1) from the intermediate shaft bearing housing (3).
  15. Using hammer and brass drift carefully separate the intermediate shaft bearing (2) from the intermediate shaft bearing housing (3).
  16. Thoroughly clean the intermediate shaft bearing housing using denatured alcohol or equivalent and allow to dry.
  17. Inspect the intermediate shaft bearing housing for damage, if damaged replace the intermediate shaft bearing housing.

Installation Procedure


    Object Number: 908027  Size: SH
  1. Install the intermediate shaft bearing (2) to the intermediate shaft bearing housing (3).
  2. Using J 21474-20 , and a hydraulic press fully seat the intermediate shaft bearing (2) to the intermediate shaft bearing housing (3).
  3. Install the snap ring (1) into the retaining groove of the bearing housing (3).

  4. Object Number: 908025  Size: SH
  5. Install the intermediate shaft bearing assembly to the intermediate wheel drive shaft.
  6. Notice: Refer to Fastener Notice in the Preface section.

  7. Install the intermediate shaft bearing housing mounting bolts to the oil pan.
  8. Tighten
    Tighten the intermediate shaft bearing assembly mounting bolts to 60 N·m (44 lb ft).


    Object Number: 908032  Size: SH
  9. Apply a small amount of grease GM P/N 01051344, (Canadian P/N 993037) to the intermediate wheel drive shaft splines.
  10. Install a new O-ring (1) on the intermediate wheel drive shaft. The intermediate wheel drive shaft O-ring groove is on the splined end of the shaft.
  11. Install a new wheel drive shaft retaining ring (2). The intermediate wheel drive shaft retaining ring groove is on the splined end of the shaft.
  12. Install the left front wheel drive shaft. Refer to Front Wheel Drive Shaft Replacement .
  13. Install the left tire and wheel assembly. Refer to Tire and Wheel Removal and Installation .
  14. Lower the vehicle.