|
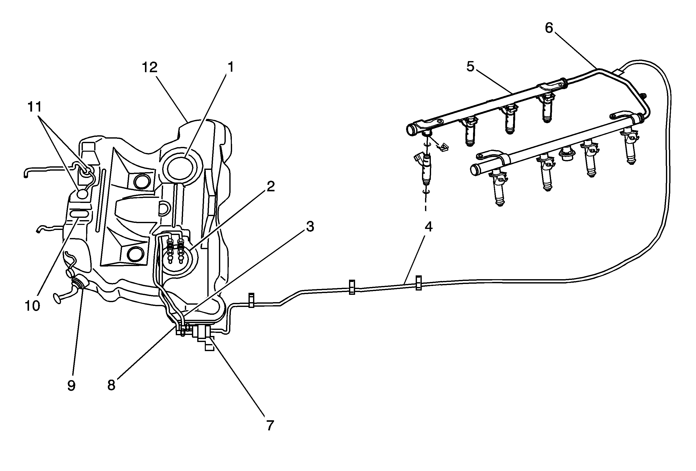
| (1) | Jet Pump and Fuel Sender Assembly |
| (2) | Fuel Pump and Fuel Sender Assembly |
| (3) | Fuel Feed Hose |
| (4) | Fuel Feed Pipe |
| (5) | Fuel Rail and Injectors |
| (6) | Fuel Pressure Test Connection |
| (7) | Fuel Filter |
| (8) | Fuel Return Hose |
| (9) | Fuel Filler Tube |
| (10) | Fuel Tank Pressure (FTP) Sensor |
| (11) | Fuel Level Vent Valve (FLVV) |
| (12) | Fuel Tank |