GM Service Manual Online
For 1990-2009 cars only

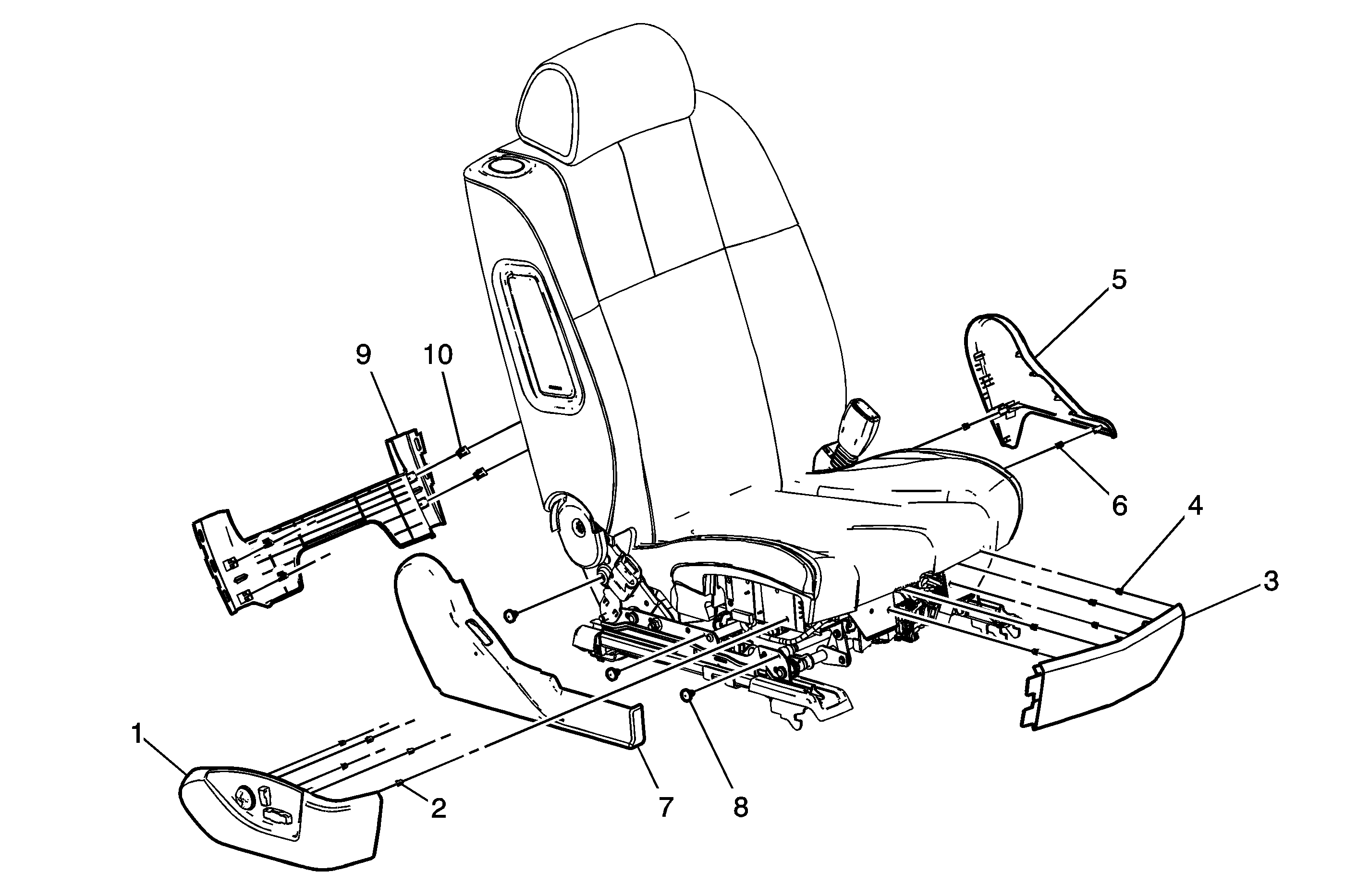
Object Number: 1702626  Size: MF

Callout

Component Name

1

Seat Adjuster Switch Bezel

Procedure

  1. Pull the seat switch bezel away from the seat to disengage the retainers.
  2. Disconnect the electrical connectors.
  3. If replacing the bezel, transfer the switches.

2

Seat Adjuster Switch Bezel Retainer (Qty: 5)

3

Seat Cushion Front Cover

Tip
Pull the cover away from the seat to disengage the retainers.

4

Seat Cushion Front Cover Retainer (Qty: 5)

5

Seat Recliner Inner Finish Cover

Tip
Seat or center console may have to be loosened to get enough room to pull the cover away from the seat.

6

Seat Recliner Inner Finish Cover Retainer (Qty: 2)

7

Seat Recliner Outer Finish Cover

Tip

    • Disconnect the seat belt from the seat.
    • Use a trim tool, or equivalent, to remove the finish cover from the seat.

8

Seat Recliner Outer Finish Cover Retainer (Qty: 3)

9

Seat Adjuster Finish Cover

Tip
Pull the cover rearward from the seat to disengage the retainers.

10

Seat Adjuster Finish Cover Retainer (Qty: 4)