GM Service Manual Online
For 1990-2009 cars only

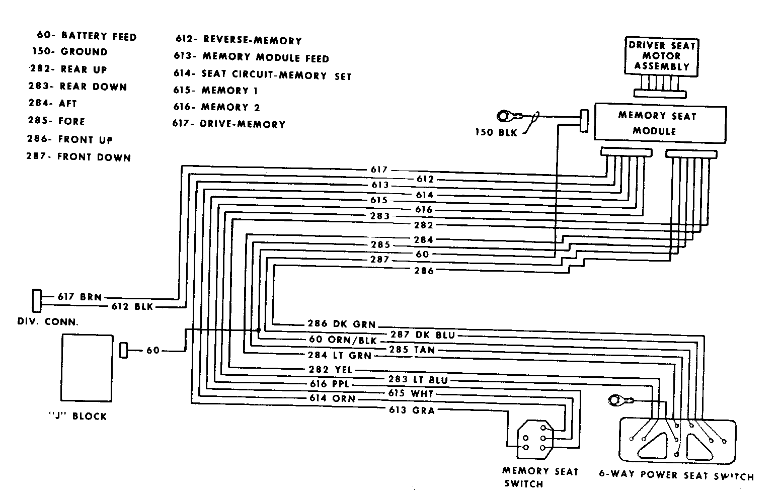
POWER SIX - WAY TWO-POSITION MEMORY SEAT SYSTEM DIAG.

POWER SIX-WAY TWO-POSITION MEMORY SEAT SYSTEM- 1981 CADILLAC C, E, and K STYLES

The new power two-position memory seat system went into production the week of November 3, 1980. The memory seat system has a three-button switch assembly located in the left front door armrest, which operates in conjunction with the six-way power seat control switch.

When any of the six-way seat control switches are activated, power is transmitted through the seat memory module to the motor under the driver's seat.

The memory system can be overridden by actuation of the six-way seat switch. This action will not cancel the present memory positions.

The programmable power seat is a semi-automatic system that allows the driver to position the seat to a predetermined position. The driver can record in memory any two seat positions and recall either one at a future time. As the seat is moved, digital pulses are produced by each of the three motors. These pulses are used to increase or decrease the counters that keep track of the seat's position. Calibration is not necessary since the counters are set to their center position when the microcomputer is "powered up", and the number of motor revolutions are less than half the counter's capacity.

The memory switch assembly consists of a three-button switch, set, #1 memory seat switch, and #2 memory seat switch (Figure 1), which are used to record and recall seat positions from the microcomputer's memory. To record a seat position, the set and then the appropriate memory recall button switch must be pressed. When the set button switch is pressed, no action is taken to alter the memory until a memory recall button switch is pressed.

To enter a position in the memory unit, the recall button switch must be activated within 5 seconds of activation of the set button switch. If the proper procedure is not completed within the above time span, no position will be recorded in the memory. This two-step procedure is necessary to prevent accidental changes in the memory.

The memory module will only record or recall a seat position when the gear shift selector is in the park or neutral position. Once a seat position is recorded in the memory, it will remain permanently valid until a new seat position is programmed or until power is lost (battery removed, disconnect, etc.). When vehicle power is lost to the module, all previously programmed seat positioning will also be lost and must be programmed when power is restored.

The memory seat module assembly is located under the right front of the driver's seat. To check for module failure when the seat fails to operate, the module can be by-passed by connecting the motor connector from the module to the six-way seat switch connector (Figure 1). This allows the seat to operate as a standard six-way seat. For additional problem diagnostics, see Conditions 1, 2, or 3.

The operation and diagnosis of the memory seat option is explained in detail in the 1981 Electrical Diagnosis Manual.

Warranty For warranty purposes, use the following: N5510 - Module Replace, 0.3 hr. N5520 - Switch Replace, 0.2 hr.


Object Number: 77452  Size: FS


Object Number: 79426  Size: FS


Object Number: 85537  Size: FS


Object Number: 85536  Size: FS


Object Number: 88542  Size: MF


Object Number: 74553  Size: FS

General Motors bulletins are intended for use by professional technicians, not a "do-it-yourselfer". They are written to inform those technicians of conditions that may occur on some vehicles, or to provide information that could assist in the proper service of a vehicle. Properly trained technicians have the equipment, tools, safety instructions and know-how to do a job properly and safely. If a condition is described, do not assume that the bulletin applies to your vehicle, or that your vehicle will have that condition. See a General Motors dealer servicing your brand of General Motors vehicle for information on whether your vehicle may benefit from the information.