GM Service Manual Online
For 1990-2009 cars only

Tools Required

J 38817-A Rear Crankshaft Seal Installer


    Object Number: 204257  Size: SH
  1. Place a small amount of GM Gasket Maker, GM P/N 1052942 or equivalent, at the crankcase split line across the end of the upper/lower crankcase seal.
  2. Lubricate the rear main seal sealing lips with clean engine oil.
  3. Lubricate the outer diameter of the cylinder block seal area with clean engine oil.

  4. Object Number: 71394  Size: SH
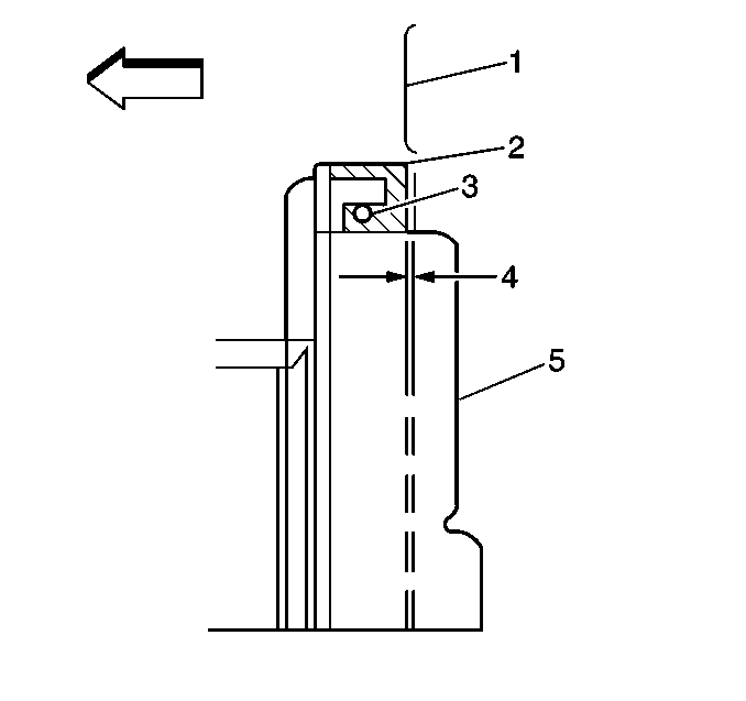
  5. Slide the seal over the arbor of the J 38817-A . The garter spring should face the engine.
  6. Thread the J 38817-A into the crankshaft flange.
  7. Install the seal by turning the handle until the tool bottoms against the crankcase.

  8. Object Number: 204259  Size: SH
  9. Make sure the rear crankshaft seal is installed to the correct depth. When properly installed, the outer surface of the seal (2) should be 0.5 mm (0.020 in) below (4) the surface of the engine block (1).