GM Service Manual Online
For 1990-2009 cars only

Automatic Level Control Sensor Adjustment w/o Road Sensing Suspension

Adjustment Procedure

The link must be attached to the height sensor arm and the suspension control arm during the adjustment.

  1. Park the vehicle on a level floor.
  2. Inspect the following:
  3. • Inspect the tire inflation pressures and adjust if necessary.
    • Inspect the fuel level in the tank; the tank should be full or adjust the rear suspension loading to simulate a full fuel load: 3.75 liters (1 gal) weighs about 3.2 kg (7 lb).
    • No other load is in the vehicle.
  4. Place the front seat in rear position.
  5. Turn the ignition switch to the ON position to activate the system.
  6. Bounce the rear of the vehicle three times to normalize the suspension.
  7. Measure the trim height at the rear underbody points on both sides of the vehicle. Refer to Trim Height .
  8. If the trim heights vary from side to side more than 12 mm (0.5 in), and BOTH trim heights are lower than 208 mm (8.19 in) (KY) or 219 mm (8.62 in) (KS), then there is a problem with the rear springs or suspension.
  9. Important: DO NOT continue this procedure until the above suspension problem is corrected.


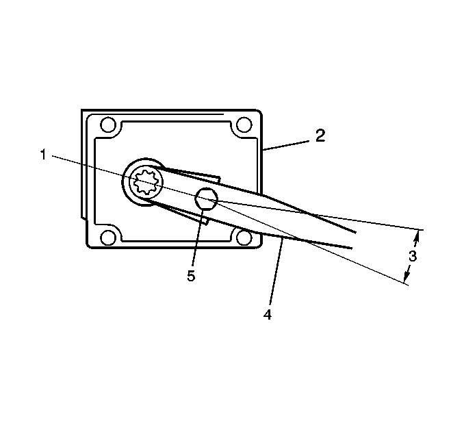
    Object Number: 227998  Size: SH
  10. Loosen the lock bolt (5) that clamps the metal actuating arm (4) to the plastic actuating arm. To increase the trim height, move the plastic arm up in relation to the metal arm; to decrease the trim height, move the plastic arm down in relation to the metal arm.
  11. Tighten the lock bolt.
  12. Bounce the rear of the vehicle three times to normalize the rear suspension.
  13. Measure the trim height at the rear underbody points on both sides of the vehicle. Refer to Trim Height .

Optional Sensor Adjustment Method

Special Tool J 34825 may be used for sensor adjustment. Instructions are provided with the tool.

Automatic Level Control Sensor Adjustment with Road Sensing Suspension

Adjustment Procedure

  1. Check for rear position sensor DTCs (C1762 and C1763).
  2. Important: If DTCs are present, correct the condition before continuing.

  3. Park the vehicle on a level surface with doors closed, and no passengers or additional weight onboard.
  4. Connect the scan tool to the Data Line Connector (DLC).
  5. Turn the ignition ON with the engine off.
  6. Check the rear CVRSS position sensor values with the scan tool. If the sensor values are out of range, check for one of the following conditions:
  7. • Bent CVRSS position sensor brackets.
    • Bent or disconnected position sensor links.