GM Service Manual Online
For 1990-2009 cars only

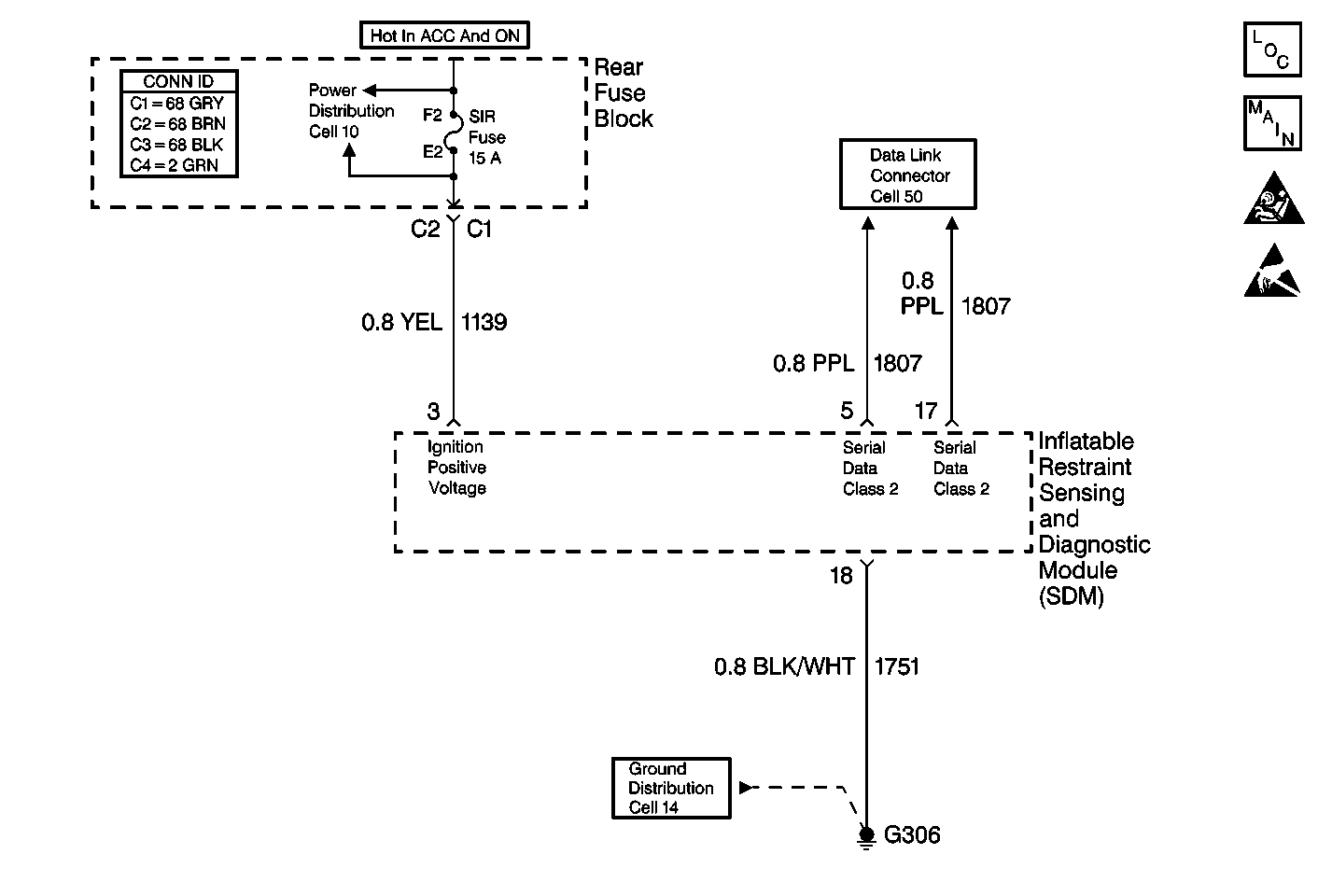
Object Number: 383413  Size: MF
SIR Components
SIR Schematics
SIR Handling Caution
Handling ESD Sensitive Parts Notice

Circuit Description

When the ignition switch is first turned to the ON position, the SIR Fuse applies battery voltage to the inflatable restraint sensing and diagnostic module (SDM) at the Ignition 1 input, terminal 3. Battery voltage is also applied to the instrument cluster (IPC). The IPC responds by flashing the AIR BAG warning lamp seven times. The SDM performs tests on the SIR system while the IPC is flashing the warning lamp. If the SDM detects no malfunctions, the SDM commands the IPC to turn the warning lamp OFF. If the SDM detects a malfunction, the SDM commands the IPC to turn the warning lamp ON. The SDM commands the IPC over the Serial Data Line Class 2.

Diagnostic Aids

If the IPC receives no message from the SDM the IPC will do the following when the ignition is turned to the ON position:

    • Flash the AIR BAG warning lamp seven times
    • Turn the warning lamp ON
    • Set DTC U1088 (Loss of Serial Data Line Class 2 State Of Health (SOH) with the SDM) or DTC U1255 (Generic Loss of Serial Data Line Class 2 (SOH)).

When measurements are requested in this table, use J 39200 Digital Multimeter with the correct terminal adapter from J 35616 Connector Test Adapter Kit. When a check for proper connection is requested, refer to General Electrical Diagnosis Procedures in Wiring Systems. When a wire, connector or terminal repair is requested, use J-38125 Terminal Repair Kit and refer to Wiring Repair .

Test Description

The numbers below refer to the step numbers on the diagnostic table:

  1. This test determines if the SDM can communicate with the scan tool.

  2. This test checks for sufficient Ignition 1 voltage applied to the SDM.

  3. This test determines whether the Class 2 serial data line is malfunctioning.

  4. This test checks for an open SIR Fuse.

  5. This tests determines whether a short-to-ground caused the SIR Fuse to open.

  6. This test determines whether the short to ground is due to a short in the wiring or internal to the SDM.

  7. This test checks for a disconnected SDM.

  8. This test checks for an open in the Ignition 1 circuit.

Step

Action

Value(s)

Yes

No

1

Was the SIR Diagnostic System Check performed?

--

Go to Step 2

Go to SIR Diagnostic System Check

2

Does the scan tool indicate no data received?

--

Go to Step 5

Go to Step 3

3

  1. Set the parking brake.
  2. Start the engine.
  3. Using the scan tool, read the SIR data list. Refer to Scan Tool Data List .

Is Ignition 1 more than the specified value?

7.8 V

Go to Step 4

Go to Step 5

4

Replace the instrument cluster (IPC). Refer to Instrument Cluster Replacement in Instrument Panel, Gauges, and Console.

Is the replacement complete?

--

Go to SIR Diagnostic System Check

--

5

Can you establish communications with other modules (PCM, RKE, IPC, etc.) on the Class 2 serial data line?

--

Go to Step 6

Go to Data Link Communications System Check in Wiring Systems

6

  1. Turn the ignition switch to the OFF position.
  2. Remove the SIR Fuse.
  3. Inspect the SIR Fuse.

Is the SIR Fuse good?

--

Go to Step 12

Go to Step 7

7

  1. Replace the SIR Fuse.
  2. Turn the ignition switch to the ON position for 10 seconds.
  3. Turn the ignition switch to the OFF position.
  4. Remove the SIR Fuse.
  5. Inspect the SIR Fuse.

Is the SIR Fuse good?

--

Go to Step 11

Go to Step 8

8

  1. Disconnect the SDM.
  2. Replace the SIR Fuse.
  3. Turn the ignition switch to the ON for 10 seconds.
  4. Turn the ignition switch to the OFF position.
  5. Remove the SIR Fuse.
  6. Inspect the SIR Fuse.

Is the SIR Fuse good?

--

Go to Step 10

Go to Step 9

9

  1. Repair a short to ground in CKT 1139 (YEL). Refer to Wiring Repair .
  2. Connect the SDM.
  3. Replace the SIR Fuse.

Are the repairs complete?

--

Go to Step 20

--

10

  1. Replace the inflatable restraint sensing and diagnostic module (SDM). Refer to Inflatable Restraint Sensing and Diagnostic Module Replacement .
  2. Install the SIR Fuse.

Have the repairs been completed?

--

Go to Step 20

--

11

Install the SIR Fuse.

Have the repairs been completed?

--

Go to Step 20

--

12

Inspect the SDM harness connector.

Is the connector secure?

--

Go to Step 14

Go to Step 13

13

  1. Properly connect the SDM harness connector.
  2. Install the CPA.

Have the repairs been completed?

--

Go to Step 20

--

14

  1. Disconnect the inflatable restraint steering wheel and IP module yellow 2-way connectors at the base of the steering column and behind the IP compartment sound insulator.
  2. Disconnect the SDM.
  3. Check for proper connection to the SDM at terminal 3.

Is the SDM harness connector terminal damaged or corroded?

--

Go to Step 15

Go to Step 16

15

Replace the SDM harness connector. Refer to Wiring Repair .

Have the repairs been completed?

--

Go to Step 20

--

16

Inspect the SDM terminals for damage or corrosion.

Are any terminals damaged or corroded?

--

Go to Step 17

Go to Step 18

17

Replace the inflatable restraint sensing and diagnostic module (SDM). Refer to Inflatable Restraint Sensing and Diagnostic Module Replacement .

Have the repairs been completed?

--

Go to Step 20

--

18

Using J 39200 DMM, measure the resistance from the SIR harness connector terminal 3 to connector C1 terminal C2, at the Rear Fuse Block.

Is either resistance reading less than the specified value?

5.0 ohms

Go to Sensing and Diagnostic Module Integrity Check

Go to Step 19

19

Repair the open condition in CKT 1139 (YEL) between the rear junction block and the SDM. Refer to Wiring Repair .

Have the repairs been completed?

--

Go to Step 20

--

20

Reconnect all the SIR system components, make sure all the components are properly mounted.

Have all the SIR components been reconnected and properly mounted?

--

Go to SIR Diagnostic System Check

--