GM Service Manual Online
For 1990-2009 cars only
Makes
🢒
Cadillac
🢒
1998
🢒
Seville
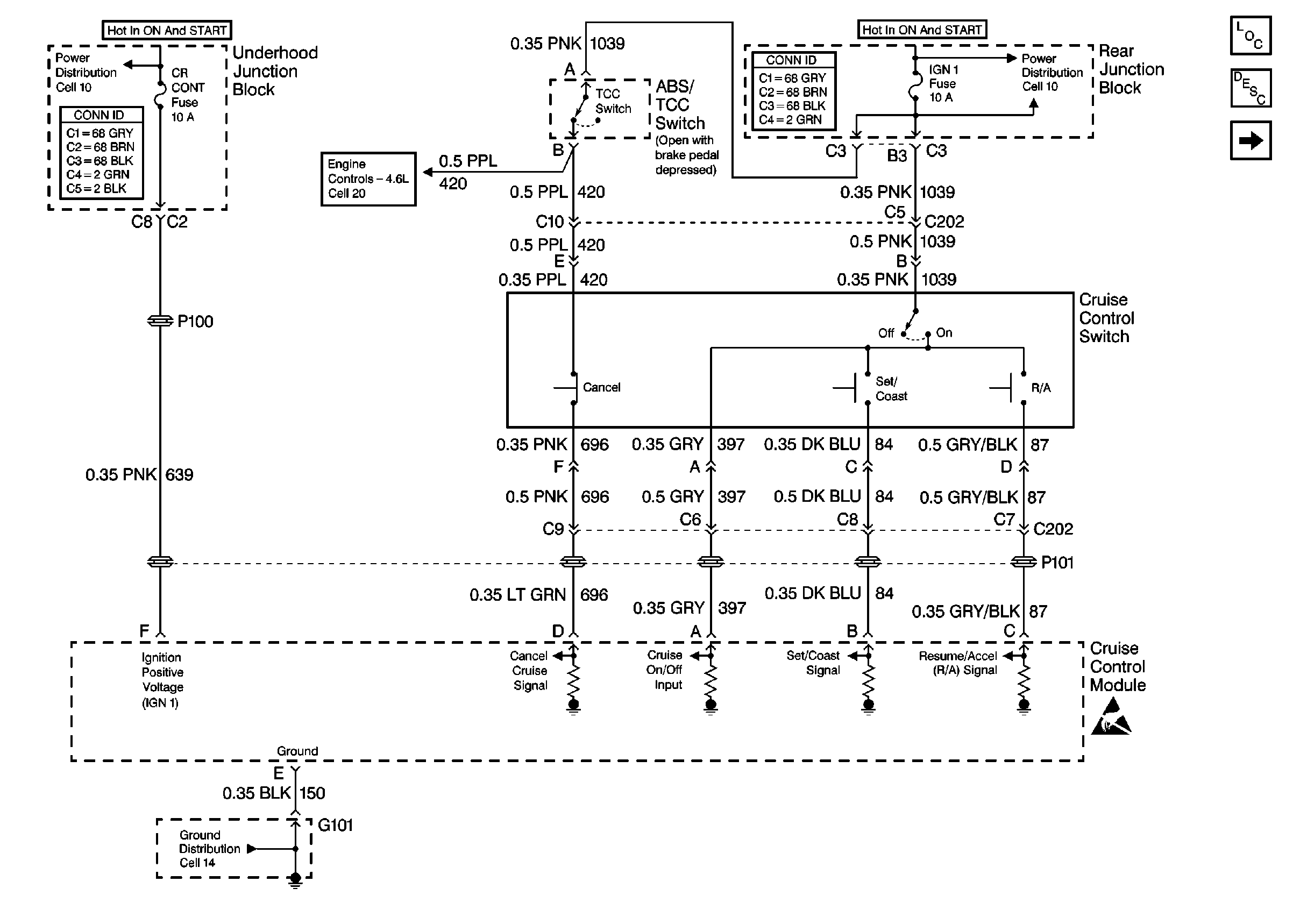
🢒 Cell 34: Multifunction Lever and Cruise Control Module Power and Ground
Cell 34: Multifunction Lever and Cruise Control Module Power and Ground
Cell 34: Multifunction Lever and Cruise Control Module Power and Ground
Cruise Control Components
Cruise Control System Circuit Description
Cell 34: Cruise Control Module PCM Controls and Vehicle Speed Input
Handling ESD Sensitive Parts Notice
Cell 10: OXYSENA, OXYSENB, DIS, and CRCONT Fuses
Cell 10: IGN 1 Relay and SIR, VENT SOL, IGN 1 Fuses
Cell 20: ABS/TCC Switch and Transaxle Solenoids
Cell 14: G101 and G105
Power and Grounding Connector End Views
Power and Grounding Connector End Views