GM Service Manual Online
For 1990-2009 cars only
Makes
🢒
Cadillac
🢒
1998
🢒
Seville
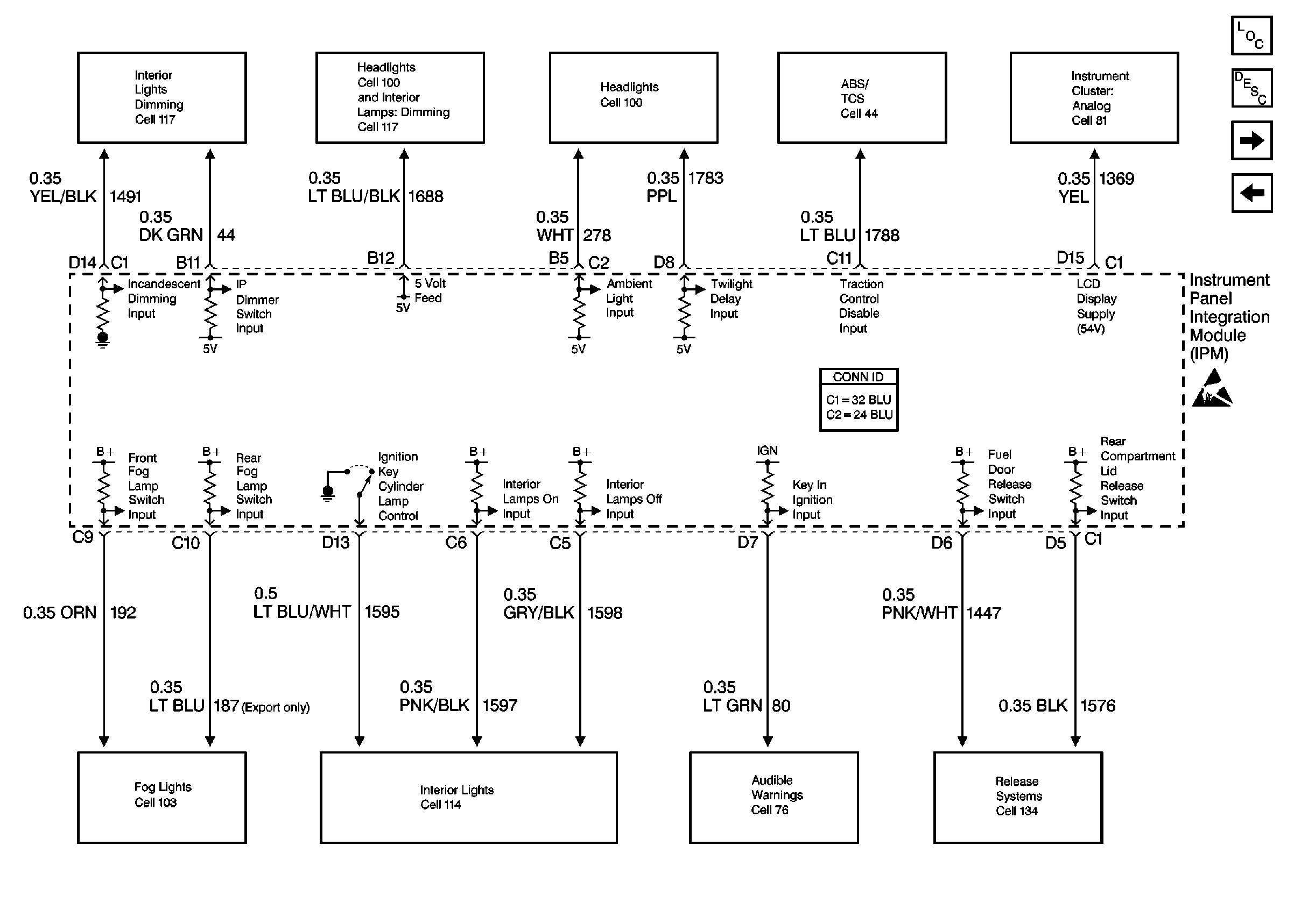
🢒 Cell 51: IPM Inputs and Outputs
Cell 51: IPM Inputs and Outputs
Cell 51: IPM Inputs and Outputs
Body Control Module Components
Body Control System Circuit Description
Cell 51: RIM Power and Ground
Cell 51: IPM Inputs and Outputs
Handling ESD Sensitive Parts Notice
Release Systems Schematics
Audible Warnings Schematics 98
Interior Lights Schematics
Interior Lights Dimming Schematics
Interior Lights Dimming Schematics
ABS/TCS Schematics
Instrument Cluster: Analog Schematics
Power and Grounding Connector End Views