GM Service Manual Online
For 1990-2009 cars only
Makes
🢒
Cadillac
🢒
1998
🢒
Seville
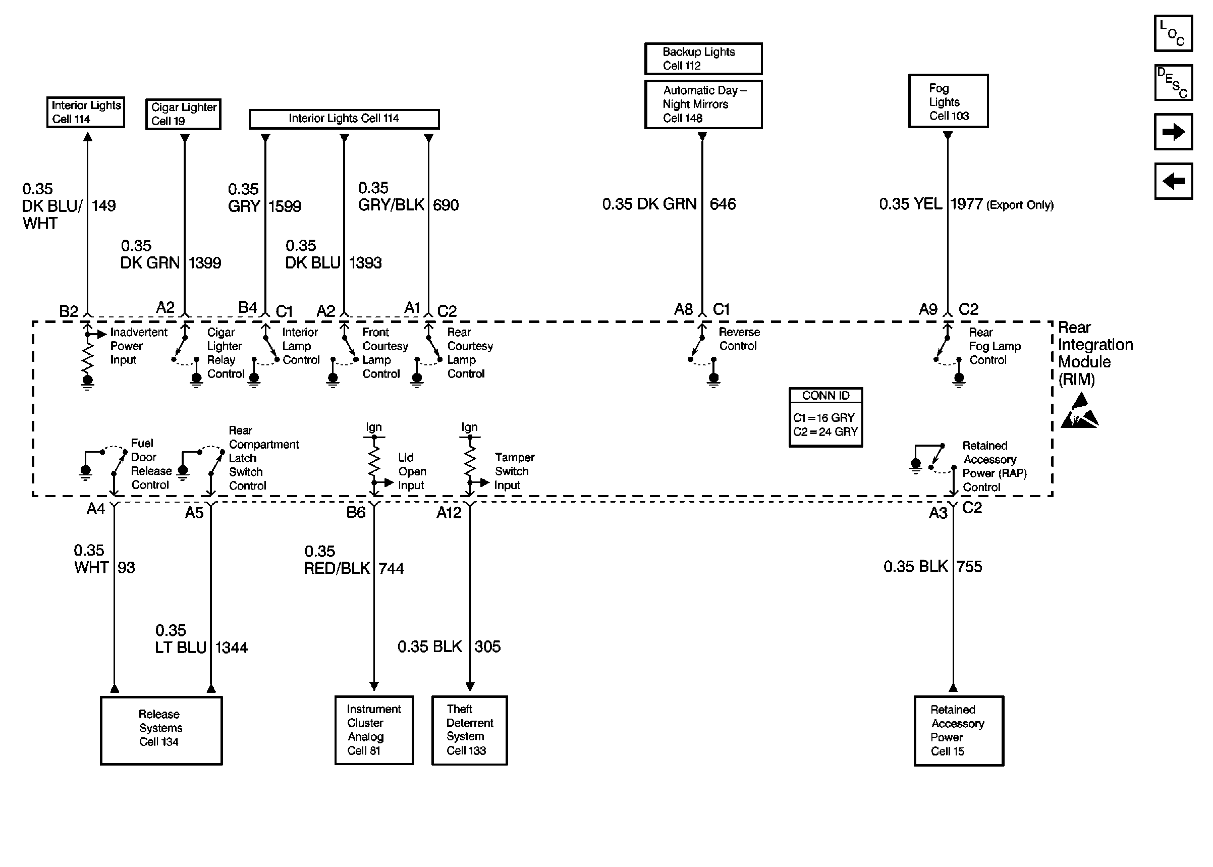
🢒 Cell 51: RIM Inputs and Outputs
Cell 51: RIM Inputs and Outputs
Cell 51: RIM Inputs and Outputs
Body Control Module Components
Body Control System Circuit Description
Cell 51: RIM Inputs and Outputs
Cell 51: RIM Power and Ground
Handling ESD Sensitive Parts Notice
Retained Accessory Power (RAP) Schematics
Theft Deterrent System Schematics
Instrument Cluster: Analog Schematics
Release Systems Schematics
Interior Lights Schematics
Cigar Lighter/Power Outlet Schematics
Interior Lights Schematics
Backup Lamp Schematics
Automatic Day-Night Mirrors Schematics
Power and Grounding Connector End Views