GM Service Manual Online
For 1990-2009 cars only
Makes
🢒
Cadillac
🢒
1998
🢒
Seville
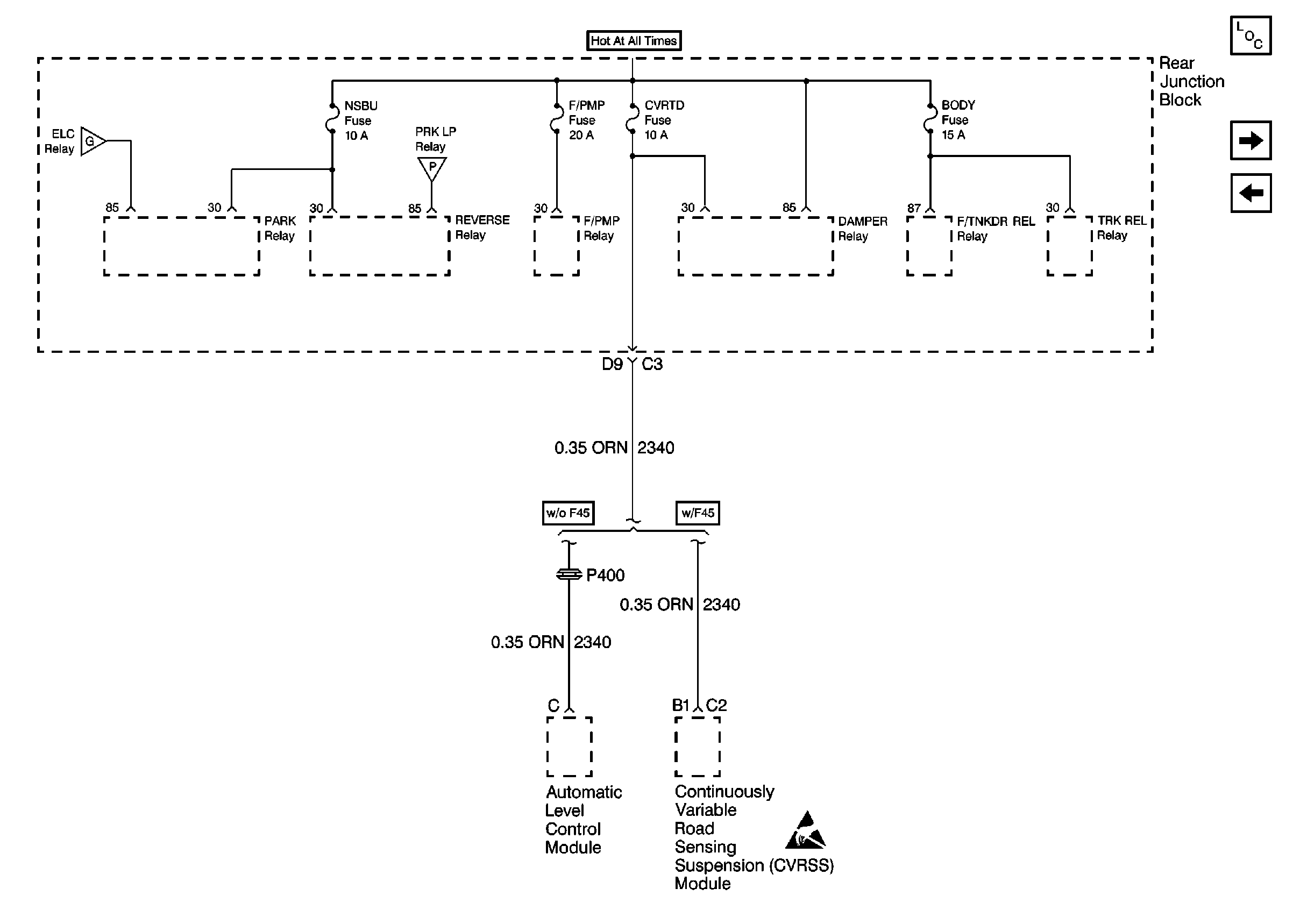
🢒 Cell 10: NSBU, F/PMP, CVRTD, and BODY Fuses
Cell 10: NSBU, F/PMP, CVRTD, and BODY Fuses
Cell 10: NSBU, F/PMP, CVRTD, and BODY Fuses
Power and Grounding Components
Cell 10: PCM BATT, EXPORT BRK, IP, ABS SOL, and ABS MOT Fuses
Cell 10: DRV MDL, PASS MDL, RRDR MDL, and ALDL Fuses