GM Service Manual Online
For 1990-2009 cars only
Makes
🢒
Cadillac
🢒
1998
🢒
Seville
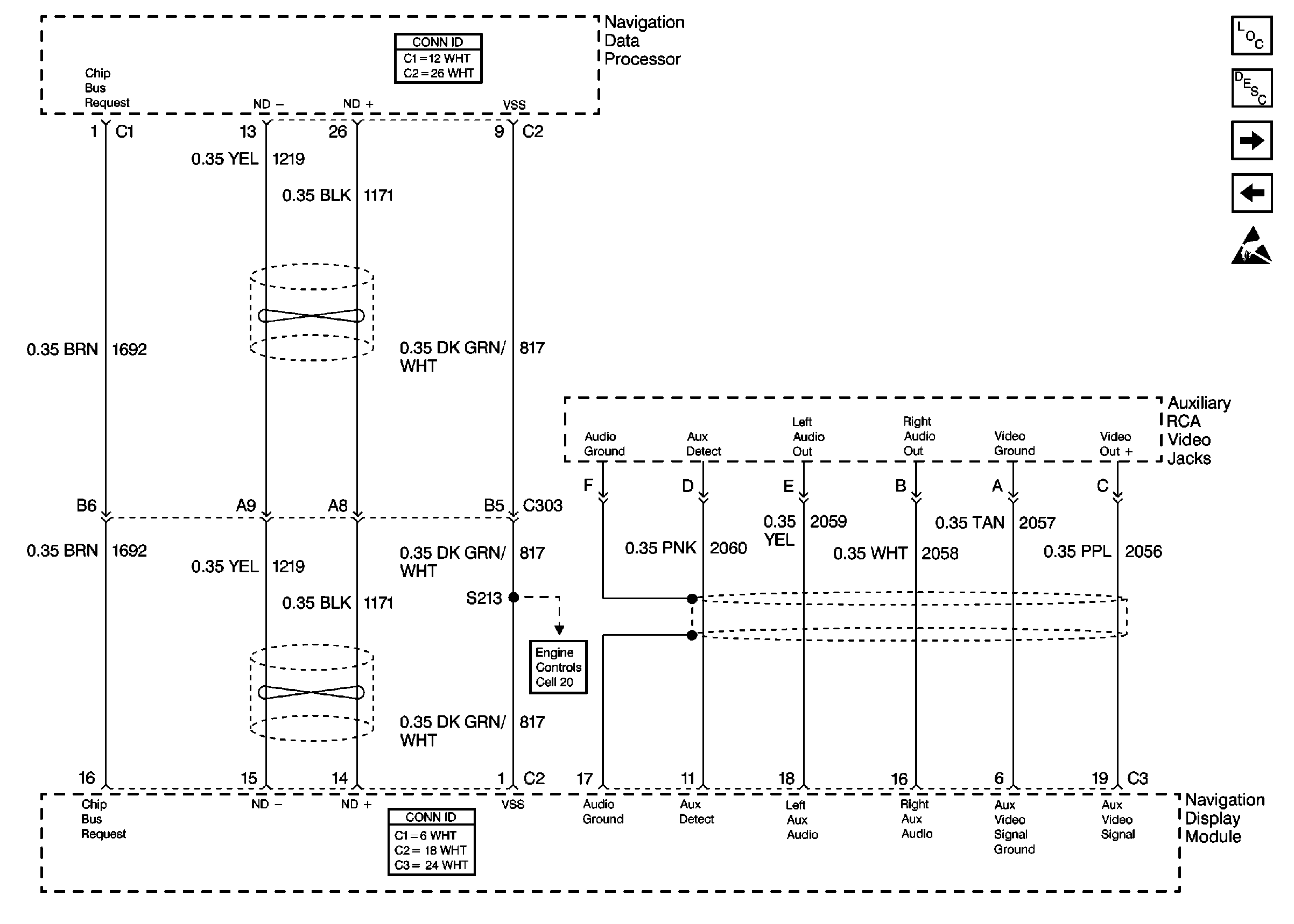
🢒 Cell 85: Gateway Communication and Video Jacks
Cell 85: Gateway Communication and Video Jacks
Cell 85: Gateway Communication and Video Jacks
Navigation System Components 98
Cell 85: Video and Radio Communication
Cell 85: PWR and GRD
Navigation System Connector End Views
Navigation System Connector End Views
Engine Controls Schematics
Handling ESD Sensitive Parts Notice