GM Service Manual Online
For 1990-2009 cars only

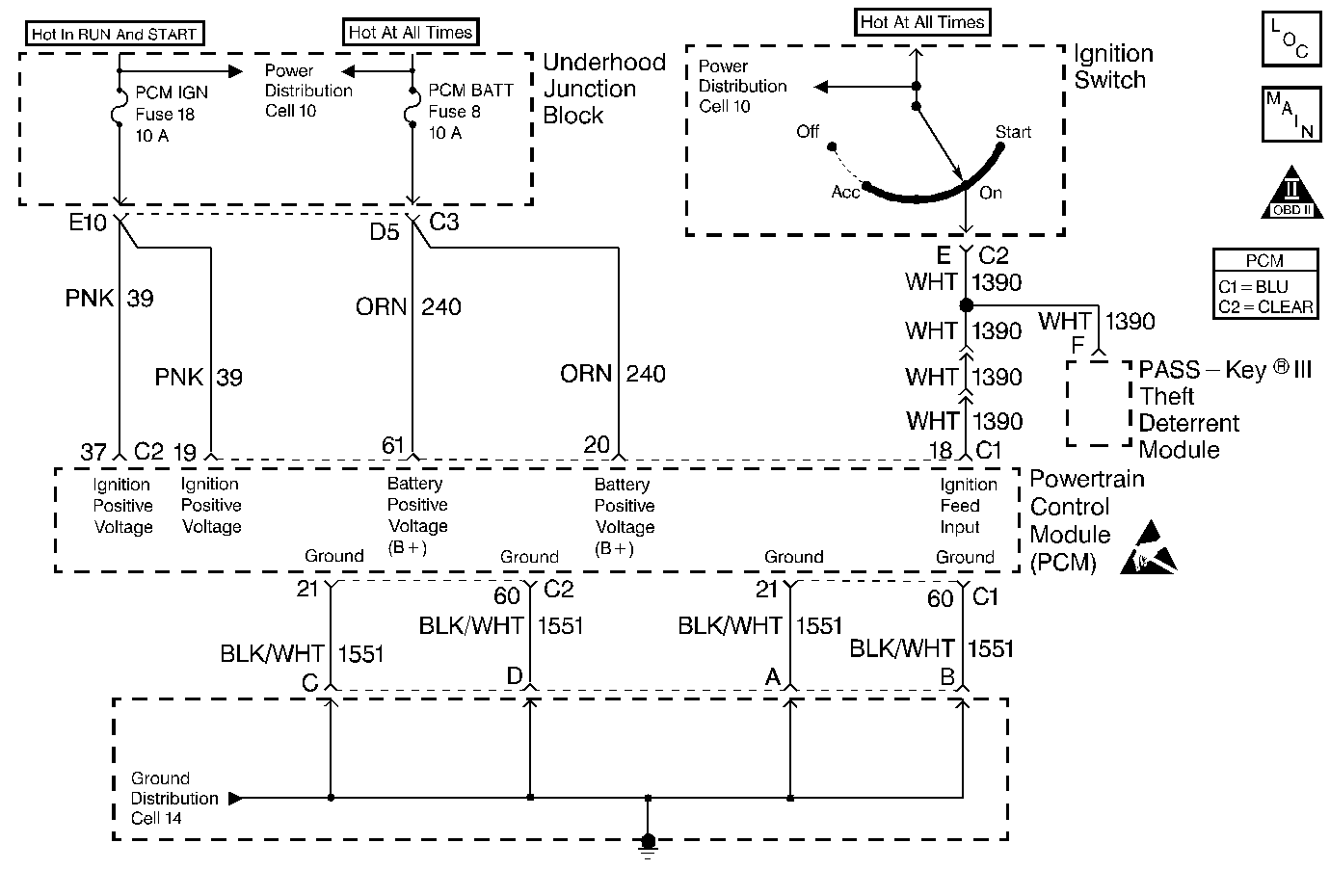
Object Number: 155179  Size: MF
Engine Controls Components
Cell 20: PCM Power and Grounds
OBD II Symbol Description Notice
ESD Notice

Circuit Description

The PCM is powered with 5 power feeds. Two of these feeds are from the battery, the other three are from the ignition switch and are called Ignition 1, Ignition Supplement and Ignition 0. Ignition 1 and Ignition Supplement are powered any time the key is in the CRANK , RUN or ACC positions. Ignition 0 is powered in ALL key positions except LOCK and CRANK. This diagnostic test is used to monitor the voltages received by the PCM at connector C1 terminals 18 and 19. When the engine is running, the PCM will compare the Ignition 1 voltage it receives at connector C1 terminal 19 to the Ignition 0 voltage it receives at connector C1 terminal 18. If the Ignition 1 and Ignition 0 voltages are more than 2 volts different for 5 seconds, DTC P1634 will set.

Conditions for Running the DTC

Engine running

Conditions for Setting the DTC

Voltage difference between Ignition 1, PCM C1-19, and Ignition 0, PCM C1-18, inputs greater than 2 volts for 5 seconds.

Action Taken When the DTC Sets

    •  The PCM will illuminate the malfunction indicator lamp (MIL) when the diagnostic runs and fails.
    •  The PCM will record operating conditions at the time the diagnostic fails. This information will be stored in the Freeze Frame and Failure Records.

Conditions for Clearing the MIL/DTC

    •  The PCM will turn the MIL OFF after three consecutive drive trips that the diagnostic runs and does not fail.
    •  A Last Test Failed (current) DTC will clear when the diagnostic runs and does not fail.
    •  A History DTC will clear after forty consecutive warm-up cycles with no failures of any emission related diagnostic test.
    • Use a scan tool to clear DTCs.
    • Interrupting PCM battery voltage may or may not clear DTCs. This practice is not recommended. Refer to Clearing Diagnostic Trouble Codes in PCM Description and Operation.

Diagnostic Aids

If this DTC is intermittent check terminal contact at the PCM and the condition of the CKT 639 splice for an intermittent open condition.

If the Ignition 0 to the PCM is lost the vehicle will still run but some outputs may not function, if the Ignition 1 voltage is lost or goes below 5.5 volts the vehicle will not run but DTC P1634 should set.

Step

Action

Value(s)

Yes

No

1

Did you perform the Powertrain On-Board Diagnostic (OBD) System Check?

--

Go to Step 2

Go to Powertrain On Board Diagnostic (OBD) System Check

2

Using a scan tool check the status of DTC P0560.

Is DTC P0560 also set?

--

Go to DTC P0560 System Voltage

Go to Step 3

3

  1. Using a scan tool view both the Ignition 0 and the Ignition 1 displays.
  2. Compare both readings to each other.

Are the voltages both within each other by the value specified?

0.5 volts

Go to Step 4

Go to Step 5

4

  1. Using the scan tool, clear this DTC.
  2. Start and idle the engine.
  3. After 10 seconds check Fail This Ign

Did this DTC fail this ignition cycle?

--

Go to Step 12

Fault not present. Refer to Diagnostic Aids

5

Was the Ignition 0 voltage lower than the Ignition 1 voltage?

--

Go to Step 6

Go to Step 7

6

Inspect the Ignition 0 fuse 29 (labeled IGN SW In the rear junction block).

Is the fuse blown?

--

Go to Step 10

Go to Step 9

7

Inspect the Ignition 1 fuse (labeled PCM (IGN)).

Is the fuse blown?

--

Go to Step 8

Go to Step 11

8

  1. Repair the short to ground on CKT 39.
  2. Replace the fuse.

Is the repair complete?

--

Go to Powertrain Control Module Diagnosis for Verify Repair

--

9

Repair the open/high resistance or poor terminal contact in CKT 1390.

Is the repair complete?

--

Go to Powertrain Control Module Diagnosis for Verify Repair

--

10

  1. Repair the short to ground on CKT 540 or 1390.
  2. Replace the fuse.

Is the repair complete?

--

Go to Powertrain Control Module Diagnosis for Verify Repair

--

11

Repair the open/high resistance or poor terminal contact in CKT 39.

Is the repair complete?

--

Go to Powertrain Control Module Diagnosis for Verify Repair

--

12

  1. Check the terminal contact at the PCM connector C1 terminals 18 and 19.
  2. Repair terminal contact if needed.

Was terminal contact repaired?

--

Go to Powertrain Control Module Diagnosis for Verify Repair

Go to Step 13

13

Replace the PCM. Refer to Powertrain Control Module Replacement .

Is the replacement complete?

--

Go to Powertrain Control Module Diagnosis for Verify Repair

--