GM Service Manual Online
For 1990-2009 cars only

Object Number: 259749  Size: MF
Radio/Audio System Circuit Description
Cell 150: Power and Ground
Cell 150: Power and Ground
Handling ESD Sensitive Parts Notice
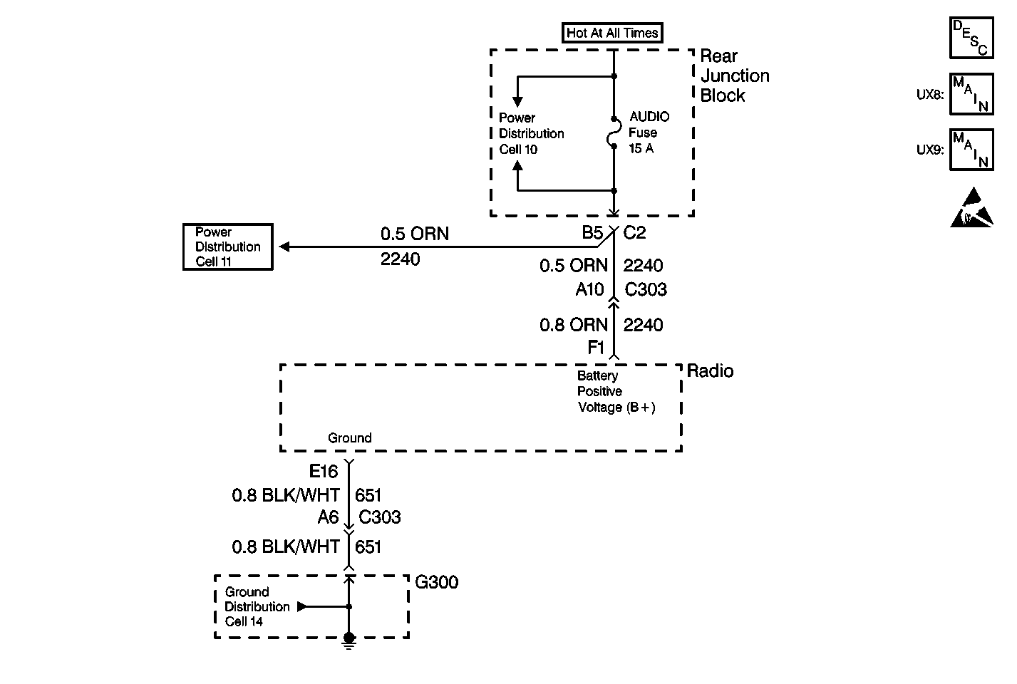
Power Distribution Schematics
Power Distribution Schematics
Ground Distribution Schematics

Circuit Description

The radio (IRC) performs internal tests on the EEPROM each time that the radio performs a write function to a memory address in the EEPROM. The radio reads back the data that has been written and compares it to the data. If the data does not match after 3 consecutive write and verify attempts, the radio indicates a write malfunction is current.

Conditions for Setting the DTC

    • The data read back after a write does not match the data being written 3 consecutive times.
    • The radio detects an internal write malfunction.
    • The condition must occur when data is being written.

Action Taken When the DTC Sets

    • Stores a DTC B1656 in the radio memory.
    • No driver warning message is displayed for this DTC.
    • The radio stores the value being written in another memory address in the EEPROM.

Conditions for Clearing the DTC

    • This DTC requires a successful write in order to change from current to history.
    • The radio no longer detects an internal write malfunction.
    • A history DTC clears after 50 consecutive ignition cycles if the condition for the malfunction is no longer present.

Diagnostic Aids

Since the EEPROM cannot be removed from the radio and DTC B1656 is an internal radio malfunction, the radio may need to be replaced.

Test Description

The numbers below refer to the step numbers on the diagnostic table:

  1. Perform the Radio/Audio System Diagnostic System Check before continuing with the diagnosis of this DTC.

  2. Clear all DTCs and cycle ignition to check that the DTC did not falsely set.

  3. Clear all DTCs after the repair procedure is complete.

Step

Action

Value(s)

Yes

No

1

Was the Radio/Audio System Diagnostic System Check performed?

--

Go to Step 2

Go to Diagnostic System Check - Radio/Audio System

2

  1. Turn the ignition switch to ON.
  2. Clear any DTCs. Refer to Clearing DTCs .
  3. Turn the ignition switch to OFF.
  4. Turn the ignition switch to ON.

Is the DTC still present?

--

Go to Step 3

System OK

3

Replace the radio. Refer to Radio Replacement .

Is the replacement complete?

--

Go to Step 4

--

4

  1. Turn the ignition switch to OFF.
  2. Reconnect or install any connectors or components that were disconnected or removed.
  3. Turn the ignition switch to ON.
  4. Clear any DTCs. Refer to Clearing DTCs .

Are all DTCs cleared?

--

Go to Diagnostic System Check - Radio/Audio System

--