GM Service Manual Online
For 1990-2009 cars only

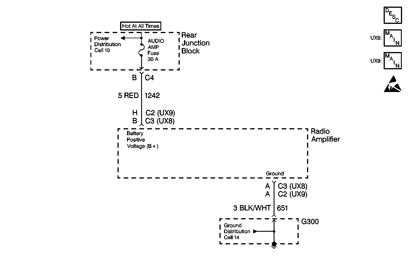
Object Number: 259750  Size: MF
Radio/Audio System Circuit Description
Cell 150: Power and Ground
Cell 150: Amplifier - Power, Ground
Handling ESD Sensitive Parts Notice
Power Distribution Schematics
Ground Distribution Schematics

Circuit Description

Battery positive voltage (B+) is supplied to the radio amplifier on CKT 1242 (RED). The radio amplifier monitors this voltage to determine if it is within a valid operating range.

Conditions for Setting the DTC

The battery positive voltage (B+) level falls below 10.5 volts for approximately 1.2 seconds or more.

Action Taken When the DTC Sets

    • Stores DTC B1327 in the radio amplifier memory.
    • The radio amplifier does not respond to inputs when the voltage is less than 10.5 volts.
    • No driver warning message are displayed for this DTC.
    •  Other radio amplifier DTCs do not set while DTC B1327 is current.

Conditions for Clearing the DTC

The battery positive voltage (B+) level rises above 10.5 volts for approximately 1.2 seconds.

Diagnostic Aids

The radio amplifier does not check for low battery positive voltage (B+) during and for two seconds following the engine CRANK mode. This restriction ensures that DTC B1327 does not erroneously set.

Test Description

The numbers below refer to the step numbers on the diagnostic table:

  1. Perform the Radio/Audio System Diagnostic System Check before continuing with the diagnosis of this DTC.

  2. Checks that DTC was not set erroneously.

  3. Determines whether the malfunction is in the charging system or the radio amplifier.

  4. Clear all DTCs after the repair procedure is complete.

DTC B1327 -- Source/Battery Voltage Low

Step

Action

Value(s)

Yes

No

1

Was the Radio/Audio System Diagnostic System Check performed?

--

Go to Step 2

Go to Diagnostic System Check - Radio/Audio System

2

  1. Turn the ignition switch to ON.
  2. Connect a scan tool to the data link connector (DLC).
  3. Select data from the radio amplifier (AMP) data list.

Is the battery positive voltage (B+) greater than the specified value?

10.5 V

Go to Step 4

Go to Step 3

3

  1. Turn the ignition switch to OFF.
  2. Disconnect the radio amplifier connectors.
  3. (UX8) Measure the voltage between the radio amplifier connector C3 terminal B and ground.
  4. (UX9) Measure the voltage between the radio amplifier connector C2 terminal H and ground.

Is the measured voltage less than the specified value?

10.5 V

Go to Charging System Check in Engine Electrical

Go to Step 4

4

Replace the radio amplifier. Refer to Radio Speaker Amplifier Replacement .

Is the replacement complete?

--

Go to Step 5

--

5

  1. Turn the ignition switch to OFF.
  2. Reconnect or install any connectors or components that were disconnected or removed.
  3. Turn the ignition switch to ON.
  4. Clear any DTCs. Refer to Clearing DTCs .

Are all DTCs cleared?

--

Go to Diagnostic System Check - Radio/Audio System

--