GM Service Manual Online
For 1990-2009 cars only

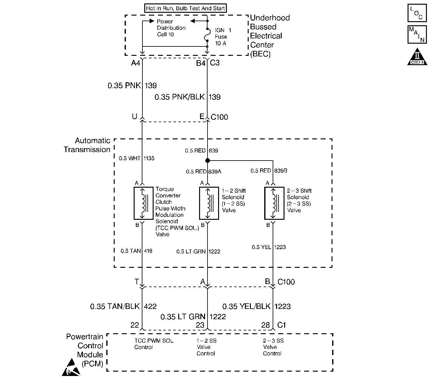
Object Number: 168191  Size: LF
Automatic Transmission Components
Automatic Transmission Controls Schematics
OBD II Symbol Description Notice
Handling ESD Sensitive Parts Notice

Circuit Description

The 2-3 shift solenoid valve controls the transmission fluid to the 2-3 shift valve. Ignition voltage is provided to the solenoid. The Powertrain Control Module (PCM) Output Driver Module (ODM) provides the ground. When the 2-3 shift solenoid valve is commanded ON, the PCM senses 0 volts. When the 2-3 shift solenoid valve is commanded OFF, the PCM senses ignition voltage.

If the PCM detects voltage limits that do not meet the calibration, then DTC P0758 sets. DTC P0758 is a Type A DTC.

Conditions for Setting the DTC

    • No ODM DTC P1650.
    • The engine run time is greater than 5 seconds.
    • The PCM detects an open, a short to ground, or a short to power on the 2-3 shift solenoid valve circuits within 5 seconds.

Action Taken When the DTC Sets

    • The PCM illuminates the Malfunction Indicator Lamp (MIL).
    • SERVICE ENGINE SOON, SERVICE TRANSMISSION displays on the Driver Information Center (DIC).
    • The PCM commands 2nd gear.
    • The PCM commands default line pressure.
    • The PCM inhibits TCC engagement.
    • The PCM disables steady state adapts.
    • The PCM disables garage shift adapts.
    • DTC P0758 is stored in the PCM history.

Conditions for Clearing the MIL/DTC

    • The PCM turns OFF the MIL after three consecutive trips without a failure reported.
    • A scan tool can clear the DTC from the PCM history. The PCM clears the DTC from the PCM history if the vehicle completes 40 warm-up cycles without a failure reported.
    • The PCM cancels the DTC default actions when the fault no longer exists and the ignition is OFF long enough in order to power down the PCM.

Diagnostic Aids

    • Inspect the wiring at the PCM, the transmission 20-way connector, the 2-3 Shift Solenoid Valve Connector and all other circuit connecting points for the following conditions:
       - A bent terminal
       - A backed out terminal
       - A damaged terminal
       - Poor terminal tension
       - A chafed wire
       - A broken wire inside the insulation
       - Moisture intrusion
    • When diagnosing for an intermittent short or open, massage the wiring harness while watching the test equipment for a change.
    • Refer to Shift Solenoid Valve State and Gear Ratio table.

Test Description

The numbers below refer to the step numbers on the diagnostic table.

  1. This step verifies that the 2-3 shift solenoid valve is operating and that an intermittent problem may have set the DTC.

  2. This step isolates circuit 1223 of the engine wiring harness for an open or a short to power.

  3. This step isolates circuit 1223 for a short to power.

  4. This step measures for a short to ground in circuit 1223.

DTC P0758 2-3 Shift Solenoid Circuit Electrical

Step

Action

Value(s)

Yes

No

1

Was the Powertrain On-Board Diagnostic (OBD) System Check performed?

--

Go to Step 2

Go to Powertrain On Board Diagnostic (OBD) System Check

2

  1. Install the Scan Tool .
  2. With the engine OFF, turn the ignition switch to the RUN position.
  3. Important: Before clearing the DTCs, use the scan tool in order to record the Freeze Frame and Failure Records for reference. Using the Clear Info function will erase the stored Freeze Frame and Failure Records from the PCM.

  4. Record the DTC Freeze Frame and Failure Records, then clear the DTCs.

Are DTCs P0753 or P1860 set?

--

Go to Step 3

Go to Step 6

3

  1. Remove the IGN 1 fuse.
  2. Inspect the fuse for an open.

Refer to General Electrical Diagnosis .

Did you find and correct the condition?

--

Go to Step 4

Go to Step 5

4

Repair the short to ground in circuit 139.

Refer to Wiring Repairs .

Did you find the condition?

--

Go to Step 21

--

5

Repair the open in circuit 139.

Refer to Wiring Repairs .

Did you find and correct the condition?

--

Go to Step 21

--

6

Using the scan tool, cycle the 2-3 shift solenoid ON and OFF three times.

Listen at the transmission side cover. Does the 2-3 shift solenoid valve click when commanded ON?

--

Go to Diagnostic Aids

Go to Step 7

7

  1. Turn the ignition OFF.
  2. Disconnect the transmission 20-way connector.
  3. Install the J 39775 Jumper Harness to the engine side of the 20-way connector.
  4. Using the J 35616-A Connector Test Adapter Kit, connect a test lamp from terminal E to terminal B.
  5. With the engine OFF, turn the ignition switch to the RUN position.

Is the test lamp ON?

--

Go to Step 8

Go to Step 9

8

Inspect circuit 1223 of the engine wiring harness for a short to ground.

Refer to General Electrical Diagnosis .

Did you find and correct the condition?

--

Go to Step 21

Go to Step 20

9

Cycle the 2-3 shift solenoid ON and OFF three times.

Does the test lamp cycle ON and OFF as commanded?

--

Go to Step 13

Go to Step 10

10

Is the test lamp always OFF?

--

Go to Step 12

Go to Step 11

11

Inspect circuit 1223 of the engine wiring harness for an open.

Refer to General Electrical Diagnosis .

Did you find and correct the condition?

--

Go to Step 21

Go to Step 20

12

  1. Inspect circuit 1223 of the engine wiring harness for a short to power.
  2. Repair the circuit if necessary.

Refer to Wiring Repairs .

Did you find and correct the condition?

--

Go to Step 21

Go to Step 20

13

  1. Turn the ignition OFF.
  2. Disconnect the J 39775 Jumper Harness from the engine side of the 20-way connector.
  3. Connect the J 39775 Jumper Harness to the transmission side of the 20-way connector.
  4. Using the J 35616-A Connector Test Adapter Kit, connect the J 39200 DMM from terminal E to terminal B and measure the resistance.

Is the resistance within the specified range?

20-40 ohms

Go to Step 20

Go to Step 14

14

Is the resistance greater than the specified value?

40 ohms

Go to Step 15

Go to Step 16

15

  1. Inspect circuit 741 of the automatic transmission wiring harness for an open.
  2. Inspect circuit 1223 for an open.
  3. Repair the circuits if necessary.

Refer to Wiring Repairs .

Did you find the condition?

--

Go to Step 18

Go to Step 19

16

Measure the resistance from terminal B to the transmission case.

Is the resistance less than the specified value?

100 ohms

Go to Step 17

Go to Step 19

17

  1. Inspect circuit 1223 of the automatic transmission wiring harness for a short to ground.
  2. Repair the circuit if necessary.

Refer to Wiring Repairs .

Did you find the condition?

--

Go to Step 18

Go to Step 19

18

Replace the automatic transmission wiring harness.

Refer to Unit Repair.

Is the replacement complete?

--

Go to Step 21

--

19

Replace the 2-3 shift solenoid valve.

Refer to Lower Valve Assembly Replacement .

Is the replacement complete?

--

Go to Step 21

--

20

Replace the PCM.

Refer to Powertrain Control Module Replacement .

Is the replacement complete?

--

Go to Step 21

--

21

In order to verify your repair, perform the following procedure:

  1. Select DTC.
  2. Select Clear Info.
  3. Operate the vehicle under the following conditions:
  4. 3.1. Start the engine.
    3.2. Drive the vehicle and achieve 4th gear.
  5. Select Specific DTC. Enter DTC P0758.

Has the test run and passed?

--

System OK

Begin the diagnosis again. Go to Step 1