GM Service Manual Online
For 1990-2009 cars only

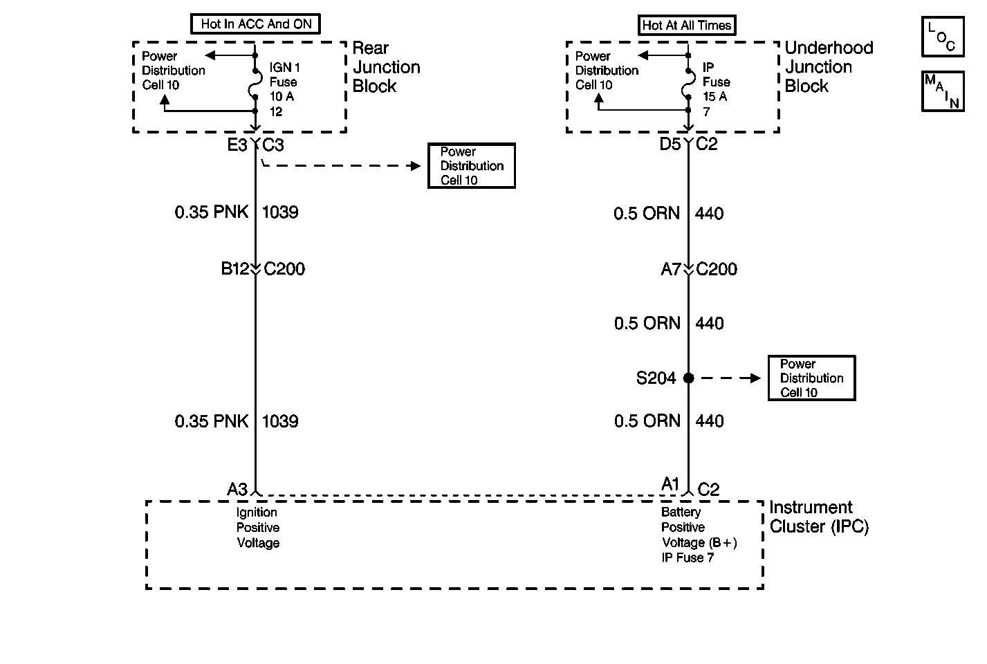
Object Number: 130568  Size: MF
Audible Warnings Components
Instrument Cluster: Analog Schematics
Power Distribution Schematics
Power Distribution Schematics
Power Distribution Schematics
Power Distribution Schematics

Circuit Description

Battery Positive Voltage (B+) is supplied to the Instrument Cluster (IPC) at connector C2, terminal A2, CKT 440 (ORN). The IPC monitors this voltage to determine if it is within a valid operating range.

Conditions for Setting the DTC

The Battery Positive Voltage (B+) level falls below 9.5 volts for approximately 1.2 seconds or more.

Actions Taken When the DTC Sets

    • Stores a DTC B1983 in the IPC memory.
    • The IPC does not respond to any inputs when the voltage is less than 9.5 volts.
    • No driver warning message will be displayed for this DTC.
    • Other IPC DTCs will not set while DTC B1983 is current.

Conditions for Clearing the DTC

    • The Battery Positive Voltage (B+) level rises above 9.5 volts for approximately 1.2 seconds.
    • Use the On-Boards clearing DTCs feature.
    • Use a scan tool.

Diagnostic Aids

The IPC will not check for low Battery Positive Voltage (B+) during and for two seconds following the engine START mode. This delay ensures that DTC B1983 will not erroneously set.

Test Description

The numbers below refer to the step numbers on the diagnostic table:

  1. Perform the Instrument Cluster (IPC) Diagnostic System Check before continuing with the diagnosis of this DTC.

  2. Checks that DTC was not set erroneously.

  3. Determines whether the malfunction is in the charging system or the Instrument Cluster (IPC).

  4. Clear all DTCs after the repair procedure is complete.

IPC DTC B1983 -- Source/Battery Voltage Low

Step

Action

Value(s)

Yes

No

1

Was the Instrument Cluster (IPC) Diagnostic System Check performed?

--

Go to Step 2

Go to Diagnostic System Check - Instrument Cluster

2

  1. Ignition switch ON.
  2. Connect a scan tool to the Data Link Connector (DLC).
  3. Select DATA from the Instrument Cluster (IPC) DATA LIST.

Is the Battery Positive Voltage (B+) greater than the specified value?

9.5 V

Go to Step 4

Go to Step 3

3

  1. Ignition switch OFF.
  2. Disconnect the Instrument Cluster (IPC) connector C2.
  3. Measure the voltage between the IPC connector C2 terminal A1, CKT 440 (ORN) and ground.

Is the measured voltage less than the specified value?

9.5 V

Go to Charging System Check in Engine Electrical

Go to Step 4

4

Replace the Instrument Cluster (IPC). Refer to Instrument Cluster Replacement .

Is the module replacement complete?

--

Go to Step 5

--

5

  1. Ignition switch OFF.
  2. Reconnect or install any connectors or components that were disconnected.
  3. Ignition switch ON.
  4. Clear any DTCs. Refer to Clearing DTCs .

Are all DTCs cleared?

--

Go to Diagnostic System Check - Instrument Cluster

--