GM Service Manual Online
For 1990-2009 cars only

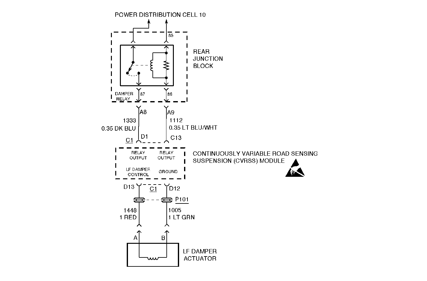
Circuit Description


Object Number: 305116  Size: MF

The LF damper actuator is driven by the CVRSS module via a method known as Pulse-Width Modulation (PWM). Battery voltage is modulated (switched on and off) at a high frequency (2.0 kHz), thus, controlling the amount of current delivered to the actuator. By controlling the amount of current to the actuator, the CVRSS module can then control the damping force in the damper. A higher level of damping force is achieved by providing correspondingly higher current levels, relating to higher percentages of PWM duty cycle.

The default damper state (with no battery voltage, and thus no current, provided to the attached actuator) is one that provides a minimum damping force.

Conditions for Setting the DTC

The DTC is set when the CVRSS module measures a feedback voltage between two preset thresholds during two consecutive OFF-state damper diagnostic test procedures.

The DTC is set when the CVRSS module performs a test procedure on each damper actuator approximately every 16 seconds. During this test procedure the damper actuator is briefly energized (ON-state test) and de-energized (OFF-state test). If, twice consecutively, the feedback voltage during the OFF-state test is inside the open circuit range, the corresponding DTC is set.

The DTC turns HISTORY when the CVRSS module no longer senses an open circuit condition on either of the two actuator lines.

Action Taken When the DTC Sets

    • The LF damper actuator will be disabled by commanding 0 percent PWM duty cycle. The LF corner of the vehicle will be soft.
    • The SERVICE RIDE CONTROL message will be displayed.

Conditions for Clearing the MIL/DTC

    • Use the scan tool.
    • Use the On-Board diagnostic CLEAR RSS CODES feature.

Test Description

Important: 

   • Do not backprobe the sensors, actuators, or any sealed connectors.
   • When all the diagnostics and repairs are complete, clear the DTCs and verify the operation.

The number(s) below refer to the step number(s) on the diagnostic table.

  1. This step checks for an open circuit condition in the actuator or the actuator pigtail.

  2. This step checks for an open circuit condition in CKT 1448.

  3. This step checks for an open circuit condition in CKT 1005.

Step

Action

Value(s)

Yes

No

1

Was the Road Sensing Suspension Diagnostic System Check performed?

--

Go to Step 2

Go to Road Sensing Suspension Diagnostic System Check

2

  1. Turn the ignition OFF.
  2. Disconnect the connector from the damper actuator.
  3. Measure the resistance between pin A and pin B of the LF damper actuator (actuator side) with a J 39200 DMM.

Is the resistance value displayed within the specified range?

9.5-15.5 ohms

Go to Step 3

Go to Step 7

3

  1. Disconnect CVRSS control module connector C1.
  2. Measure the resistance between connector C1, terminal D13, and damper connector terminal A (harness side) with a J 39200 DMM.

Is the resistance equal to or less than the specified value?

5 ohms

Go to Step 4

Go to Step 9

4

Measure the resistance between connector C1, terminal D12, and damper connector terminal B (harness side) with a J 39200 DMM.

Is the resistance equal to or less than the specified value?

5 ohms

Go to Step 6

Go to Step 5

5

Repair the open circuit condition in CKT 1005.

Is the repair complete?

--

Go to Road Sensing Suspension Diagnostic System Check

--

6

  1. Check CVRSS control module connector C1 and the LF Damper actuator connector for debris and corrosion.
  2. Check for intermittent poor electrical connections.
  3. Turn the ignition OFF.
  4. Install all of the connectors that were removed.
  5. Turn the ignition ON with the engine off.
  6. Clear the DTCs, and then wait 90 seconds. Refer to Clearing DTCs .
  7. Check the DTCs. Refer to Displaying Diagnostic Trouble Codes (DTC) .

Is the DTC C1711 or C1712 set?

--

Go to Step 8

Go to Road Sensing Suspension Diagnostic System Check

7

Replace the LF damper. Refer to Strut Assembly Replacement .

Is the replacement complete?

--

Go to Road Sensing Suspension Diagnostic System Check

--

8

  1. Turn the ignition OFF.
  2. Replace the CVRSS control module. Refer to Electronic Suspension Control Module Replacement .
  3. Install all of the connectors and components that were removed.
  4. Install the scan tool.
  5. Turn the ignition ON with the engine off.
  6. Important: The control module must be calibrated.

  7. Calibrate the CVRSS service controller using the scan tool. Refer to Electronic Suspension Control Module Calibration .

Is the CVRSS control module calibrated?

--

Go to Road Sensing Suspension Diagnostic System Check

--

9

Repair the open circuit condition in CKT 1448.

Is the repair complete?

--

Go to Road Sensing Suspension Diagnostic System Check

--