GM Service Manual Online
For 1990-2009 cars only

Circuit Description


Object Number: 305509  Size: LF

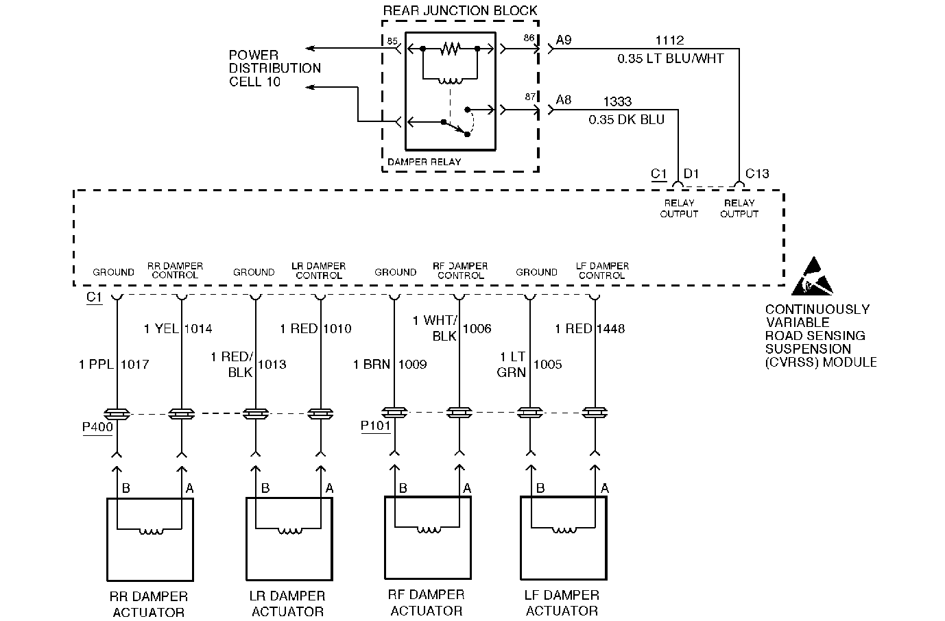
The high-side (battery) voltage for the CVRSS damper actuators is supplied to the CVRSS module through the CVRSS Damper Control Relay circuit. The Damper Control Relay circuit is controlled by the CVRSS module. The CVRSS module monitors the relay drive circuit and each damper actuator high-side and low-side drive circuits for fault conditions.

Conditions for Setting the DTC

The DTC is set when the CVRSS module measures a feedback voltage less than a preset threshold during a damper relay OFF state.

The DTC turns HISTORY when the CVRSS module no longer senses a low feedback voltage during a damper relay OFF state.

Action Taken When the DTC Sets

    • ALL the damper actuators may be disabled by commanding 0 % PWM duty cycle. The vehicle ride may be soft.
    • The vehicle speed may be limited.
    • The SERVICE RIDE CONTROL message may be displayed.

Conditions for Clearing the MIL/DTC

    • Use the scan tool.
    • Use the On-Board diagnostic CLEAR RSS CODES feature.

Test Description

Important: 

   • Do not backprobe the sensors, actuators, or any sealed connectors.
   • When all the diagnostics and repairs are complete, clear the DTCs and verify the operation.

The number(s) below refer to the step number(s) on the diagnostic table.

  1. This step checks for a short circuit to ground condition in circuit 1333.

  2. This step checks the resistance of the relay coil.

  3. This step checks for an open circuit condition in circuit 1112.

  4. This step checks for a short circuit to ground condition in circuit 1112.

Step

Action

Value(s)

Yes

No

1

Was the Road Sensing Suspension Diagnostic System Check performed?

--

Go to Step 2

Go to Road Sensing Suspension Diagnostic System Check

2

  1. Turn the ignition OFF.
  2. Disconnect CVRSS control module connector C1.
  3. Check for a short circuit (continuity) to ground condition in circuits 1006, 1010, 1014, 1333, and 1448.

Is a short circuit to ground condition present?

--

Go to Step 3

Go to Step 4

3

Repair the short circuit to ground condition in the affected circuit.

Is the repair complete?

--

Go to Road Sensing Suspension Diagnostic System Check

--

4

  1. Remove the Damper relay.
  2. Measure the resistance between pin 1 and pin 2 of the Damper relay (device side).

Is the resistance within the specified range?

50-125 ohms

Go to Step 5

Go to Step 9

5

  1. Disconnect CVRSS control module connector C1.
  2. Check for an open circuit condition or a poor connection in circuit 1112.

Is an open circuit or poor connection condition present?

--

Go to Step 8

Go to Step 6

6

Check for a short circuit (continuity) to ground in circuit 1112.

Is a short circuit to ground condition present?

--

Go to Step 11

Go to Step 7

7

  1. Check all connections on circuit 1112 for debris, corrosion, and/or intermittent open circuit conditions. Refer to Intermittents and Poor Connections .
  2. Check circuit 1112 for intermittent short circuit to ground conditions.
  3. Install all of the connectors and/or components that were removed.
  4. Clear the DTCs. Refer to Clearing DTCs .
  5. Check the DTCs. Refer to Displaying Diagnostic Trouble Codes (DTC) .

Is DTC C1787 set?

--

Go to Step 10

Go to Road Sensing Suspension Diagnostic System Check

8

Repair the open circuit condition in circuit 1112.

Is the repair complete?

--

Go to Road Sensing Suspension Diagnostic System Check

--

9

Replace the Damper relay.

Is the replacement complete?

--

Go to Road Sensing Suspension Diagnostic System Check

--

10

  1. Turn the ignition OFF.
  2. Replace the CVRSS control module. Refer to Electronic Suspension Control Module Replacement .
  3. Install all of the connectors and components that were removed.
  4. Install the scan tool.
  5. Turn the ignition ON with the engine off.
  6. Important: The controller must be calibrated.

  7. Calibrate the CVRSS service controller using the scan tool. Refer to Electronic Suspension Control Module Calibration .

Is the CVRSS control module calibrated?

--

Go to Road Sensing Suspension Diagnostic System Check

--

11

Repair the short circuit to ground condition in circuit 1112.

Is the repair complete?

--

Go to Road Sensing Suspension Diagnostic System Check

--