GM Service Manual Online
For 1990-2009 cars only

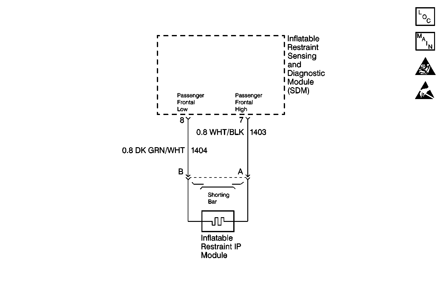
Object Number: 142281  Size: MF

Circuit Description

When you first turn the ignition switch to the ON position, the inflatable restraint sensing and diagnostic module (SDM) perform tests to diagnose critical malfunctions within itself. Next the SDM measures Ignition 1 and the deployment loop voltages to make sure they are within their respective normal voltage ranges. Then the SDM proceeds with the Resistance Measurement test. During one portion of the Resistance Measurement test, the SDM does the following:

    • Grounds the Passenger Frontal Low terminal 8 through an internal current sink.
    • Connects the Passenger Frontal High terminal 7 to an internal constant current source. This current produces proportional voltage drops in the deployment loop.
    • Measures the voltage difference between Passenger Frontal High and Passenger Frontal Low.
    • Calculates the resistance of the passenger deployment loop using the measured voltage.

Conditions for Setting the DTC

    • The driver and passenger frontal and pretensioner deployment loops are not open.
    • The driver and passenger frontal deployment loops are not shorted to voltage.
    • The driver and passenger frontal deployment loops are not shorted to ground.
    • The passenger frontal deployment loop resistance is more than 3.0 ohms. The passenger frontal deployment loop consists of the following components:
       - Inflatable restraint IP module.
       - Harness wiring of CKT 1403.
       - Harness wiring of CKT 1404.
       - Connector terminal contact.

The Resistance Measurement test checks for this malfunction. This test only occurs once each ignition cycle when Ignition 1 is within the normal operating voltage range.

Action Taken When the DTC Sets

    • The SDM sets a Diagnostic Trouble Code (DTC).
    • The SDM commands the Instrument Cluster (IPC) to turn ON the AIR BAG warning lamp.

Conditions for Clearing the MIL/DTC

    • Current DTC
        The resistance of the passenger frontal deployment loop is less than 3.0 ohms and the ignition switch is cycled.
    • History DTC
       - You issue a scan tool Clear DTCs command.
       - Once 250 malfunction free ignition cycles have occurred.

When you issue a scan tool Clear DTCs command and the malfunction is still present, the DTC will not reappear until the next ignition cycle.

Diagnostic Aids

A poor connection can cause an intermittent condition. Check the following for a poor connection:

    • The inflatable restraint IP module harness connector terminals A and B.
    • The SDM terminals 7 and 8.
    • The wire to terminal connections in CKT 1403.
    • The wire to terminal connections in CKT 1404.

When measurements are requested in this table, use J 39200 Digital Multimeter with the correct terminal adapter from J 35616 Connector Test Adapter Kit. When a check for proper connection is requested, refer to General Electrical Diagnosis Procedures in Wiring Systems. When a wire, connector or terminal repair is requested, use J-38125 Terminal Repair Kit and refer to Wiring Repair .

Test Description

The numbers below refer to the step numbers on the diagnostic table:

  1. This test checks for proper contact or corrosion of the inflatable restraint I/P module yellow 2-way connector.

  2. This test isolates the malfunction to one side of the inflatable restraint I/P module yellow 2-way connector.

  3. This test checks for proper contact or corrosion of the SDM connector.

  4. This test determines whether the malfunction is in CKT 1403.

  5. This test determines whether the malfunction is in CKT 1404.

Step

Action

Value(s)

Yes

No

1

Was the SIR Diagnostic System Check performed?

--

Go to Step 2

Go to SIR Diagnostic System Check

2

  1. Turn the ignition switch OFF.
  2. Disconnect the inflatable restraint steering wheel and IP module yellow 2-way connectors at the base of the steering column and above the passenger side sound insulator.
  3. Check for proper connection at terminals A and B on the IP harness side of the inflatable restraint IP module yellow 2-way connector.

Are the terminals damaged or corroded?

--

Go to Step 3

Go to Step 5

3

Replace the inflatable restraint IP module yellow 2-way IP harness connector. Refer to Wiring Repair .

Have the repairs been completed?

--

Go to Step 4

--

4

Check for proper connection at terminals A and B on the inflatable restraint IP module yellow 2-way connector.

Are the terminals damaged or corroded?

--

Go to Step 6

Go to Step 20

5

Check for proper connection at terminals A and B on the inflatable restraint IP module yellow 2-way connector.

Are the terminals damaged or corroded?

--

Go to Step 6

Go to Step 7

6

Replace the inflatable restraint IP module. Refer to Inflatable Restraint Instrument Panel Module Replacement .

Have the repairs been completed?

--

Go to Step 20

--

7

  1. Reconnect the inflatable restraint steering wheel and inflatable restraint IP module, yellow 2-way connectors.
  2. Turn the ignition switch to ON.

Is DTC B1115 current?

--

Go to Step 9

Go to Step 8

8

  1. Turn the ignition switch OFF.
  2. Replace the inflatable restraint IP module yellow 2-way IP harness connector. Refer to Wiring Repair .

Have the repairs been completed?

--

Go to Step 20

--

9

  1. Turn the ignition switch OFF.
  2. Disconnect the inflatable restraint steering wheel and IP module yellow 2-way connectors at the base of the steering column and above the passenger side sound insulator.
  3. Connect the J 38715-A Load Tool to the harness connectors.
  4. Turn the ignition switch to ON.

Is DTC B1115 current?

--

Go to Step 11

Go to Step 10

10

  1. Turn the ignition switch OFF.
  2. Replace the inflatable restraint IP module. Refer to Inflatable Restraint Instrument Panel Module Replacement .

Have the repairs been completed?

--

Go to Step 20

--

11

  1. Turn the ignition switch OFF.
  2. Disconnect the inflatable restraint sensing and diagnostic module (SDM) connector.
  3. Check for proper connection at terminals 8 and 7 on the SDM harness connector.

Is the harness connector damaged or corroded?

--

Go to Step 12

Go to Step 14

12

Replace the inflatable restraint sensing and diagnostic module (SDM) harness connector. Refer to Inflatable Restraint Sensing and Diagnostic Module Replacement .

Have the repairs been completed?

--

Go to Step 13

--

13

Check for proper connection at terminals 8 and 7 on the SDM.

Are the terminals damaged or corroded?

--

Go to Step 15

Go to Step 20

14

Check for proper connection at terminals 8 and 7 on the SDM.

Are the terminals damaged or corroded?

--

Go to Step 15

Go to Step 16

15

Replace the inflatable restraint sensing and diagnostic module (SDM). Refer to Inflatable Restraint Sensing and Diagnostic Module Replacement .

Have the repairs been completed?

--

Go to Step 20

--

16

Using J 39200 DMM, measure the resistance from the SDM harness connector terminal 7 to the inflatable restraint IP module yellow 2-way harness connector terminal A.

Is the resistance reading within the specified values?

0-0.5 ohms

Go to Step 18

Go to Step 17

17

Repair the high resistance condition in CKT 1403. Refer to Wiring Repair .

Have the repairs been completed?

--

Go to Step 20

--

18

Using J 39200 DMM, measure the resistance from the SDM harness connector terminal 8 to the inflatable restraint IP module yellow 2-way harness connector terminal B.

Is the resistance reading within the specified values?

0-0.5 ohms

Go to Sensing and Diagnostic Module Integrity Check

Go to Step 19

19

Repair the high resistance condition in CKT 1404. Refer to Wiring Repair .

Have the repairs been completed?

--

Go to Step 20

--

20

Reconnect all the SIR components, make sure all the components are properly mounted.

Have all the SIR components been reconnected and properly mounted?

--

Go to Step 21

--

21

Clear all the SIR DTCs. Refer to Diagnostic Trouble Code (DTC) Clearing in Wiring Systems.

Have all the DTCs been cleared?

--

Go to SIR Diagnostic System Check

--