GM Service Manual Online
For 1990-2009 cars only

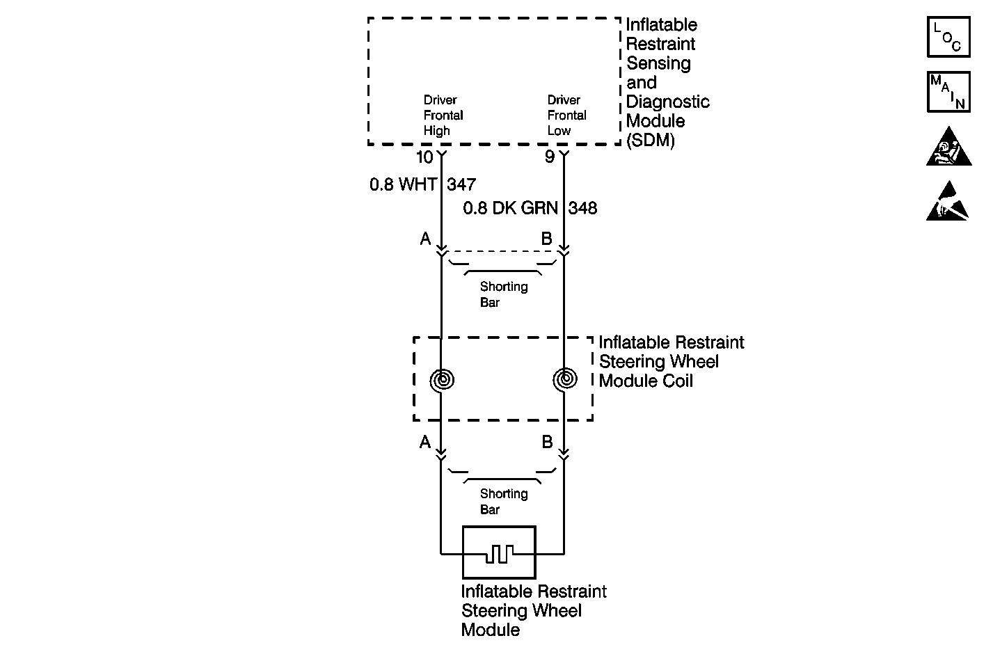
Object Number: 142283  Size: MF

Circuit Description

When you first turn the ignition switch to the ON position, the inflatable restraint sensing and diagnostic module (SDM) performs tests to diagnose critical malfunctions within itself. Next the SDM measures Ignition 1 and the deployment loop voltages to make sure they are within their respective normal voltage ranges. Then the SDM proceeds with the Resistance Measurement test. During one portion of the Resistance Measurement test, the SDM does the following:

    • Grounds the Driver Frontal Low terminal 9 through an internal current sink.
    • Connects the Driver Frontal High terminal 10 to an internal constant current source. This current produces proportional voltage drops in the deployment loop.
    • Measures the voltage difference between Driver Frontal High and Driver Frontal Low.
    • Calculates the resistance of the driver frontal deployment loop using the measured voltage.

Conditions for Setting the DTC

    • The driver and passenger frontal and pretensioner deployment loops are not open.
    • The driver and passenger frontal deployment loops are not shorted to voltage.
    • The driver and passenger frontal deployment loops are not shorted to ground.
    • The driver frontal deployment loop resistance is more than 3.8 ohms. The driver frontal deployment loop consists of the following components:
       - Inflatable restraint steering wheel module.
       - Inflatable restraint steering wheel module coil.
       - Harness wiring of CKT 347.
       - Harness wiring of CKT 348.
       - Connector terminal contact.

The Resistance Measurement test checks for this malfunction. This test only occurs once each ignition cycle when IGNITION 1 is within the normal operating voltage range.

Action Taken When the DTC Sets

    • The SDM sets a Diagnostic Trouble Code (DTC).
    • The SDM commands the instrument cluster (IPC) to turn ON the AIR BAG warning lamp.

Conditions for Clearing the MIL/DTC

The DTC will clear when one of the following conditions is met:

    • Current DTC
        The resistance of the driver frontal deployment loop is less than 3.8 ohms and the ignition switch is cycled.
    • History DTC
       - You issue a scan tool Clear DTCs command.
       - Once 250 malfunction free ignition cycles have occurred.

When you issue a scan tool Clear DTCs command and the malfunction is still present, the DTC will not reappear until the next ignition cycle.

Diagnostic Aids

A poor connection can cause an intermittent condition. Check the following for a poor connection:

    • The inflatable restraint steering wheel module steering column connector terminals A and B.
    • The upper inflatable restraint steering wheel module coil connector terminals A and B.
    • The SDM terminals 10 and 9.
    • The wire to terminal connections in CKT 347.
    • The wire to terminal connections in CKT 348.

When measurements are requested in this table, use J 39200 Digital Multimeter with the correct terminal adapter from J 35616 Connector Test Adapter Kit. When a check for proper connection is requested, refer to General Electrical Diagnosis Procedures in Wiring Systems. When a wire, connector or terminal repair is requested, use J-38125 Terminal Repair Kit and refer to Wiring Repair .

Test Description

The numbers below refer to the step numbers on the diagnostic table:

  1. This test checks for proper contact or corrosion of the yellow 2-way connector.

  2. This test isolates the malfunction to one side of the inflatable restraint steering wheel module yellow 2-way connector.

  3. This test determines whether the malfunction is due to the inflatable restraint steering wheel module or the module coil.

  4. This test checks for proper contact or corrosion of the SDM connector.

  5. This test determines whether the malfunction is in CKT 347.

  6. This test determines whether the malfunction is in CKT 348.

Step

Action

Value(s)

Yes

No

1

Was the SIR Diagnostic System Check performed?

--

Go to Step 2

Go to SIR Diagnostic System Check

2

  1. Turn the ignition switch OFF.
  2. Disconnect the inflatable restraint steering wheel and IP module yellow 2-way connectors at the base of the steering column and above the passenger side sound insulator.
  3. Check for proper connection at terminals A and B on the harness side of the inflatable restraint steering wheel module yellow 2-way connector at the base of the steering column.

Are the terminals damaged or corroded?

--

Go to Step 3

Go to Step 5

3

Replace the yellow 2-way harness connector at the base of the steering column. Refer to Wiring Repair .

Have the repairs been completed?

--

Go to Step 4

--

4

Check for proper connection at terminals A and B of the inflatable restraint steering wheel module coil side of the connector.

Are the terminals damaged or corroded?

--

Go to Step 6

Go to Step 22

5

Check for proper connection at terminals A and B of the inflatable restraint steering wheel module coil side of the connector.

Are the terminals damaged or corroded?

--

Go to Step 6

Go to Step 7

6

Replace the inflatable restraint steering wheel module coil. Refer to Inflatable Restraint Steering Wheel Module Coil Replacement .

Have the repairs been completed?

--

Go to Step 22

--

7

  1. Connect the yellow 2-way connectors at the base of the steering column, and above the passenger side sound insulator.
  2. Turn the ignition switch to ON.
  3. Using the scan tool, request the SIR Diagnostic Trouble Code (DTC) display.

Is DTC B1121 current?

--

Go to Step 9

Go to Step 8

8

  1. Turn the ignition switch OFF.
  2. Replace the yellow 2-way harness connector at the base of the steering column. Refer to Wiring Repair .

Have the repairs been completed?

--

Go to Step 22

--

9

  1. Turn the ignition switch OFF.
  2. Disconnect the inflatable restraint steering wheel and IP module yellow 2-way connectors at the base of the steering column, and above the passenger side sound insulator.
  3. Connect the J 38715-A Load Tool to the harness connectors.
  4. Turn the ignition switch to ON.
  5. Using the scan tool, request the SIR Diagnostic Trouble Code (DTC) display.

Is DTC B1121 current?

--

Go to Step 13

Go to Step 10

10

  1. Turn the ignition switch OFF.
  2. Remove the inflatable restraint steering wheel module. Refer to Supplemental Restraint Steering Wheel Module Replacement .
  3. Disconnect the J 38715-A Load Tool from the driver 2-way connector.
  4. Connect the 2-way connector.
  5. Connect the J 38715-A Load Tool to the upper inflatable restraint steering wheel module coil connector on the steering column.
  6. Turn the ignition switch to ON.
  7. Using the scan tool, request the SIR Diagnostic Trouble Code (DTC) display.

Is DTC B1121 current?

--

Go to Step 12

Go to Step 11

11

  1. Turn the ignition switch OFF.
  2. Replace the inflatable restraint steering wheel module. Refer to Supplemental Restraint Steering Wheel Module Replacement .

Have the repairs been completed?

--

Go to Step 22

--

12

  1. Turn the ignition switch OFF.
  2. Replace the inflatable restraint steering wheel module coil. Refer to Inflatable Restraint Steering Wheel Module Coil Replacement .

Have the repairs been completed?

--

Go to Step 22

--

13

  1. Turn the ignition switch OFF.
  2. Disconnect the inflatable restraint sensing and diagnostic module (SDM).
  3. Disconnect the J 38715-A Load Tool.
  4. Check for proper connection at terminal 9 and terminal 10 on the harness side of the SDM connector.

Is the connector damaged or corroded?

--

Go to Step 14

Go to Step 16

14

Replace the SDM harness connector. Refer to Wiring Repair .

Have the repairs been completed?

--

Go to Step 15

--

15

Check for proper connection at terminal 9 and terminal 10 on the SDM.

Are the terminals damaged or corroded?

--

Go to Step 17

Go to Step 22

16

Check for proper connection at terminal 9 and terminal 10 on the SDM.

Are the terminals damaged or corroded?

--

Go to Step 17

Go to Step 18

17

Replace the inflatable restraint sensing and diagnostic module (SDM). Refer to Inflatable Restraint Sensing and Diagnostic Module Replacement .

Have the repairs been completed?

--

Go to Step 22

--

18

Using J 39200 DMM, measure the resistance from the SDM harness connector terminal 10 to the inflatable restraint steering wheel module yellow 2-way harness connector terminal A.

Is the resistance reading within the specified values?

0.0-0.5 ohms

Go to Step 20

Go to Step 19

19

Repair the high resistance condition in CKT 347. Refer to Wiring Repair .

Have the repairs been completed?

--

Go to Step 22

--

20

Using J 39200 DMM, measure the resistance from the SDM harness connector terminal 9 to the inflatable restraint steering wheel module yellow 2-way harness connector terminal B.

Is the resistance reading within the specified values?

0.0-0.5 ohms

Go to Sensing and Diagnostic Module Integrity Check

Go to Step 21

21

Repair the high resistance condition in CKT 348. Refer to Wiring Repair .

Have the repairs been completed?

--

Go to Step 22

--

22

Reconnect all the SIR system components, make sure all the components are properly mounted.

Have all the SIR components been reconnected and properly mounted?

--

Go to Step 23

--

23

Clear all the SIR DTCs. Refer to Wiring Repairs in Wiring Systems.

Have all the SIR DTCs been cleared?

--

Go to SIR Diagnostic System Check

--