GM Service Manual Online
For 1990-2009 cars only

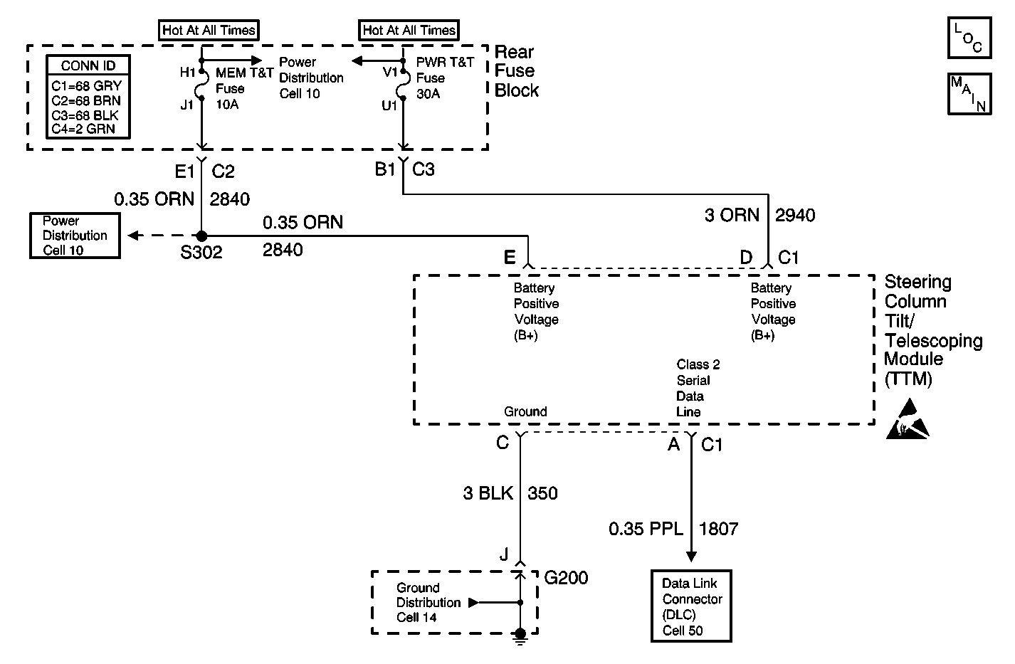
Object Number: 309249  Size: MF
Tilt Wheel/Column Components
Cell 49 - Power, Ground, Switch, Sensors and Motors
Tilt Wheel/Column Schematic References
Tilt Wheel/Column Schematic References
Tilt Wheel/Column Schematic References

Circuit Description

Battery Positive Voltage (B+) is supplied on CKT 2840 (ORN) to the steering column tilt/telescoping module (TTM) at the TTM connector C1, terminal E. The TTM monitors this voltage to determine if it is within a valid operating range.

Conditions for Setting the DTC

The battery positive voltage (B+) level rises above 15.5 volts for more than approximately 1.2 seconds.

Action Taken When the DTC Sets

    • Stores a DTC B1982 in the TTM memory.
    • The TTM does not respond to manual or memory inputs when the voltage is greater than 16 volts.
    • The TTM switch failure and position sensor failure DTCs do not set while DTC B1982 is current.
    • No driver warning message are displayed for this DTC.

Conditions for Clearing the DTC

    • The battery positive voltage (B+) level falls below 15 volts for approximately 1.2 seconds.
    • Use the On-Boards clearing DTCs feature.
    • Use a scan tool.

Diagnostic Aids

This DTC may set when the vehicle is placed on a battery charger, on fast charge, for a long period of time.

Test Description

The numbers below refer to the step numbers on the diagnostic table:

  1. Perform the Tilt/Telescoping Steering Column Diagnostic System Check before continuing with the diagnosis of this DTC.

  2. Determines whether the malfunction is in the charging system or the steering column tilt/telescoping module (TTM).

  3. Clear all DTCs after the repair procedure is complete.

Step

Action

Value(s)

Yes

No

1

Was the Tilt/Telescoping Steering Column Diagnostic System Check performed?

--

Go to Step 2

Go to Tilt/Telescoping Steering Column Diagnostic System Check

2

  1. Turn the ignition switch OFF.
  2. Disconnect the steering column tilt/telescoping module (TTM) connector C1.
  3. Measure the voltage between the TTM connector C1 terminal E and ground.

Is the measured voltage greater than the specified value?

15.5 V

Refer to Charging System Check in Engine Electrical

Go to Step 3

3

  1. Check the steering column tilt/telescoping module connector C1 for poor terminal contact.
  2. If OK, replace the steering column tilt/telescoping module. Refer to Tilt/Telescoping Module Replacement .

Is the replacement complete?

--

Go to Step 4

--

4

  1. Turn OFF the ignition switch.
  2. Reconnect or install any connectors or components that were disconnected or removed.
  3. Turn ON the ignition switch.
  4. Clear any DTCs.
  5. Repeat the Diagnostic System Check. Refer to Tilt/Telescoping Steering Column Diagnostic System Check .

Is the Diagnostic System Check complete?

--

System OK

--