GM Service Manual Online
For 1990-2009 cars only

Object Number: 142268  Size: MF
HVAC Components
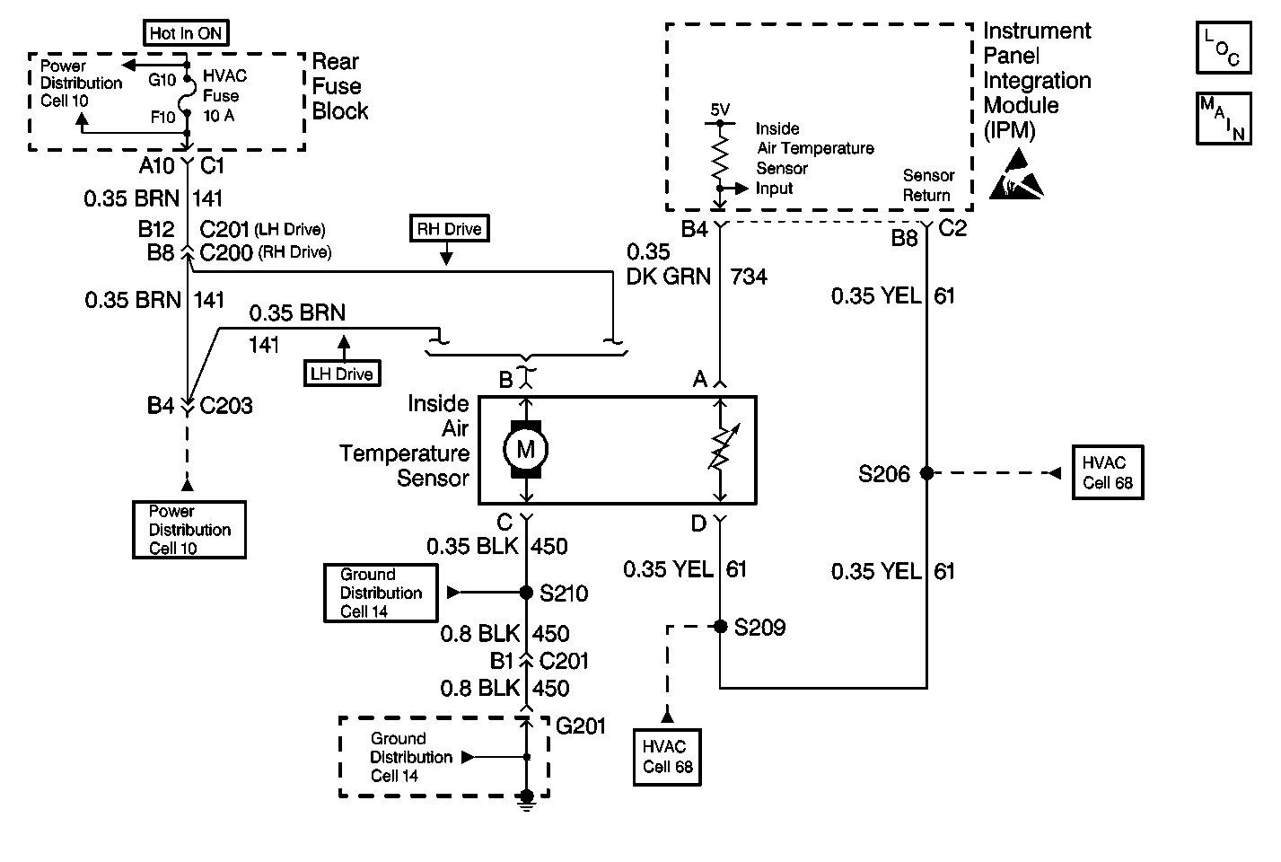
HVAC Air Delivery/Temperature Control Schematics Temperature Sensors
HVAC Schematic Icons
HVAC Air Delivery/Temperature Control Schematics Temperature Sensors
HVAC Schematic References
HVAC Schematic References
HVAC Schematic References
HVAC Schematic References

Circuit Description

The Inside Air Temperature Sensor is a thermistor that controls signal voltage to the Instrument Panel Integration Module (IPM). The inside air temperature sensor contains an electric fan which pulls the air from the passenger compartment to the sensor. The IPM applies voltage on circuit 734. When the sensor is cold, the resistance is high and the IPM will sense a high signal voltage at terminal B4, connector C2. When the sensor warms, resistance is reduced and the signal voltage is pulled low through circuit 61. Signal voltage will vary from 5 V (open circuit) to 0 V (short circuit).

Conditions for Setting the DTC

    • The ignition is ON.
    • DTC B1310 is not set.
    • Circuit short or open.

Action Taken When the DTC Sets

    • A default value of 24°C (75°F) will be used by the IPM.
    • The default value allows the system to operate.

Conditions for Clearing the MIL/DTC

    • Using a Scan tool.
    • A current DTC will clear when the diagnostic runs and does not fail.
    • IPM battery voltage is interrupted.

Test Description

The numbers below refer to the step numbers on the diagnostic table.

  1. Perform the Body Control Module (BCM) diagnostic system check before continuing with the diagnosis of this DTC.

  2. This step ensures that the DTC was not set in error.

  3. This step determines whether the cause of the malfunction is the sensor or an open or a short in a circuit.

  4. This step determines if the IPM is malfunctioning.

  5. Clear all the DTC's after the repair procedures are complete.

DTC B1317 In Car Air Temperature Sensor

Step

Action

Value(s)

Yes

No

1

Did you perform the IPM/DIM/RIM diagnostic system check?

--

Go to Step 2

Go to Diagnostic System Check - Body Control System

2

  1. Unplug the sensor.
  2. Turn the ignition ON.
  3. Measure the voltage between sensor harness connector terminals A and C.

Is the voltage within the specified range?

4.5-5.5 V

Go to Step 3

Go to Step 6

3

  1. Turn the ignition OFF.
  2. Reconnect the sensor.
  3. Turn the ignition ON.
  4. Clear the DTC using a scan tool.
  5. Start the engine.

Did the DTC reset?

--

Go to Step 4

Go to Intermittents and Poor Connections

4

  1. Connect the scan tool.
  2. Display in-car air temperature data.
  3. Start the engine.
  4. Record the in-car temperature interior reading.Unplug the in-car air temperature sensor and read the temperature on a scan tool.

Is the in-car air temperature sensor reading the specified value?

24° Celcius or 75° Farenhiet

Go to Step 7

Go to Step 5

5

  1. Inspect CKT 734 (DK GRN) for an open or a short condition.
  2. If OK, replace the IPM. Refer to Body Control Module Replacement in HVAC Systems with A/C-Automatic.

Is the repair complete?

--

Go to Step 12

--

6

Measure the voltage between sensor terminal A and ground.

Is the voltage within the specified range?

4.5-5.5 V

Go to Step 7

Go to Step 9

7

Inspect the HVAC sensor DTCs.

Are all of the HVAC sensor DTCs present?

--

Go to Step 8

Go to Step 11

8

  1. Inspect CKT 61 (YEL) for an open or a short condition.
  2. Is a short or open condition present?

--

Go to Step 11

Go to Step 12

9

Measure the voltage between IPM terminal B4 and ground.

Is the voltage within the specified range?

4.5-5.5 V

Go to Step 10

Go to Step 5

10

Repair the open in CKT 734 (DK GRN).

Is the repair complete?

--

Go to Step 13

--

11

Repair the open in CKT 61 (YEL).

Is the repair complete?

--

Go to Step 13

--

12

Replace the in-car air temperature sensor. Sunload and Twilight Sentinel Sensor Replacement

Is the replacement complete?

--

Go to Step 13

--

13

  1. Using a scan tool clear all of the DTCs.
  2. Confirm the proper operation of the A/C system.

Is the A/C system operating normally?

--

Go to Diagnostic System Check - Body Control System

--