GM Service Manual Online
For 1990-2009 cars only

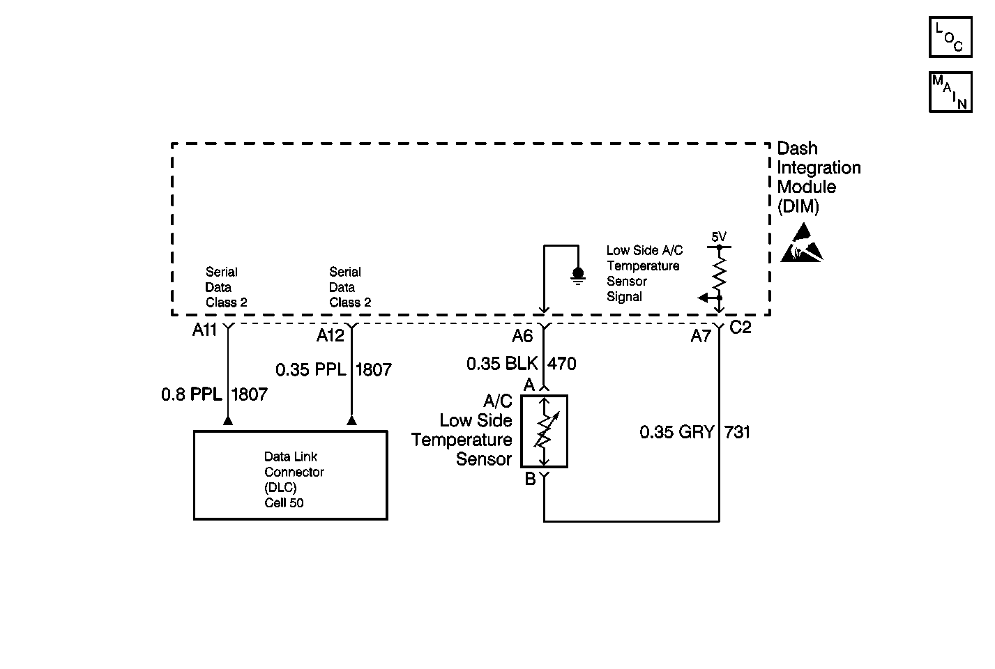
Object Number: 142255  Size: MF
HVAC Components
HVAC Compressor Control Schematics
HVAC Schematic Icons
HVAC Schematic References

Circuit Description

The A/C low side temperature sensor is a thermistor that controls signal voltage to the Dash Integration Module (DIM). The DIM applies voltage on circuit 731. When the sensor is cold, the resistance is high and the DIM will sense a high signal voltage at terminal A7, connector C2. When the sensor warms, resistance is reduced and the signal voltage is pulled low through circuit 470. Signal voltage will vary from 5 V (open circuit) to 0 V (short circuit).

Conditions for Setting the DTC

    • The ignition is ON.
    • Circuit short or Open.

Action Taken When the DTC Sets

    • The A/C compressor clutch will not engage.
    • The driver information center will display service A/C system.
    • A default temperature reading of 6°C (43°F) will be implemented.

Conditions for Clearing the MIL/DTC

    • Using a Scan tool.
    • A current DTC will clear when the diagnostic runs and does not fail.
    • The battery voltage for the DIM is interrupted.

Test Description

The numbers below refer to the step numbers on the diagnostic table.

  1. This step determines whether the Body Control Module Diagnostic System Check has been performed.

  2. This step determines if the sensor or the DIM is malfunctioning.

  3. This step clears all of the DTCs after the repair procedures are complete.

Step

Action

Value(s)

Yes

No

1

Was the BCM diagnostic system check performed?

--

Go to Step 2

Go to Diagnostic System Check - Body Control System

2

  1. Disconnect the A/C low side temperature sensor.
  2. Turn the ignition ON.
  3. Measure the voltage between terminal A and terminal B of the A/C low side temperature sensor connector.

Is the voltage within the specified range?

4.5-5.5 V

Go to Step 4

Go to Step 3

3

Measure the voltage between terminal A6 and terminal A7, connector C2 of the Dash Integration Module (DIM).

Is the voltage within the specified range?

4.5-5.5 V

Go to Step 6

Go to Step 5

4

Replace the sensor. Refer to Temperature Sensor Replacement - Low Side in HVAC Systems wtih A/C - Automatic.

Is the repair complete?

--

Go to Step 8

--

5

Replace the DIM. Refer to Body Control Module Replacement Dash Integration Module DIM.

Is the repair complete?

--

Go to Step 8

--

6

Verify open or short in CKT  731 (GRY).

Is the wire repair complete?

--

Go to Step 8

Go to Step 7

7

Inspect for an open or short in CKT 470 (BLK).

Was an open or short condition repaired?

--

Go to Step 8

--

8

  1. Using the scan tool clear all the DTCs.
  2. Confirm the operation of the A/C system.

Is the A/C system operating normally?

--

Go to Diagnostic System Check - Body Control System

--