GM Service Manual Online
For 1990-2009 cars only

Object Number: 142272  Size: MF
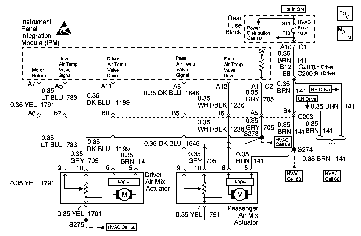
HVAC Air Delivery/Temperature Control Schematics Electric Actuators
HVAC Schematic References
HVAC Air Delivery/Temperature Control Schematics Electric Actuators
HVAC Air Delivery/Temperature Control Schematics Electric Actuators
HVAC Schematic References
HVAC Schematic References

Circuit Description

The rear junction block supplies ignition voltage through circuit 141 (BRN). The IPM commands the actuator to move by suppling voltage on the command line circuit 1199 (DK BLU). The command line voltage and motor actions are as follows:

    • 0 volts moves toward full hot.
    • 2.5 volts stops the motor.
    • 5 volts moves toward full cold.

The IPM determines the current position by monitoring the voltage on the feedback circuit 733 (LT BLU). A feedback potentiometer supplies a regulated 5 volt signal by the IPM on circuit 705 (GRY), and a ground from the IPM circuit 1791 (YEL). The pot is gear driven inside the actuator. The feedback voltage is a function of the motor position with a high voltage of 4-5 volts indicating full cold door position. A low voltage of less then 1 volt indicates the full hot position. Operation of the air mix door actuator can be evaluated through scan tool data.

Conditions for Setting the DTC

    • Ignition is ON.
    • Feedback circuit is open or shorted.

Action Taken When the DTC Sets

    • A default value of 128 counts will be used by the IPM.
    • This default value results in only two positions of the actuator full hot and full cold being used by the system.

Conditions for Clearing the MIL/DTC

    • Using a scan tool.
    • A current DTC will clear when the diagnostic runs and does not fail.
    • IPM battery voltage is interrupted.

Test Description

The numbers below refer to the step numbers on the diagnostic table.

  1. This step determines whether the Body Control Module Diagnostic Symptom Check was performed.

  2. This test allows calibration of the actuator by the scan tool.

  3. This step determines if the actuator is operational.

Step

Action

Value(s)

Yes

No

1

Was the IPM/DIM/RIM diagnostic system check performed?

--

Go to Step 2

Go to Diagnostic System Check - Body Control System

2

  1. Install the scan tool.
  2. Start the engine and bring to normal operating temperature. KEY ON.
  3. Using the scan tool, establish communications with IPM.
  4. Recalibrate all actuators.

Is the difference between minimum and maximum counts within the specified range?

150 - 220 counts

Go to Step 3

Go to Step 4

3

With a Tech 2 scan tool manually command the module (Left) thru its full range - Full Cold to Full Hot. (Engine at Normal Operating Temperature).

Are output counts and temperature within normal values?

--

Go to Step 4

Go to Step 5

4

With a Tech 2 scan tool manually command the module (Right) thru its full range - Full Cold to Full Hot. (Engine at Normal Operating Temperature).

Is the voltage measured at the specified value?

5 V

Go to Step 6

Go to Step 9

5

  1. Disconnect the electrical connector from the actuator.
  2. Measur voltage at terminal  10, CKT  705 (GRY) to GND.

Is the voltage measured at the specified value?

5 V

Go to Step 5

Go to Step 9

6

Measure voltage from CKT  141 (BRN) to GND.

Is the voltage measured within the specified range?

10 -15 V

Go to Step 6

Go to Step 9

7

Measure voltage between Terminal  5, CKT  141 (BRN) and Terminal  7, CKT  1791 (BLK).

Is the voltage measured within the specified range?

10 - 15  V

Go to Step 7

Go to Step 9

8

  1. Measure voltage at terminal 6, CKT 1199 (DK BLU).
  2. Change temperature between 15 ° celcius - 32° celcius. (Maximum Cold to Hot).

Is the voltage measured at the specified value?

0 - 5 V

Go to Step 9

Go to Step 10

9

Measure voltage at terminal 9, CKT 733 (LT BLU) to GND.

Is the voltage measured at the specified value?

5 V

Go to Step 18

Go to Step 12

10

Inspect the circuits for an open, or short conditions.

Is an open or short condition present?

--

Go to Step 10

Go to Step 13

11

Repair the open or short condition.

Is the repair complete?

--

Go to Step 20

--

12

  1. Short terminal 9 on CKT 733 (LT BLU) to GND.
  2. View the actuator data on the scan tool.

Is the actual DATA displayed on the Scan Tool at the specified value?

0  V or 0  counts

Go to Step 13

Go to Step 19

13

  1. Connect the electrical connector to the actuator.
  2. View the actuator data on the scan tool.

Is the actuator actual data displayed on the scan tool within the commanded value?

20 - 250  counts

Go to Step 19

Go to Step 14

14

Using the scan tool, move the actuator to the hot position and the cold position.

Does the actuator move in both directions?

--

Go to Step 15

Go to Step 16

15

Did the actuator actual position feedback change?

--

Go to Step 20

Go to Step 18

16

Short terminal  10, CKT 705 (GRY), to terminal  6, CKT 199 (DK BLU).

Did the actuator move?

--

Go to Step 17

Go to Step 18

17

Did the actuator actual position feedback change?

--

Go to Step 20

Go to Step 19

18

Replace the actuator. Refer to Air Mix Actuator Replacement - Driver in HVAC Systems with A/C-Automatic.

Is the repair complete?

--

Go to Step 20

--

19

Replace the IPM. Refer to Body Control Module Replacement in HVAC Systems with A/C-Automatic.

Is the repair complete?

--

Go to Step 20

--

20

Confirm proper operation of the A/C system.

Does the system operate normally?

--

Go to Diagnostic System Check - Body Control System

--