GM Service Manual Online
For 1990-2009 cars only

Object Number: 259744  Size: LF
Entertainment Components
Cell 152
Handling ESD Sensitive Parts Notice
SIR Caution

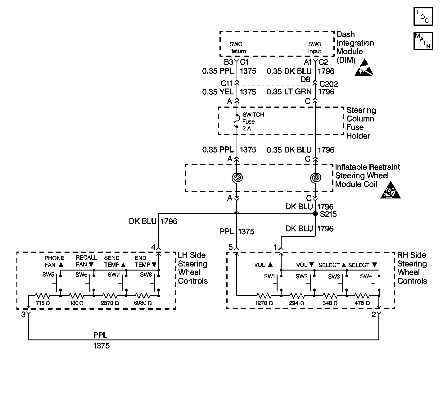
Circuit Description

Eight steering wheel control switches are used to control four audio and four HVAC functions. When the vehicle is equipped with the cellular telephone option, four telephone switches take the place of the HVAC steering wheel controls. The steering wheel controls are configured as a resistive ladder network connected to the dash integration module (DIM) across connector C1 terminal B3 and connector C2 terminal A1. When the vehicle is in ON, ACCY or RAP, battery voltage is provided from the DIM on CKT 1796 (DK BLU) to the steering wheel controls. Pressing a switch (or switches) causes a voltage to appear on return CKT 1375 (PPL) which has a value unique to the switch(es) pressed.

Conditions for Setting the DTC

    • DTC B2512 only sets if B1328 or B1327 is not current in DIM memory.
    • DTC B2512 sets if the DIM determines that an illegal voltage value appears on the steering wheel controls CKT 1796 (DK BLU) input to the DIM. (The legal voltage values, which are stored in the DIM for comparison to the actual values, consist of all possible voltage values input to the DIM through the switch resistance ladder network for all possible switch combinations pressed. The DIM also takes into account fluctuations in the voltage level of the feed CKT 1375 (PPL) voltage to the steering wheel control switches when it determines the switch return voltage value.)

Action Taken When the DTC Sets

    • DTC B2512 is stored in the DIM memory.
    • The module disables the steering wheel control functions as long as this DTC is current.
    • A history DTC clears after 50 consecutive ignition cycles if the condition for the malfunction is no longer present.
    • This DTC does not cause a driver warning message to appear.

Conditions for Clearing the DTC

    • A current DTC clears (status changes from current to history) if the conditions which caused the DTC to set are no longer present.
    • Use the On-Board clearing DTCs feature. Refer to Diagnostic Trouble Code (DTC) Clearing in HVAC Systems with A/C - Automatic.
    • Use a scan tool.

Diagnostic Aids

Refer to Steering Wheel Controls in Entertainment for additional information about this system.

Test Description

The numbers below refer to the step numbers on the diagnostic table:

  1. Perform the Body Control Module Diagnostic System Check before continuing with the diagnosis of this DTC.

  2. Clear all DTCs and cycle ignition to check that the DTC did not erroneously set.

  3. Clear all DTCs after the repair procedure is complete.

DTC B2512 -- Steering Wheel Controls Illegal A/D Value

Step

Action

Value(s)

Yes

No

1

Was the Body Control Module Diagnostic System Check performed?

--

Go to Step 2

Go to Diagnostic System Check - Body Control System

2

  1. Turn the ignition switch to ON.
  2. Clear any DTCs. Refer to Clearing DTCs.
  3. Turn the ignition switch to OFF.
  4. Turn the ignition switch to ON.

Is the DTC still present?

--

Go to Step 3

System OK

3

  1. Turn the ignition switch to OFF.
  2. Connect a scan tool to the data link connector (DLC).
  3. Turn ignition to ON.
  4. On the scan tool select the dash integration module (DIM), then select input data.
  5. On the scan tool, monitor the steering wheel controls A/D input.

Does the scan tool display 0 counts?

--

Go to Step 6

Go to Step 4

4

On the scan tool, monitor the steering wheel controls A/D input.

Does the scan tool display between 15 and 60 counts?

--

Go to Step 6

Go to Step 5

5

On the scan tool, monitor the steering wheel controls A/D input.

Does the scan tool display 15 counts or less, or more than 60 counts?

--

Go to Step 7

Go to Steering Wheel Control System Check in Entertainment

6

Replace RH side steering wheel controls. Refer to Steering Wheel Control Switch Assembly Replacement in Steering Wheel and Column - Tilt.

Is the replacement complete?

--

Go to Step 8

--

7

Replace the Dash Integration Module (DIM). Refer to Body Control Module Replacement .

Is the replacement complete?

--

Go to Step 8

--

8

  1. Turn the ignition switch to OFF.
  2. Reconnect or install any connectors or components that were disconnected or removed.
  3. Turn the ignition switch to ON.
  4. Clear any DTCs. Refer to Clearing DTCs.

Are all DTCs cleared?

--

Go to Diagnostic System Check - Body Control System

--