GM Service Manual Online
For 1990-2009 cars only

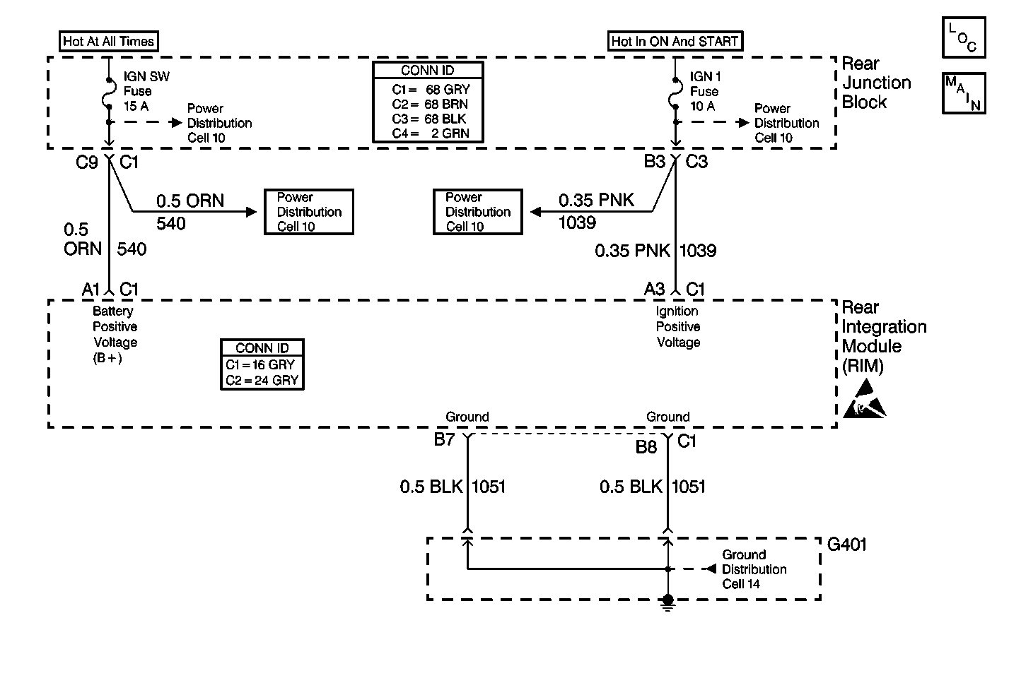
Object Number: 260684  Size: MF
Body Control Module Components
Body Control System Schematics
Handling ESD Sensitive Parts Notice
Ground Distribution Schematics
Power and Grounding Connector End Views
Power Distribution Schematics
Power Distribution Schematics
Power and Grounding Connector End Views
Power Distribution Schematics
Power Distribution Schematics

Circuit Description

Battery Positive Voltage (B+) is supplied to the RIM at connector C1 terminal A1, CKT 540 (ORN). The RIM monitors this voltage to determine if it is within a valid operating range.

Conditions for Setting the DTC

The Battery Positive Voltage (B+) level falls below 9 volts for approximately 1.2 seconds or more.

Action Taken When the DTC Sets

    • Stores a DTC B1327 in the module memory.
    • The module does not respond to any inputs when the voltage is less than 9 volts
    • No driver warning message will be displayed for this DTC.
    • Other module DTCs will not set while DTC B1327 is current.

Conditions for Clearing the DTC

    • A current DTC clears (status changes from current to history) if the Battery Positive Voltage (B+) level rises above 9.5 volts for approximately 1.2 seconds.
    • A history DTC clears after 50 consecrative ignition cycles if the conditions for setting the DTC are no longer present.
    • Use the On-Board clearing DTCs feature. Refer to Diagnostic Trouble Code (DTC) Clearing in HVAC Systems with A/C - Automatic.
    • Use a scan tool.

Diagnostic Aids

The module will not check for low Battery Positive Voltage (B+) during and for 2 seconds following the engine CRANK mode. This delay ensures that DTC B1327 will not erroneously set.

Test Description

The numbers below refer to the step numbers on the diagnostic table:

  1. Perform Body Control Module Diagnostic System Check before continuing with the diagnosis of this DTC.

  2. Checks if DTC is correctly set.

  3. Checks for intermittent charging system problems.

  4. Checks that DTC was not erroneously set.

  5. Determines whether the malfunction is in the charging system or the module which set the DTC.

  6. Clear all DTCs after the repair procedure is complete.

DTC B1327 -- Source/Battery Voltage Low

Step

Action

Value(s)

Yes

No

1

Was the Body Control Module Diagnostic System Check performed?

--

Go to Step 2

Go to Diagnostic System Check - Body Control System

2

  1. Turn ON the ignition switch.
  2. Clear DTCs.
  3. Turn OFF the ignition switch.
  4. Turn ON the ignition switch.
  5. Check for DTCs.

Is the DTC still present?

--

Go to Step 4

Go to Step 3

3

Did more than one module have the DTC prior to clearing?

--

Go to Charging System in Engine Electrical

Go to Diagnostic System Check - Body Control System

4

  1. Turn ON the ignition switch.
  2. Connect a scan tool to the Data Link Connector (DLC).
  3. Select DATA from the DATA LIST of the module which set the DTC.

Is the Battery Positive Voltage (B+) greater than the specified value?

9 V

Go to Step 6

Go to Step 5

5

  1. Turn OFF the ignition switch.
  2. Disconnect the Rear Integration Module (RIM) connector C1.
  3. Measure the voltage between the RIM connector C1 terminal A1 (ORN) and ground.

Is the measured voltage greater than the specified value?

9 V

Go to Step 6

Go to Charging System in Engine Electrical

6

Replace the Rear Integration Module (RIM); refer to Rear Integration Module Replacement.

Is the module replacement complete?

--

Go to Step 7

--

7

  1. Turn OFF the ignition switch.
  2. Reconnect or install any connectors or components that were disconnected or removed.
  3. Turn ON the ignition switch.
  4. Clear any DTCs. Refer to Clearing DTCs.

Are all DTCs cleared?

--

Go to Diagnostic System Check - Body Control System

--