GM Service Manual Online
For 1990-2009 cars only

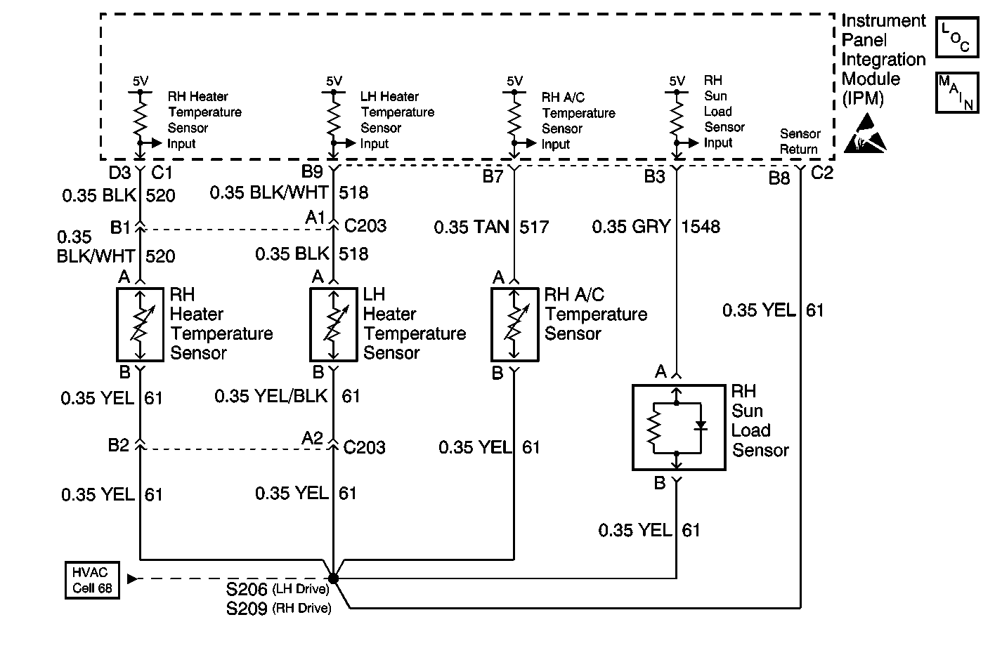
Object Number: 142267  Size: MF
HVAC Air Delivery/Temperature Control Schematics Temperature Sensors
HVAC Schematic Icons
HVAC Air Delivery/Temperature Control Schematics Temperature Sensors

Circuit Description

The right heater temperature sensor is a thermistor that controls signal voltage to the Instrument Panel Integration Module (IPM). The IPM applies voltage on circuit 520. When the sensor is cold, the resistance is high and the IPM will sense a high signal voltage at terminal B9, connector C2. When the sensor warms, resistance is reduced and the signal voltage is pulled low through circuit 61. Signal voltage will vary from 5 V (open circuit) to 0 V (short circuit).

Conditions for Setting the DTC

    • The ignition is ON.
    • Circuit open or short.

Action Taken When the DTC Sets

    • A default value of 128 counts and 24°C (75°F) will be used by the IPM.
    • The default value allows the system to operate.
    • If the air delivery is heater, defog or defrost the air mix two door will cycle between full hot and full cold.

Conditions for Clearing the MIL/DTC

    • Using a scan tool.
    • A current DTC will clear when the diagnostic runs and does not fail.
    • IPM battery voltage is interrupted.

Test Description

The numbers below refer to the step numbers on the diagnostic table.

  1. This step determines whether the Body Control Module (BCM) Diagnostic System Check was performed.

  2. This step ensures that the DTC was not set in error.

  3. This step determines whether the cause of the malfunction is the sensor or an open or short in a circuit.

  4. The scan to verifies proper sensor operation. Clear all the DTCs after the repair procedure is complete.

Step

Action

Value(s)

Yes

No

1

Was the BCM diagnostic system check performed?

--

Go to Step 2

Go to Diagnostic System Check - Body Control System

2

  1. Turn the ignition ON.
  2. Disconnect the sensor.
  3. Measure the voltage between sensor harness connector terminal A and B.

Is the voltage within the specified range?

4.5-5.5 V

Go to Step 3

Go to Step 4

3

  1. Turn the ignition OFF.
  2. Reconnect the sensor.
  3. Connect the scan tool.
  4. Turn the ignition ON.
  5. Clear the DTC using scan tool.
  6. Start the engine.

Did DTC reset?

--

Go to Step 4

Go to Intermittents and Poor Connections in HVAC Systems with A/C-Automatic

4

  1. Select IPM open/short data on the scan tool.
  2. Display RH heater temperature data.
  3. Start the engine.
  4. Unplug the RH heater temperature sensor.
  5. The RH heater temperature voltage increases to 255 Counts.
  6. Reconnect the RH heater temperature sensor connector.

Did the RH heater temperature sensor counts decrease the specified value?

255 Counts

Go to Step 5

Go to Step 6

5

Replace sensor.

Refer to Heater Temperature Sensor Replacement in HVAC Systems with A/C-Automatic.

Is the replacement complete?

--

Go to Step 9

--

6

Inspect CKT 61 (YEL) for an open or short .

Was an open or short located?

--

Go to Step 7

Go to Step 8

7

  1. Inspect CKT 520 (BLK) for an open or short .
  2. If OK, replace the IPM. Refer to Body Control Module Replacement in HVAC Systems with A/C-Automatic.

Is the replacement complete?

--

Go to Step 9

--

8

Repair open or short in CKT 61 (YEL),

Is the repair complete?

--

Go to Step 9

--

9

  1. Using the scan tool, clear all the DTCs.
  2. Confirm proper operation of the A/C system.

Is the A/C system operating normally?

--

Go to Diagnostic System Check - Body Control System

--