GM Service Manual Online
For 1990-2009 cars only
Makes
🢒
Cadillac
🢒
1999
🢒
Seville
🢒
Engine
🢒
Engine Controls - 4.0L and 4.6L
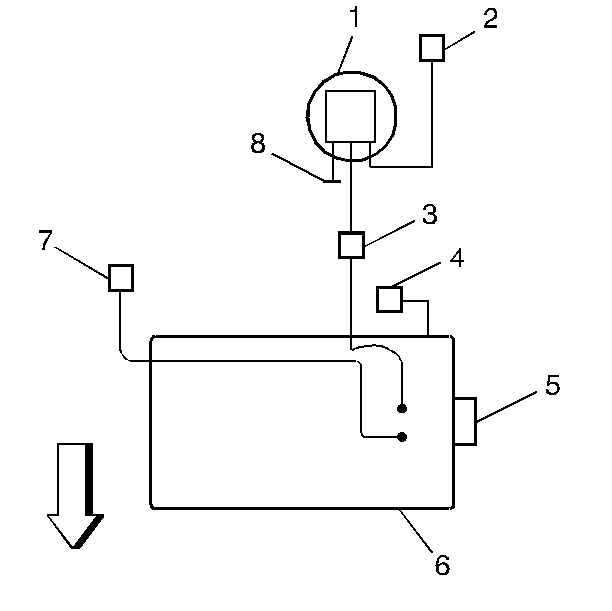
🢒 Emission Hose Routing Diagram
(1)
EVAP Canister
(2)
EVAP Canister Vent Valve
(3)
EVAP Canister Purge Valve
(4)
Fuel Pressure Regulator
(5)
Throttle Body
(6)
Intake Manifold
(7)
PCV Valve
(8)
to fuel tank