GM Service Manual Online
For 1990-2009 cars only

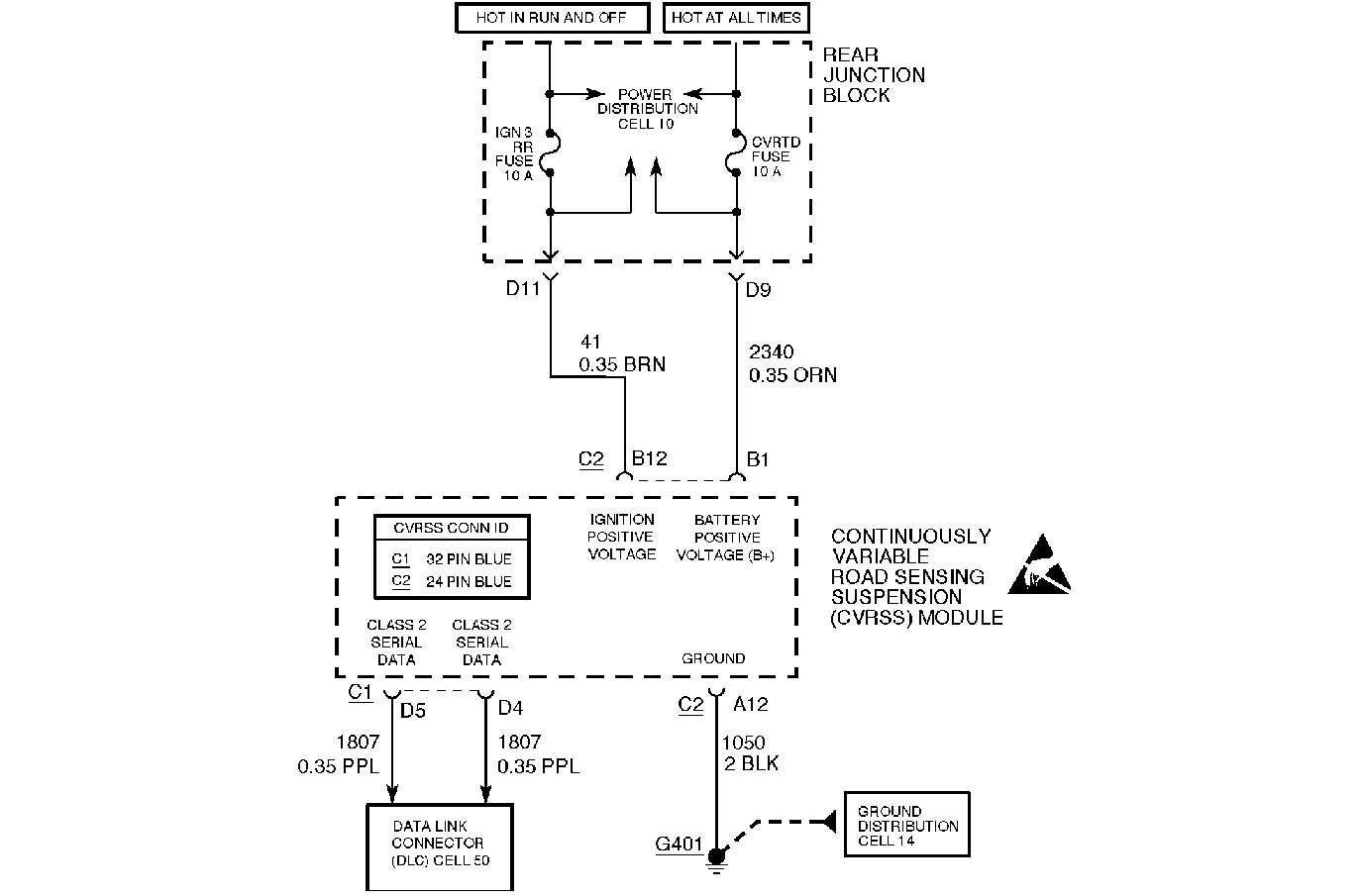
Circuit Description

The CVRSS module communicates to the other electronic control modules on the vehicle via the CLASS 2 serial bus.


Object Number: 304786  Size: MF

Conditions for Setting the DTC

The DTC is also set when the power to the CVRSS module has been lost because of one or more of the following:

    • loss of battery feed (loose terminals and/or fuses)
    • loss of ignition feed (loose terminals and/or fuses)
    • loss of a good CVRSS system ground
    • malfunction of the internal CVRSS module.

The DTC is also set when the CVRSS module is powered and operational, but is unable to communicate with the IPC because of an open circuit condition, a short circuit condition to ground, or a short circuit condition to voltage on the CLASS 2 circuit.

The DTC turns HISTORY when the IPC can communicate with the CVRSS module.

Action Taken When the DTC Sets

    • The SERVICE RIDE CONTROL message will be displayed.
    • The vehicle speed may be limited, or the STABILITY REDUCED message will be displayed.
    • DTC P1611, U1056 and/or U1255 can be stored.

Conditions for Clearing the MIL/DTC

    • Use the scan tool.
    • Use the On-Board diagnostic CLEAR RSS CODES feature.

Test Description

Important: Do not backprobe the sensors, actuators, or any sealed connectors.

The number(s) below refer to the step number(s) on the diagnostic table.

Important: DTCs P1611, U1056, and U1255 can also be a result of:

   • Electrical problems with the wiring harness.
   • Intermittent breaks in Class 2 communication caused by other controllers and/or wiring harness issues.

  1. This step checks for a blown ignition fuse.

  2. This step checks for blown (open) battery fuse.

  3. This step checks for an open circuit condition in the ground circuit.

  4. This step checks for an open circuit condition in the battery circuit.

  5. This step checks for an open circuit condition in the ignition circuit.

  6. This step checks the CLASS 2 bus for a fault condition.

  7. This step checks for a short circuit to ground condition in the ignition circuit.

  8. This step checks for a short circuit to ground condition in the battery circuit.

Step

Action

Value(s)

Yes

No

1

Was the Road Sensing Suspension Diagnostic System Check performed?

--

Go to Step 2

Go to Road Sensing Suspension Diagnostic System Check

2

  1. Turn the ignition OFF.
  2. Check the IGN3 (10 amp) fuse #34 (Rear Junction Block).

Is the fuse blown?

--

Go to Step 13

Go to Step 3

3

Check the CVRTD (10 amp) fuse #32 (Rear Junction Block).

Is the fuse blown?

--

Go to Step 15

Go to Step 4

4

  1. Disconnect the CVRSS module connector C2.
  2. Measure the resistance from connector C2, terminal A12 (harness side), to ground with the J 39200 DMM.

Is the resistance the same or less than the specified value?

5 ohms

Go to Step 6

Go to Step 5

5

Repair the open circuit condition in CKT 1050.

Is the repair complete?

--

Go to Road Sensing Suspension Diagnostic System Check

--

6

  1. Install any fuses that were removed.
  2. Measure the voltage between the CVRSS module connector C2, terminal B1 (harness side), and ground with the DMM.

Is the voltage above the specified value?

10 V

Go to Step 8

Go to Step 7

7

Repair the open circuit condition in CKT 2340, or the Rear Junction Block.

Is the repair complete?

--

Go to Road Sensing Suspension Diagnostic System Check

--

8

Measure the voltage between the CVRSS module connector C2, terminal B12 (harness side), and ground with the DMM.

Is the voltage above the specified value?

10 V

Go to Step 10

Go to Step 9

9

Repair the open circuit condition in CKT 41, or the Rear Junction Block.

Is the repair complete?

--

Go to Road Sensing Suspension Diagnostic System Check

--

10

Important: There are two class 2 serial data circuits.

Check CKTs 1807 (at connector C1 terminals D4 and D5) for the following conditions:

    • an open circuit condition
    • a short circuit to ground condition
    • a short circuit to voltage condition

Is a problem in CKT 1807 present?

--

Go to Step 11

Go to Step 12

11

Repair the fault in CKT 1807.

Is the repair complete?

--

Go to Road Sensing Suspension Diagnostic System Check

--

12

Is DTC P1611 set?

--

Go to DTC P1611 Loss of CVRTD Serial Data

Go to Step 17

13

  1. Turn the ignition OFF.
  2. Disconnect CVRSS control module connector C2.
  3. Measure the resistance from connector C2, terminal B12 (harness side), to ground with the J 39200 DMM.

Is the resistance the same or less than the specified value?

5 ohms

Go to Step 17

Go to Step 19

14

Repair the short circuit condition in CKT 141 and install a new fuse.

Is the repair complete?

--

Go to Road Sensing Suspension Diagnostic System Check

--

15

  1. Turn the ignition OFF.
  2. Disconnect the CVRSS module connector C2.
  3. Disconnect the Underhood Junction lock connector C3.
  4. Measure the resistance between CVRSS module connector C2, terminal B1, and the Underhood Junction Blockconnector C3, terminal D9.

Is the resistance the same or less than the specified value?

5 ohms

Go to Step 17

Go to Step 16

16

Repair the short circuit condition in CKT 2340 and install a new fuse.

Is the repair complete?

--

Go to Road Sensing Suspension Diagnostic System Check

--

17

Measure the resistance from CVRSS control module connector C1, terminals D13, C12, C4 and C2, to ground with the DMM.

Is the resistance the specified value for each circuit?

OL

Go to Step 19

Go to Step 18

18

Repair the short circuit condition in the affected circuit.

Is the repair complete?

--

Go to Road Sensing Suspension Diagnostic System Check

--

19

    Important: Check for intermittent connections on the fuses.

  1. Check all the electrical connections of the affected circuits (i.e. CKT 2340, 41, 1050, and 1807) for proper seating and crimps.
  2. Install all of the connectors and components that were removed.
  3. Turn the ignition ON with the engine off.
  4. Clear the DTCs. Refer to Clearing DTCs .
  5. Check the RSS DTCs. Refer to Displaying Diagnostic Trouble Codes (DTC) .

Does the IPC display NO RSS DATA?

--

Go to Step 20

Go to Road Sensing Suspension Diagnostic System Check

20

  1. Turn the ignition OFF.
  2. Replace the CVRSS control module. Refer to Electronic Suspension Control Module Replacement .
  3. Install all of the connectors and components that were removed.
  4. Install the scan tool.
  5. Turn the ignition ON with the engine off.

Important: The CVRSS controller must be calibrated.

Calibrate the CVRSS service controller using the scan tool. Refer to Electronic Suspension Control Module Calibration .

Is the CVRSS control module calibrated?

--

Go to Road Sensing Suspension Diagnostic System Check

--