GM Service Manual Online
For 1990-2009 cars only

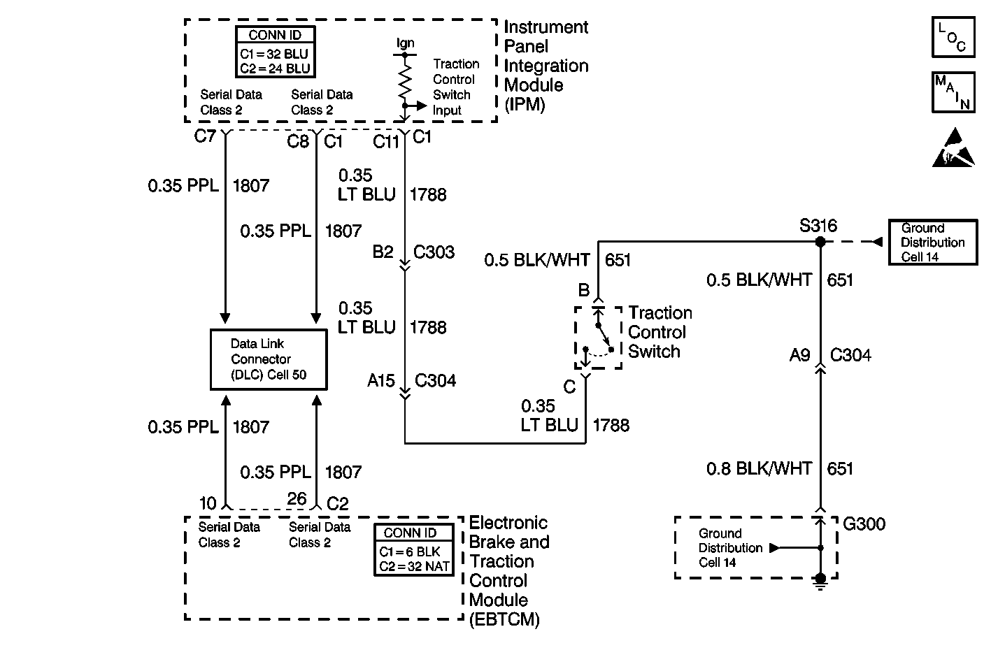
Object Number: 388770  Size: MF
ABS Components
Cell 44: CVRSS, IPM, PCM, MSVA, Class 2 and Traction Control Switch
Handling ESD Sensitive Parts Notice
Cell 14: G300
Cell 14: G300
Cell 50: Class 2 Serial Data Line (LH Drive)

Circuit Description

The TRACTION OFF message is controlled by the EBTCM. When the IPM sees the Traction Control Disable Input grounded through the momentary traction control disable switch, it sends a Class 2 message to the EBTCM that tells the EBTCM that the traction control disable switch has been pressed. The EBTCM then disables Traction Control and sends a message to the instrument cluster (IPC) to turn the TRACTION OFF message on. Each time the ignition switch is cycled OFF to ON, Traction Control is enabled.

Diagnostic Aids

    • It is very important that a thorough inspection of the wiring and connectors be performed. Failure to carefully and fully inspect wiring and connectors may result in misdiagnosis, causing part replacement with reappearance of the malfunction.
    • An intermittent malfunction can be caused by poor connections, broken insulation, or a wire that is broken inside the insulation.
    • If an intermittent malfunction exists, refer to Intermittents and Poor Connections Diagnosis in Wiring Systems.

Test Description

The numbers below refer to step numbers on the diagnostic table.

  1. Checks the state of the traction control switch.

  2. Checks for a stuck traction control switch.

  3. Checks for short to ground in CKT 1788.

Step

Action

Value(s)

Yes

No

1

Did you perform the ABS Diagnostic System Check?

--

Go to Step 2

Go to Diagnostic System Check - ABS

2

  1. Turn OFF the ignition.
  2. Connect a scan tool to the data link connector (DLC).
  3. Turn ON the ignition.
  4. Use the scan tool in order to select Instrument Panel Integration Module (IPM) Data Display, Non-HVAC Data.
  5. Monitor the TCS Input.

Does the scan tool indicate that the traction control switch is On?

--

Go to Step 3

Go to Step 7

3

  1. Disconnect the traction control switch connector.
  2. Use the scan tool in order to select Instrument Panel Integration Module (IPM) Data Display, Non-HVAC Data.
  3. Monitor the TCS Input.

Does the scan tool indicate that the traction control switch is On?

--

Go to Step 4

Go to Step 6

4

  1. Disconnect the IPM connector C1.
  2. Use the scan tool in order to select Instrument Panel Integration Module (IPM) Data Display, Non-HVAC Data.
  3. Monitor the TCS Input.

Does the scan tool indicate that the traction control switch is On?

--

Go to Step 7

Go to Step 5

5

Repair the short to ground in CKT 1788. Refer to Wiring Repairs in Wiring Systems.

Did you complete the repair?

--

Go to Diagnostic System Check - ABS

--

6

Replace the traction control switch. Refer to Electronic Traction Control Switch Replacement .

Did you complete the repair?

--

Go to Diagnostic System Check - ABS

--

7

Replace the IPM. Refer to Body Control Module Replacement in Body Control System.

Did you complete the repair?

--

Go to Diagnostic System Check - ABS

--