GM Service Manual Online
For 1990-2009 cars only
Makes
🢒
Cadillac
🢒
1999
🢒
Seville
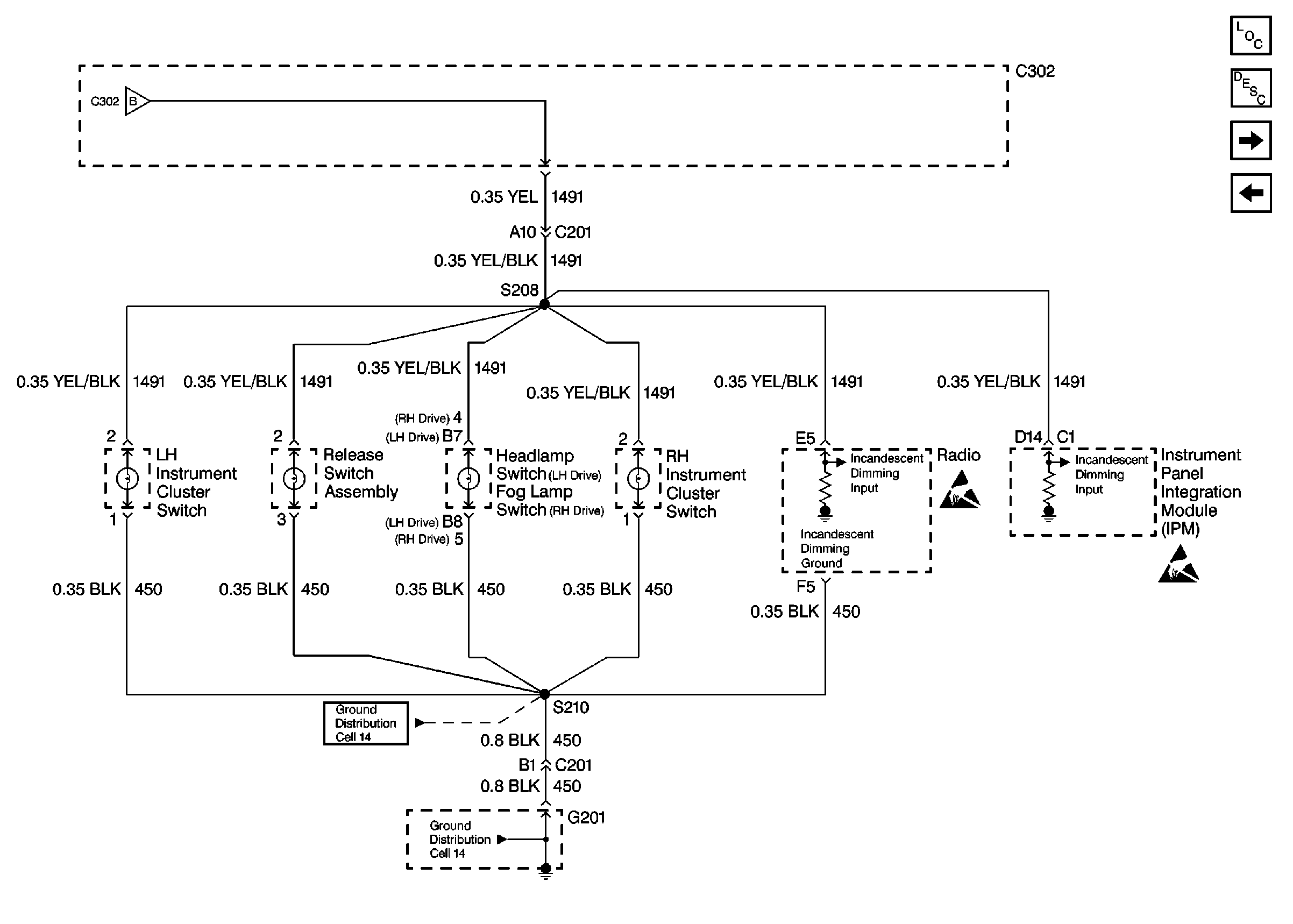
🢒 Cell 117: Instrument Panel Dimming
Cell 117: Instrument Panel Dimming
Cell 117: Instrument Panel Dimming
Lighting Systems Components
Interior Lights Dimming Circuit Description
Cell 117: Front Door Dimming
Cell 117: Ashtray Lamp, Steering Wheel Controls, Console Dimming
Handling ESD Sensitive Parts Notice
Handling ESD Sensitive Parts Notice
Cell 14: G201 (2 of 3)
Cell 117: Ashtray Lamp, Steering Wheel Controls, Console Dimming
Cell 14: G201 (2 of 3)