GM Service Manual Online
For 1990-2009 cars only
Makes
🢒
Cadillac
🢒
1999
🢒
Seville
🢒 Cell 66: Front
Cell 66: Front
Cell 66: Front
Handling ESD Sensitive Parts Notice
Handling ESD Sensitive Parts Notice
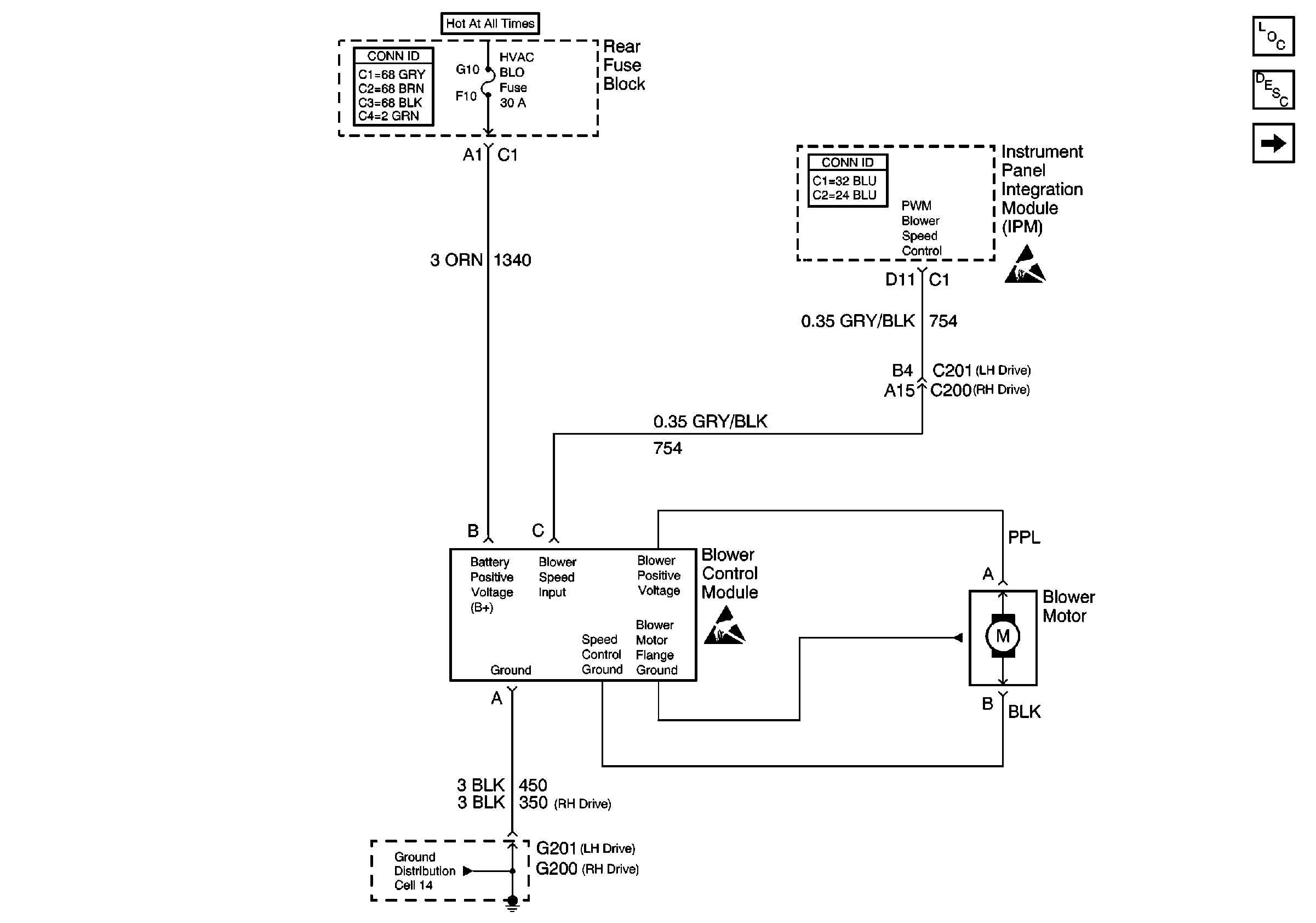
HVAC Components
HVAC Blower Controls Circuit Description
Cell 66: Rear
Body Control System Connector End Views
Ground Distribution Schematics
Power and Grounding Connector End Views