GM Service Manual Online
For 1990-2009 cars only
Makes
🢒
Cadillac
🢒
1999
🢒
Seville
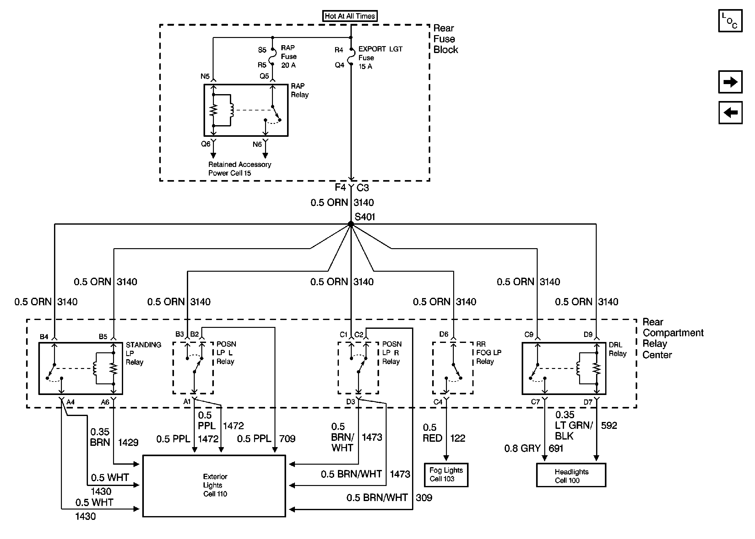
🢒 Cell 10: RAP and EXPORT LGT Fuses
Cell 10: RAP and EXPORT LGT Fuses
Cell 10: RAP and EXPORT LGT Fuses
Power and Grounding Components
Cell 10: AUDIO, AUDIO AMP and DIM Fuses
Cell 10: MEM T/T PWWR T/T and TSIG/HAZ Fuses