GM Service Manual Online
For 1990-2009 cars only
Makes
🢒
Cadillac
🢒
1999
🢒
Seville
🢒 Cell 45
Cell 45
Cell 45
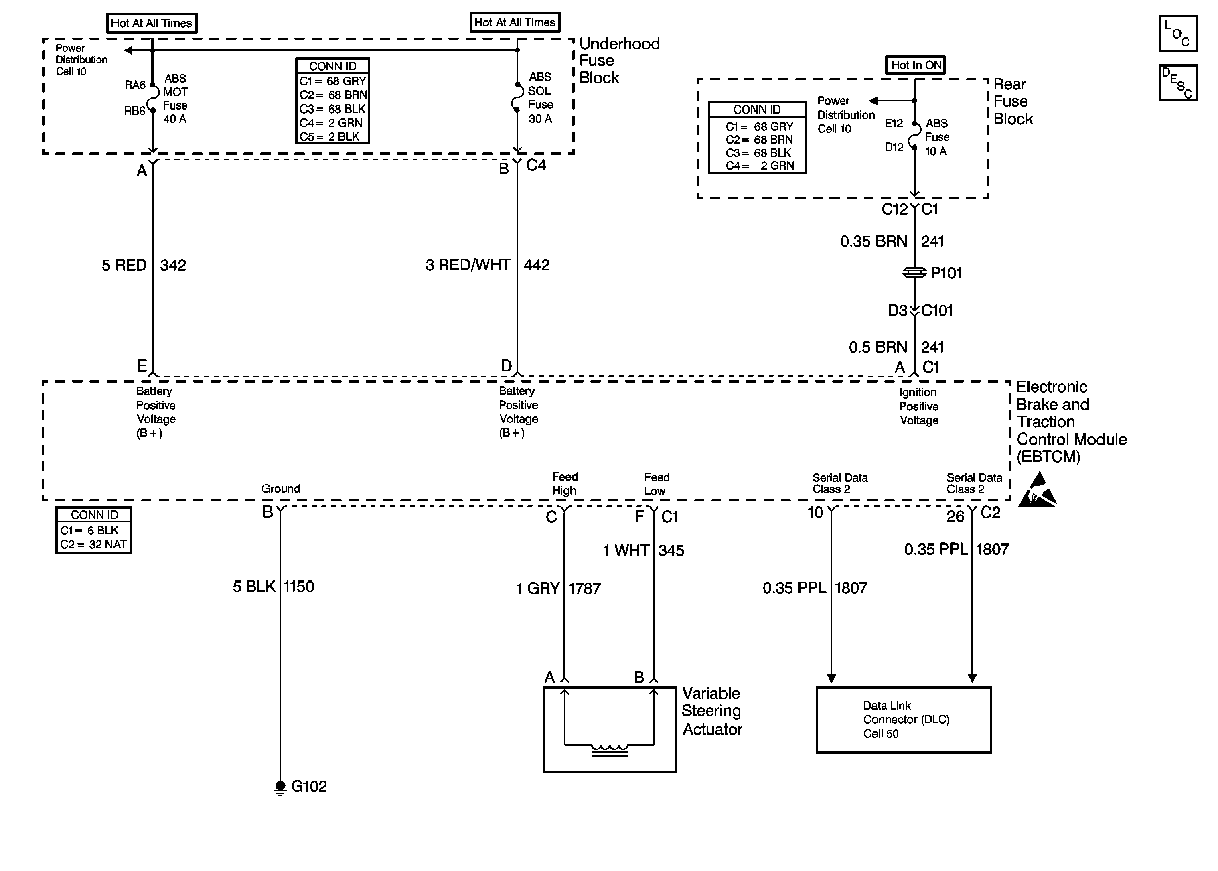
Steering Controls Components
Variable Effort Steering Description
Handling ESD Sensitive Parts Notice
Cell 10: Power to Underhood Fuse Block
Cell 10: IGN 3 Relay and HVAC, ABS Fuses
Cell 50: Class Serial Data Line (2 of 2)