GM Service Manual Online
For 1990-2009 cars only

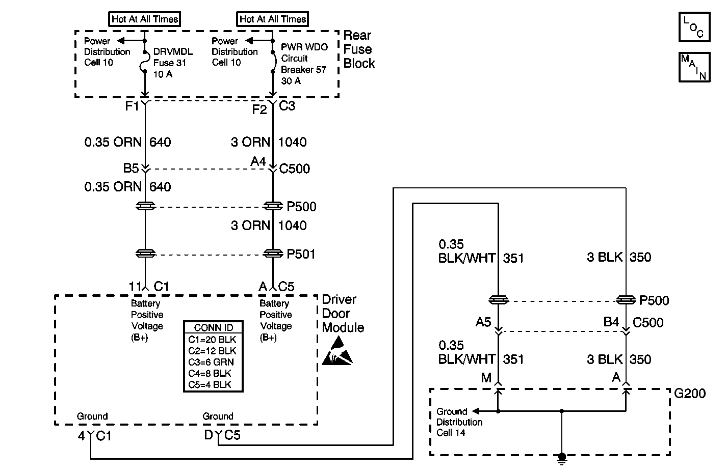
Object Number: 550842  Size: MF
Power Door Systems Components
Cell 55: Driver Door Module Inputs and Outputs
Cell 10: DRV MDL, PASS MDL, RRDR MDL and ALDL Fuses
Cell 10: PWR WDO and PWR SEAT Circuit Breakers
Handling ESD Sensitive Parts Notice
Cell 14: G200 (1 of 2)

Circuit Description

Battery Positive Voltage (B+) is supplied to the driver door module at connector C1, terminal 11, CKT 640 (ORN). The driver door module monitors this voltage to determine if it is within a valid operating range.

Conditions for Setting the DTC

The Battery Positive Voltage (B+) level falls below 9 volts for approximately 1.2 seconds or more.

Action Taken When the DTC Sets

    • Stores a DTC B1983 in the driver door module memory.
    • The driver door module will not respond to any manual or memory inputs when the voltage is less than 9 volts
    • No driver warning message will be displayed for this DTC.
    • The driver door module switch failure and position sensor failure DTCs will not set while DTC B1983 is current.

Conditions for Clearing the DTC

    • The Battery Positive Voltage (B+) level rises above 9.5 volts for approximately 1.2 seconds.
    • A history DTC will clear after 50 consecutive ignition cycles if the condition for the malfunction is no longer present.
    • Use the On-Boards clearing DTCs feature.
    • Use a scan tool.

Diagnostic Aids

The driver door module will not check for low Battery Positive Voltage (B+) during and for 2 seconds following the engine CRANK mode, this insures that DTC B1983 will not erroneously set.

Test Description

The numbers below refer to the step numbers on the diagnostic table:

  1. Perform the Power Door System Diagnostic System Check before continuing with the diagnosis of this DTC.

  2. Determines whether the malfunction is in the charging system or the driver door module.

  3. Clear all DTCs after the repair procedure is complete.

DTC B1983 -- Source/Battery Voltage Low

Step

Action

Value(s)

Yes

No

1

Was the Power Door Systems Diagnostic System Check performed?

--

Go to Step 2

Go to Diagnostic System Check - Power Door Systems

2

  1. Connect a scan tool.
  2. Clear the driver door module DTCs. Refer to Diagnostic Trouble Code (DTC) Clearing .
  3. Start the engine.

Does the DTC reset?

--

Go to Step 3

Go to Charging System Check in Engine Electrical

3

  1. Start the engine.
  2. Select Powertrain Engine Data 1 (Ignition 1).

Does Ignition 1 voltage measure within the specified range?

10-15 V

Go to Step 4

Go to Charging System Check in Engine Electrical

4

Replace the driver door module. Refer to Door Control Module Replacement .

Is the repair complete?

--

Go to Step 5

--

5

  1. Turn OFF the ignition switch.
  2. Reconnect or install any connectors or components that were disconnected or removed.
  3. Turn ON the ignition switch.
  4. Clear any DTCs. Refer to Diagnostic Trouble Code (DTC) Clearing .

Are all DTCs cleared?

--

Go to Diagnostic System Check - Power Door Systems

--