GM Service Manual Online
For 1990-2009 cars only

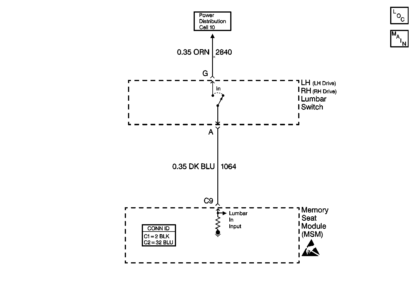
Object Number: 392813  Size: MF
Power Seat Systems Components
Cell 142
Handling ESD Sensitive Parts Notice
Cell 10: MEM T/T PWWR T/T and TSIG/HAZ Fuses
Power Seat Connector End Views

Circuit Description

The memory seat module (MSM) receives an input from the lumbar switch when the in switch is actuated. When the lumbar switch is operated in the in direction, battery positive voltage (B+) is supplied to the MSM lumbar in input via CKT 1064 (DK BLU). The MSM recognizes the input and moves the lumbar support in, away from the driver's back.

Conditions for Setting the DTC

    •  When the lumbar in switch is active for 30 seconds after motion has ceased, the switch will be considered shorted and the DTC will set.
    •  If the lumbar horizontal position sensor DTC B1835 is current and the lumbar in switch is active for 30 seconds, the switch will be considered shorted and the DTC will set.
    • DTC B1835 will set only if DTC B1327 MSM or DTC B1328 MSM is not current.

Action Taken When the DTC Sets

    • The MSM will not move the lumbar support in, away from the driver's back.
    • The MSM will continue to respond to valid inputs from the other manual switches.
    • All memory recall function commands will be ignored for all directions.

Conditions for Clearing the DTC

    • The MSM sees that the lumbar in switch is no longer active.
    • Use the On-Boards clearing DTCs feature.
    • Use a scan tool.

Test Description

The numbers below refer to the step numbers on the diagnostic table:

  1. Perform the entire Power Seat Systems Diagnostic System Check before continuing with the diagnosis of this DTC.

  2. Determines whether there is a stuck switch or a short to battery positive voltage (B+) in the wiring input to the memory seat module (MSM). DTC B1835 will set again if there is a short in the wiring or there is an internal MSM problem. DTC B1835 will not set again if there is a stuck switch because the switch has been disconnected from the memory seat module (MSM) input.

  3. Determines whether there is a short to battery positive voltage (B+) in the input wiring to the MSM.

  4. Clear all DTCs after the repair procedure is complete.

Step

Action

Value(s)

Yes

No

1

Was the entire Power Seat Systems Diagnostic System Check performed?

--

Go to Step 2

Go to Diagnostic System Check - Power Seat Systems

2

  1. Turn the ignition switch to the ON position.
  2. Connect a scan tool to the data link connector (DLC).
  3. Disconnect the lumbar switch connector.
  4. Using the scan tool, clear all DTCs. Refer to Diagnostic Trouble Code (DTC) Clearing .

After 30 seconds, does DTC B1835 reset?

--

Go to Step 3

Go to Step 5

3

  1. Disconnect the memory seat module (MSM) connector C2.
  2. Connect a DMM from the MSM connector C2 cavity C9 (DK BLU) to ground.

Is the voltage within the specified range?

10-15 V

Go to Step 6

Go to Step 4

4

Replace the memory seat module (MSM). Refer to Memory Seat Control Module Replacement .

Is the MSM replacement complete?

--

Go to Step 7

--

5

Replace the lumbar switch. Refer to Lumbar Switch Replacement .

Is the lumbar switch replacement complete?

--

Go to Step 7

--

6

Repair the short to battery positive voltage (B+) in CKT 1064 (DK BLU). Refer to Wiring Repairs in Wiring Systems.

Is the circuit repair complete?

--

Go to Step 7

--

7

  1. Turn the ignition switch to the OFF position.
  2. Reconnect or install any connectors or components that were disconnected or removed.
  3. Turn the ignition switch to the ON position.
  4. Clear any DTCs. Refer to Diagnostic Trouble Code (DTC) Clearing .

Are all DTCs cleared?

--

Go to Diagnostic System Check - Power Seat Systems

--