GM Service Manual Online
For 1990-2009 cars only

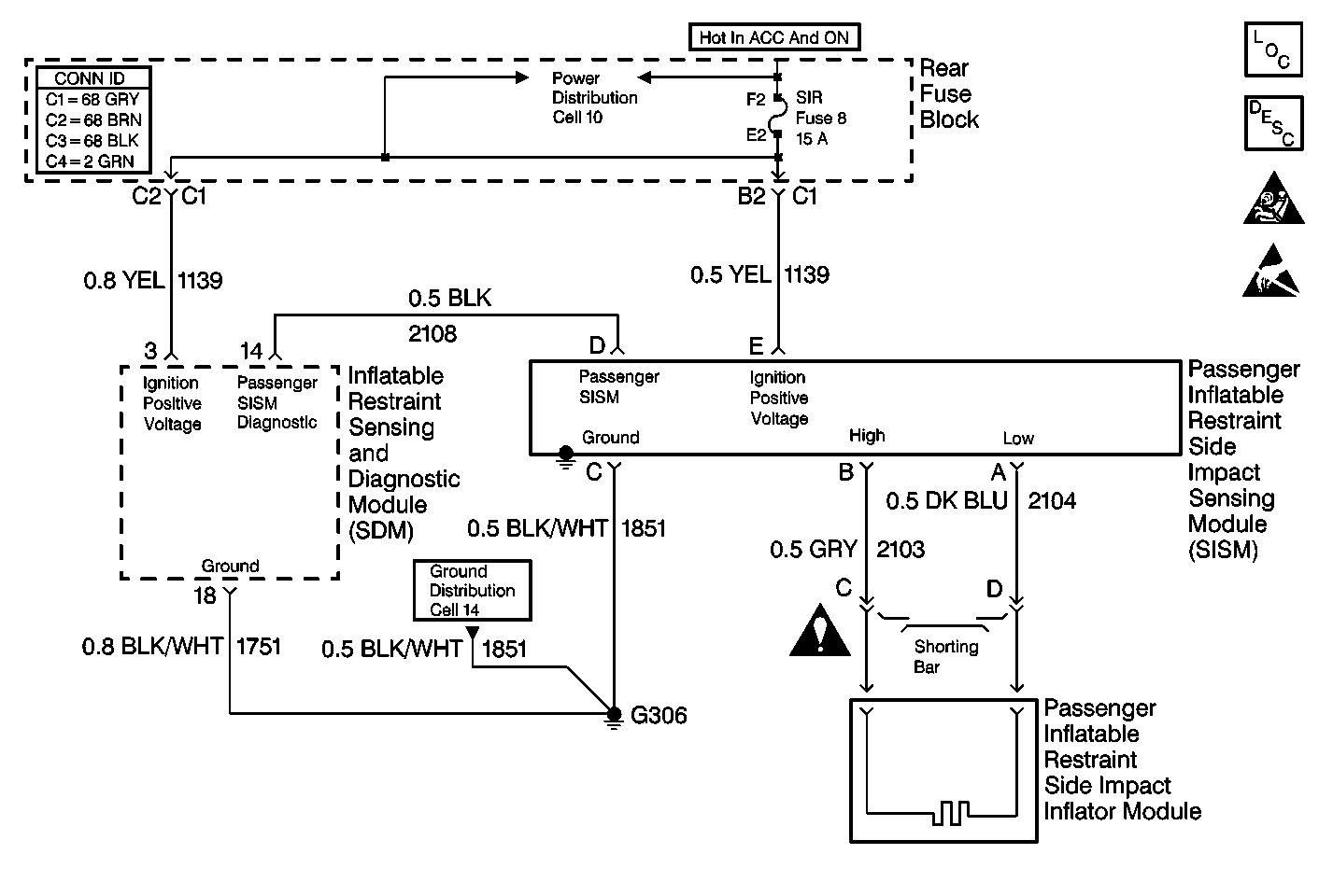
Object Number: 383373  Size: MF
SIR Components
SIR Schematics
SIR Handling Caution
Handling ESD Sensitive Parts Notice
SIR Schematic Icons

Circuit Description

When you turn the ignition switch to the ON position, the inflatable restraint side impact sensing module (SISM) performs testsin order to diagnose critical malfunctions within itself. The SISM then tests for the following conditions:

    • Deployment loop open
    • Deployment loop short to ground
    • Deployment loop short to ignition
    • Deployment loop resistance high
    • Deployment loop resistance low
    • Deployment reserve energy failure

The inflatable restraint side impact sensing module (SISM) transmits a pulse width modulated signal to the inflatable restraint sensing and diagnostic module (SDM) over CKT 2108. A 300 millisecond pulse width with a 50 percent duty cycle is the Normal mode and indicates that the SISM is operating normally and no faults exist. The SISM communicates that it is turning OFF (ignition OFF) by sending a 20 millisecond pulse width modulated signal with a 50 percent duty cycle.

Conditions for Setting the DTC

The SDM receives a pulse width signal other than the Normal signal, or no signal at all. The SISM performs tests during Power-On tests, Continuous Monitoring tests, and Asynchronously.

Action Taken When the DTC Sets

    • The SDM sets DTC B1148.
    • The SDM commands the instrument cluster (IPC) to turn ON the AIR BAG warning lamp.

Conditions for Clearing the DTC

    • Current DTC:
       - The SDM receives a Normal signal from the SISM.
       - The ignition switch is cycled.
    • History DTC:
       - You issue a scan tool Clear DTCs command.
       - 250 malfunction-free ignition cycles occur.

If a side impact deployment occurs the SISM must be replaced. Follow the instructions in the diagnostic table.

Diagnostic Aids

A poor connection can cause an intermittent condition. Check the following for a poor connection:

    • The SISM.
    • The inflatable restraint side impact inflator module.
    • The SDM terminal 14.
    • The wire to terminal connections of all circuits going to the SISM.

When measurements are requested in this table, use J 39200 Digital Multimeter with the correct terminal adapter from J 35616 Connector Test Adapter Kit. When a check for proper connection is requested, refer to General Electrical Diagnosis in Wiring Systems. When a wire, connector or terminal repair is requested, use J-38125 Terminal Repair Kit and refer to Wiring Repair .

Test Description

The numbers below refer to step numbers on the diagnostic table.

  1. If the driver inflatable restraint side impact inflator deployed, DTC B1148 will set.

  2. Components require inspection and possibly replacement after a side impact accident, whether deployment occurred or not.

  3. This test determines if the malfunction is in the inflatable restraint side impact inflator module.

  4. This test isolates the malfunction to the jumper harness or the pretensioner.

  5. This test checks for an open in CKT 1851.

  6. This test checks for an open in CKT 1139.

  7. This test checks for a short to ground in CKT 2104.

  8. This test checks for an open in CKT 2104.

  9. This test checks for a short to voltage in CKT 2104.

  10. This test checks for a short to ground in CKT 2103.

  11. This test checks for a short to voltage in CKT 2103.

  12. This test checks for high resistance or open in CKT 2103.

  13. This test checks for a short to ground in CKT 2108.

  14. This test checks for a short to voltage in CKT 2108.

  15. This test checks for an open in CKT 2108.

  16. If all wiring and connections are OK, then and only then should the inflatable restraint side impact sensing module (SISM) be replaced.

Step

Action

Value(s)

Yes

No

Important: If DTC B1327 is also set, repair low voltage malfunction first. Low voltage may erroneously set DTC B1148.

1

Was the SIR Diagnostic System Check performed?

--

Go to Step 2

Go to SIR Diagnostic System Check

2

Turn the ignition switch to the OFF position.

Has the passenger inflatable restraint side impact inflator deployed?

--

Go to Step 4

Go to Step 3

3

Inspect the passenger side of the vehicle and the undercarriage for signs of a side impact.

Are there signs of a side impact?

--

Go to Step 4

Go to Step 5

4

Replace the components and perform the inspections as directed Repairs and Inspections Required After a Collision in this section.

Have the appropriate repairs and inspections been completed?

--

Go to Step 41

--

5

  1. Remove the SIR Fuse.
  2. Disconnect the passenger side air bag/pretensioner yellow 6-way connector.
  3. Connect J 38715-A SIR Driver/Passenger Load Tool and the appropriate adapter to the harness connector.
  4. Install the SIR Fuse.
  5. Turn the ignition switch to the ON position.

Is DTC B1148 current?

--

Go to Step 9

Go to Step 6

6

  1. Turn the ignition switch to OFF.
  2. Disconnect the J 38715-A Load Tool.
  3. Reconnect the passenger side air bag/pretensioner yellow 6-way connector.
  4. Disconnect the passenger side air bag connector.
  5. Connect the J 38715-A Load Tool to the air bag jumper harness connector.
  6. Turn the ignition switch to ON.

Is DTC B1148 current?

--

Go to Step 7

Go to Step 8

7

  1. Turn the ignition switch to OFF.
  2. Replace the passenger seat belt pretensioner jumper harness. Refer to Pretensioner Wiring Harness Replacement .

Did you complete the replacement?

--

Go to Step 41

--

8

  1. Turn the ignition switch OFF.
  2. Replace the inflatable restraint side impact inflator module. Refer to Driver and Passenger Seat Side Inflatable Restraint Module Replacement .

Did you complete the replacement?

--

Go to Step 41

--

9

  1. Turn the ignition switch OFF.
  2. Remove the SIR Fuse.
  3. Disconnect the inflatable restraint side impact sensing module (SISM). Refer to Inflatable Restraint Side Impact Sensing and Diagnostic Module Replacement - Right Side for removal.
  4. Check for proper connection at the SISM at all terminals of the SISM harness connector.

Are any of the SISM harness connector terminals damaged or corroded?

--

Go to Step 10

Go to Step 11

10

Replace the SISM harness connector. Refer to Wiring Repair .

Did you complete the repair?

--

Go to Step 41

--

11

Carefully inspect the SISM connector terminals for damage or corrosion.

Are any of the SISM connector terminals damaged or corroded?

--

Go to Step 12

Go to Step 13

12

Replace the SISM harness connector. Refer to Wiring Repair .

Did you complete the repair?

--

Go to Step 41

--

13

Using J 39200 DMM, measure the resistance from the SISM harness connector C to ground.

Is the resistance within the specified values?

0.0-0.5 ohms

Go to Step 15

Go to Step 14

14

Repair an open condition in CKT 1851. Refer to Wiring Repair .

Did you complete the repair?

--

Go to Step 41

--

15

Using J 39200 DMM, measure the resistance from the SISM terminal E to Rear Junction Block (Fuse Block) connector C1 terminal B2.

Is the resistance within the specified values?

0.0-0.5 ohms

Go to Step 17

Go to Step 16

16

Repair an open condition in CKT 1139. Refer to Wiring Repair .

Did you complete the repair?

--

Go to Step 41

--

17

  1. Disconnect the J 38715-A Load Tool and the adapter from the inflatable restraint side impact inflator module harness connector.
  2. Using J 39200 DMM, measure the resistance from the SISM harness connector terminal A to ground.

Is the resistance within the specified values?

0.0-0.5 ohms

Go to Step 18

Go to Step 19

18

Repair a short to ground condition in CKT 2104. Refer to Wiring Repair .

Did you complete the repair?

--

Go to Step 41

--

19

Using J 39200 DMM, measure the resistance from the SISM terminal A to the inflatable restraint side impact inflator module terminal D.

Is the resistance within the specified values?

0.0-0.5 ohms

Go to Step 21

Go to Step 20

20

Repair a high resistance condition in CKT 2104. Refer to Wiring Repair .

Did you complete the repair?

--

Go to Step 41

--

21

  1. Make sure the SISM and the inflatable restraint side impact inflator module are disconnected.
  2. Install the SIR Fuse.
  3. Turn the ignition switch to ON.
  4. Using J 39200 DMM, measure the voltage from the SISM harness connector terminal A to ground.

Is the voltage more than the specified value?

1  V

Go to Step 22

Go to Step 23

22

Repair a short to voltage condition in CKT 2104. Refer to Wiring Repair .

Did you complete the repair?

--

Go to Step 41

--

23

Using J 39200 DMM, measure the voltage from the SISM harness connector terminal B to ground.

Is the voltage more than the specified value?

1  V

Go to Step 24

Go to Step 25

24

Repair a short to voltage condition in CKT 2103. Refer to Wiring Repair .

Did you complete the repair?

--

Go to Step 41

--

25

  1. Turn the ignition switch OFF.
  2. Using J 39200 DMM, measure the resistance from the SISM harness connector terminal B to ground.

Is the resistance within the specified values?

0.0-0.5 ohms

Go to Step 26

Go to Step 27

26

Repair a short to ground condition in CKT 2103. Refer to Wiring Repair .

Did you complete the repair?

--

Go to Step 41

--

27

Using J 39200 DMM, measure the resistance from the SISM harness connector terminal B to the inflatable restraint side impact inflator module harness connector terminal C.

Is the resistance within the specified values?

0.0-0.5 ohms

Go to Step 29

Go to Step 28

28

Repair a high resistance or open condition in CKT 2103. Refer to Wiring Repair .

Did you complete the repair?

--

Go to Step 41

--

29

Using J 39200 DMM, measure the resistance from the SISM harness connector terminal D to ground.

Is the resistance within the specified value?

0.0-0.5 ohms

Go to Step 30

Go to Step 31

30

Repair a short to ground condition in CKT 2108. Refer to Wiring Repair .

Did you complete the repair?

--

Go to Step 41

--

31

  1. Turn the ignition switch OFF.
  2. Disable the Frontal SIR system. Refer to Disabling the SIR System .
  3. Disconnect the inflatable restraint sensing and diagnostic module (SDM).
  4. Make sure the SISM and the inflatable restraint side impact inflator module are disconnected.
  5. Turn the ignition switch to ON.
  6. Using J 39200 DMM, measure the voltage from the SISM harness connector terminal D to ground.

Is the voltage more than the specified value?

1  V

Go to Step 32

Go to Step 33

32

Repair a short to voltage condition in CKT 2108. Refer to Wiring Repair .

Did you complete the repair?

--

Go to Step 41

--

33

  1. Turn the ignition switch OFF.
  2. Check for proper connection of terminal 14 of the SDM harness connector.

Is terminal 14 of the SDM harness connector damaged or corroded?

--

Go to Step 34

Go to Step 35

34

Replace the SDM harness connector. Refer to Connector Repairs in Wiring Systems.

Did you complete the repair?

--

Go to Step 41

--

35

Carefully inspect SDM connector terminal 14 for damage or corrosion.

Is terminal 14 of the SDM connector damaged or corroded?

--

Go to Step 36

Go to Step 37

36

Replace the SDM. Refer to Inflatable Restraint Sensing and Diagnostic Module Replacement .

Did you complete the replacement?

--

Go to Step 41

--

37

Using J 39200 DMM, measure the resistance from the SDM harness connector terminal 14 to the SISM harness connector terminal D.

Is the resistance within the specified values?

0.0-0.5 ohms

Go to Step 39

Go to Step 38

38

Repair a high resistance or open condition in CKT 2108. Refer to Wiring Repair .

Did you complete the repair?

--

Go to Step 41

--

39

Replace the passenger SISM. Refer to Inflatable Restraint Side Impact Sensing and Diagnostic Module Replacement - Right Side .

Did you complete the replacement?

--

Go to Step 40

--

40

  1. Reconnect all the SIR System components. make sure all the components are properly mounted.
  2. Install the SIR Fuse.
  3. Staying well away from all of the inflator modules, turn the ignition switch to ON.

Is DTC B1147 current?

--

Go to Sensing and Diagnostic Module Integrity Check

Go to SIR Diagnostic System Check

41

Reconnect all the SIR System components. Make sure all the components are properly mounted.

Have all the SIR System components been properly mounted?

--

Go to SIR Diagnostic System Check

--